TOP
|
特許
|
意匠
|
商標
特許ウォッチ
Twitter
他の特許を見る
公開番号
2025156633
公報種別
公開特許公報(A)
公開日
2025-10-14
出願番号
2025135290,2022180809
出願日
2025-08-15,2021-06-26
発明の名称
プログラム及び情報処理装置
出願人
株式会社セガ
代理人
個人
主分類
A63F
13/85 20140101AFI20251002BHJP(スポーツ;ゲーム;娯楽)
要約
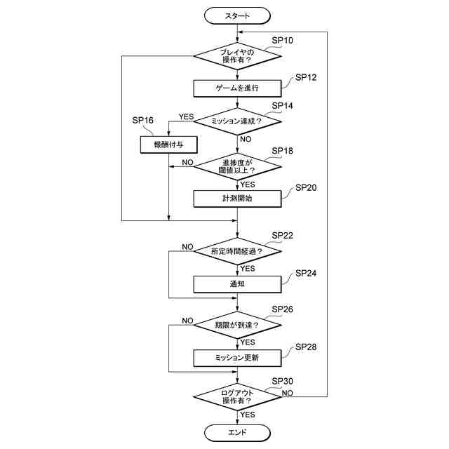
【課題】プレイヤの利便性が向上することができるとともに、プレイヤのゲームのプレイ意欲が低下することを抑制することができる。
【解決手段】コンピュータを、達成期限が定められたミッションが設定されているゲームを進行する進行手段52、プレイヤについてミッションが達成されておらず、且つ、プレイヤによるミッションの進捗度について所定条件が成立したか否かを判定する第一判定手段54、第一判定手段54の判定結果に基づいて、プレイヤについてゲームに関するゲーム条件が成立したか否かを判定する第二判定手段56、及び、第二判定手段56の判定結果に基づいて、ミッションが未達成であることを対応するプレイヤに通知する通知手段58、として機能させる。
【選択図】図3
特許請求の範囲
【請求項1】
コンピュータを、
プレイヤの操作に基づき、達成期限が定められたミッションが設定されているゲームを進行する進行手段、
前記達成期限が到達する前において、前記プレイヤについて前記ミッションが達成されておらず、且つ、当該プレイヤによる当該ミッションの進捗度について所定条件が成立したか否かを判定する第一判定手段、
前記第一判定手段の判定結果に基づいて、前記所定条件と異なるゲーム条件であって、前記プレイヤについて前記ゲームに関するゲーム条件が成立したか否かを判定する第二判定手段、及び、
前記第二判定手段の判定結果に基づいて、前記ミッションが未達成であることを対応するプレイヤに通知する通知手段、
として機能させるためのプログラム。
続きを表示(約 710 文字)
【請求項2】
前記ゲーム条件は、前記プレイヤが前記ゲームにログイン又は前記ゲームからログアウトしてから所定時間が経過したという条件を含む、
請求項1に記載のプログラム。
【請求項3】
前記ゲーム条件は、前記ミッションに関連するゲーム行動を前記プレイヤが行ったときから所定時間が経過したという条件を含む、
請求項1に記載のプログラム。
【請求項4】
前記コンピュータを、
前記プレイヤの操作に基づいて前記閾値を設定する設定手段、
として機能させる請求項1乃至3の何れか1項に記載のプログラム。
【請求項5】
前記コンピュータを、
前記進捗度に応じて前記ゲーム条件を変更する変更手段、
として機能させる請求項1乃至4の何れか1項に記載のプログラム。
【請求項6】
プレイヤの操作に基づき、達成期限が定められたミッションが設定されているゲームを進行する進行手段と、
前記達成期限が到達する前において、前記プレイヤについて前記ミッションが達成されておらず、且つ、当該プレイヤによる当該ミッションの進捗度について所定条件が成立したか否かを判定する第一判定手段と、
前記第一判定手段の判定結果に基づいて、前記所定条件と異なるゲーム条件であって、前記プレイヤについて前記ゲームに関するゲーム条件が成立したか否かを判定する第二判定手段と、
前記第二判定手段の判定結果に基づいて、前記ミッションが未達成であることを対応するプレイヤに通知する通知手段と、
を備える情報処理装置。
発明の詳細な説明
【技術分野】
【0001】
本発明は、プログラム及び情報処理装置に関する。
続きを表示(約 1,300 文字)
【背景技術】
【0002】
従来から、プレイヤの操作に基づき、達成期限が定められたミッションが設定されているゲームを進行するゲームプログラムが知られている。
【0003】
ここで、特許文献1には、ゲームに関するイベントをプレイヤのスケジュールに登録し、当該スケジュールに基づいてプレイヤの端末にアラーム(通知)を出力する技術が開示されている。
【先行技術文献】
【特許文献】
【0004】
特許第5716114号公報
【発明の概要】
【発明が解決しようとする課題】
【0005】
このような技術を、達成期限が定められているミッションに適用すると、プレイヤに対してミッション及びその達成を忘れてしまうことを抑制でき、プレイヤの利便性が向上することが想定される。しかしながら、このようなミッションはゲームに複数設定されていたり、達成期限が過ぎるとまた新たなミッションが設定されたりと、増大していく傾向にあり、その分だけプレイヤに対する通知回数が多くなってしまう。この結果、通知によるプレイヤの利便性が向上することよりも、通知による煩わしさが勝ってしまい、プレイヤのゲームのプレイ意欲が低下してしまうことが考えられる。
【0006】
そこで、本発明はこのような課題に鑑みてなされたものであり、その目的は、プレイヤの利便性が向上することができるとともに、プレイヤのゲームのプレイ意欲が低下することを抑制することができるプログラム及び情報処理装置を提供することにある。
【課題を解決するための手段】
【0007】
上記課題を解決するために、本発明の第一態様に係るプログラムは、コンピュータを、プレイヤの操作に基づき、達成期限が定められたミッションが設定されているゲームを進行する進行手段として機能させる。
そして、当該プログラムは、コンピュータを、前記達成期限が到達する前において、前記プレイヤについて前記ミッションが達成されておらず、且つ、当該プレイヤによる当該ミッションの進捗度について所定条件が成立したか否かを判定する第一判定手段、前記第一判定手段の判定結果に基づいて、前記所定条件と異なるゲーム条件であって、前記プレイヤについて前記ゲームに関するゲーム条件が成立したか否かを判定する第二判定手段、及び、前記第二判定手段の判定結果に基づいて、前記ミッションが未達成であることを対応するプレイヤに通知する通知手段、として機能させる。
【0008】
また、本発明の第二態様に係るプログラムでは、前記ゲーム条件は、前記プレイヤが前記ゲームにログイン又は前記ゲームからログアウトしてから所定時間が経過したという条件を含む。
【0009】
また、本発明の第三態様に係るプログラムでは、前記ゲーム条件は、前記ミッションに関連するゲーム行動を前記プレイヤが行ったときから所定時間が経過したという条件を含む。
【0010】
また、本発明の第四態様に係るプログラムでは、前記コンピュータを、前記プレイヤの操作に基づいて前記閾値を設定する設定手段、として機能させる。
(【0011】以降は省略されています)
この特許をJ-PlatPat(特許庁公式サイト)で参照する
関連特許
株式会社セガフェイブ
通信端末
1か月前
株式会社セガ
写真シール作成機
1か月前
株式会社セガ
写真シール作成機
1か月前
株式会社セガ
写真シール作成機
1か月前
株式会社セガフェイブ
装身具及びカチューシャ
14日前
株式会社セガフェイブ
通信端末及び通信システム
1か月前
株式会社セガ
プログラム及び情報処理装置
24日前
株式会社セガ
プログラム及び情報処理装置
13日前
株式会社セガ
プログラム及び情報処理装置
20日前
株式会社セガ
プログラム及び情報処理装置
13日前
株式会社セガ
プログラム及び情報処理装置
13日前
株式会社セガ
プログラム及び情報処理装置
24日前
株式会社セガ
プログラム及び情報処理装置
13日前
株式会社セガ
プログラム及び情報処理装置
1か月前
株式会社セガ
プログラム、及び、情報処理装置
13日前
株式会社セガ
プログラム、及び、情報処理装置
13日前
株式会社セガ
プログラム、及び、情報処理装置
13日前
株式会社セガ
店舗管理システム、管理者端末、及び作業者端末
16日前
株式会社セガ
商品販売装置
1か月前
株式会社セガ
画像処理装置
23日前
株式会社セガ
メダルゲーム機
20日前
株式会社セガ
遊戯画像撮影装置
1か月前
株式会社セガ
景品取得ゲーム装置
1日前
株式会社セガ
景品取得ゲーム装置
1日前
株式会社セガ
プログラム及び情報処理装置
1か月前
株式会社セガ
プログラム及び情報処理装置
22日前
株式会社セガ
プログラム及び情報処理装置
16日前
株式会社セガ
プログラム及び情報処理装置
9日前
株式会社セガ
プログラム及び情報処理装置
9日前
株式会社セガ
プログラム及び情報処理装置
9日前
株式会社セガ
プログラム及び情報処理装置
1か月前
株式会社セガ
プログラム及び情報処理装置
6日前
株式会社セガ
プログラム、及び、情報処理装置
9日前
株式会社ダーツライブ
投擲ゲーム装置、情報処理装置、情報処理方法、及びプログラム
27日前
株式会社セガ
プログラム、情報処理装置、及び情報処理方法
1か月前
個人
玩具
4か月前
続きを見る
他の特許を見る