TOP
|
特許
|
意匠
|
商標
特許ウォッチ
Twitter
他の特許を見る
10個以上の画像は省略されています。
公開番号
2025142259
公報種別
公開特許公報(A)
公開日
2025-09-30
出願番号
2025124201,2021142343
出願日
2025-07-24,2021-09-01
発明の名称
画像処理装置
出願人
株式会社セガ
代理人
弁理士法人インターブレイン
主分類
H04N
23/60 20230101AFI20250919BHJP(電気通信技術)
要約
【課題】画像処理でキャッチライトに似た効果を楽しめる編集技術を提供できる。
【解決手段】画像処理装置は、ユーザを撮影する撮影部と、撮影画像に含まれる人物の黒目領域を検出する検出部と、撮影画像の黒目領域の一部に、黒目中の反射を表現した装飾画像を重ねる加工を施す加工部と、加工が施された画像を出力する出力部と、複数種類の装飾画像の候補の中から、ユーザが適用させたい装飾画像を選択する第1ユーザ操作と、装飾画像を移動させる第2ユーザ操作とを受け付ける受付部と、を備え、出力部は、第2ユーザ操作を受け付けるための拡大画像を表示し、加工部は、第2ユーザ操作に応じて、黒目領域内で装飾画像の位置を変更する。
【選択図】図8
特許請求の範囲
【請求項1】
ユーザを撮影する撮影部と、
撮影画像に含まれる人物の黒目領域を検出する検出部と、
前記撮影画像の前記黒目領域の一部に、黒目中の反射を表現した装飾画像を重ねる加工を施す加工部と、
前記加工が施された画像を出力する出力部と、
複数種類の装飾画像の候補の中から、前記ユーザが適用させたい前記装飾画像を選択する第1ユーザ操作と、前記装飾画像を移動させる第2ユーザ操作とを受け付ける受付部と、を備え、
前記出力部は、前記第2ユーザ操作を受け付けるための拡大画像を表示し、
前記加工部は、前記第2ユーザ操作に応じて、前記黒目領域内で前記装飾画像の位置を変更する画像処理装置。
続きを表示(約 270 文字)
【請求項2】
前記加工部は、前記人物の片目に対してのみ前記装飾画像を重ね、または前記人物の左右の目で異なる前記装飾画像を重ねることを特徴とする請求項1に記載の画像処理装置。
【請求項3】
前記加工部は、前記ユーザに関連して設定されているユーザ情報に応じた前記装飾画像を用いることを特徴とする請求項1に記載の画像処理装置。
【請求項4】
前記加工部は、前記画像処理装置における演出の基調としてユーザが選択した演出モードに応じた前記装飾画像を用いることを特徴とする請求項1に記載の画像処理装置。
発明の詳細な説明
【技術分野】
【0001】
本発明は、撮影画像の画像処理、特に、目の装飾技術に関する。
続きを表示(約 1,600 文字)
【背景技術】
【0002】
プリクラ(登録商標)とよばれる遊戯画像撮影装置は、女子高校生を中心として根強い人気を誇る。ユーザは、自らを撮影し、編集用のディスプレイにて撮影画像にさまざまな装飾を施す。装飾後の画像はシール台紙に印刷される(特許文献1,2参照)。
【先行技術文献】
【特許文献】
【0003】
特開2004-32213号公報
特開2016-184287号公報
【発明の概要】
【発明が解決しようとする課題】
【0004】
遊戯画像撮影装置は、落書き機能によって、ユーザの撮影画像に思い思いの加工を施して楽しむことができる。落書き機能では、ユーザの顔にメイクを施すこともできる。たとえば、唇にリップを付ける加工では、化粧をしている感覚を味わえる。
【0005】
落書き機能では、定番の加工が普及しているものの、慣れてしまっている面もある。撮影スタジオなど専用設備がある撮影現場では、キャッチライトという照明器具を使って、瞳の中に反射形状を写し込むことが行われている。女子高生を中心とする遊戯画像撮影装置のユーザ層では、自分の目に印象を高めたいという要求が強い。
【0006】
本発明は、本発明者らによる上記課題認識に基づいて完成された発明であり、その主たる目的は、画像処理でキャッチライトに似た効果を楽しめる編集技術、を提供することにある。
【課題を解決するための手段】
【0007】
本発明のある態様における画像処理装置は、ユーザを撮影する撮影部と、撮影画像に含まれる人物の黒目領域を検出する検出部と、撮影画像の黒目領域の一部に、黒目中の反射を表現した装飾画像を重ねる加工を施す加工部と、加工が施された画像を出力する出力部と、複数種類の装飾画像の候補の中から、ユーザが適用させたい装飾画像を選択する第1ユーザ操作と、装飾画像を移動させる第2ユーザ操作とを受け付ける受付部と、を備え、出力部は、第2ユーザ操作を受け付けるための拡大画像を表示し、加工部は、第2ユーザ操作に応じて、黒目領域内で装飾画像の位置を変更する。
【発明の効果】
【0008】
本発明によれば、画像処理でキャッチライトに似た効果を楽しめる編集技術を提供できる。
【図面の簡単な説明】
【0009】
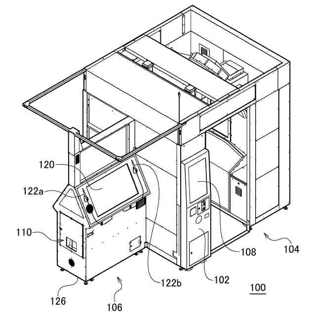
遊戯画像撮影システムの全体構成図である。
遊戯画像撮影装置の外観斜視図である。
撮影ブースの外観斜視図である。
遊戯画像撮影装置におけるプレイの流れを示すフローチャートである。
遊戯画像撮影装置を上から見た平面図である。
遊戯画像撮影装置の機能ブロック図である。
編集画面の画面図である。
キャッチライトの装飾選択領域を示す図である。
キャッチライトに関わる機能ブロック図である。
キャッチライトの処理過程を示すフローチャート図である。
【発明を実施するための形態】
【0010】
本実施形態における遊戯画像撮影装置は、撮影ブース(撮影空間)と編集ブース(編集空間)を備える。ユーザは撮影ブースにて自らを撮影する。以下、撮影ブースにおいて被写体(ユーザ)を撮影した画像のことを「撮影画像」とよぶ。遊戯画像撮影装置は、撮影ブースにおいて肌の美白化、髪のつや出しなどの画像修正を撮影画像に施す(以下、このような画像修正を「事前修正」とよぶ)。本実施形態における遊戯画像撮影装置は、撮影ブースにおいて静止画像だけでなく動画像も撮影する。撮影画像のうち、動画像として取得されるものを「撮影動画像」、静止画像として取得されるものを「撮影静止画像」とよぶ。本実施形態においては、最大7セットの撮影画像(撮影動画像と撮影静止画像のセット)が取得される。
(【0011】以降は省略されています)
特許ウォッチbot のツイートを見る
この特許をJ-PlatPat(特許庁公式サイト)で参照する
関連特許
株式会社セガフェイブ
通信端末
2か月前
株式会社セガ
写真シール作成機
3か月前
株式会社セガ
写真シール作成機
3か月前
株式会社セガ
写真シール作成機
3か月前
株式会社セガ
景品取得ゲーム装置
1か月前
株式会社セガ
景品取得ゲーム装置
19日前
株式会社セガフェイブ
装身具及びカチューシャ
2か月前
株式会社セガフェイブ
通信端末及び通信システム
2か月前
株式会社セガ
プログラム及び情報処理装置
2か月前
株式会社セガ
プログラム及び情報処理装置
2か月前
株式会社セガ
プログラム及び情報処理装置
2か月前
株式会社セガ
プログラム及び情報処理装置
2か月前
株式会社セガ
プログラム及び情報処理装置
2か月前
株式会社セガ
プログラム及び情報処理装置
2か月前
株式会社セガ
プログラム及び情報処理装置
2か月前
株式会社セガ
プログラム及び情報処理装置
1か月前
株式会社セガ
プログラム及び情報処理装置
3か月前
株式会社セガ
プログラム及び情報処理装置
今日
株式会社セガ
プログラム及び情報処理装置
今日
株式会社セガ
プログラム、及び、情報処理装置
2か月前
株式会社セガ
プログラム、及び、情報処理装置
2か月前
株式会社セガ
プログラム、及び、情報処理装置
2か月前
株式会社セガ
店舗管理システム、管理者端末、及び作業者端末
2か月前
株式会社セガ
情報処理装置
1か月前
株式会社セガ
情報処理装置
1か月前
株式会社セガ
情報処理装置
1か月前
株式会社セガ
画像処理装置
2か月前
株式会社セガ
商品販売装置
3か月前
株式会社セガ
メダルゲーム機
2か月前
株式会社セガ
フィギュア玩具
3か月前
株式会社セガ
遊戯画像撮影装置
2か月前
株式会社セガ
景品取得ゲーム装置
1か月前
株式会社セガ
景品取得ゲーム装置
1か月前
株式会社セガ
プログラム及び記録媒体
3か月前
株式会社セガ
プログラム及び情報処理装置
今日
株式会社セガ
プログラム及び情報処理装置
1か月前
続きを見る
他の特許を見る