TOP
|
特許
|
意匠
|
商標
特許ウォッチ
Twitter
他の特許を見る
公開番号
2025137559
公報種別
公開特許公報(A)
公開日
2025-09-19
出願番号
2025115492,2022139755
出願日
2025-07-09,2021-02-22
発明の名称
プログラム及び情報処理装置
出願人
株式会社セガ
代理人
個人
主分類
A63F
13/216 20140101AFI20250911BHJP(スポーツ;ゲーム;娯楽)
要約
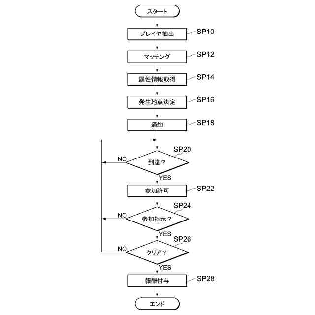
【課題】各プレイヤのプレイ環境を向上させ、かつ、周囲に迷惑をかけることを抑制する。
【解決手段】プログラムがコンピュータを、各プレイヤの現在位置を取得する取得手段52、プレイヤに対応する共通イベントの発生地点を決定する決定手段54、プレイヤの現在位置が当該プレイヤに対応する発生地点に到達した場合、当該プレイヤに対して共通イベントへの参加を許可する制御手段56、として機能させ、決定手段54は、一のプレイヤに対応する第一発生地点と、他のプレイヤに対応する第二発生地点とを異ならせる。
【選択図】図4
特許請求の範囲
【請求項1】
各プレイヤが共通して参加可能な共通イベントを実行するプログラムであって、
コンピュータを、
各プレイヤの現在位置を取得する取得手段、
前記プレイヤに対応する前記共通イベントの発生地点を決定する決定手段、
前記プレイヤの現在位置が当該プレイヤに対応する発生地点に到達した場合、当該プレイヤに対して前記共通イベントへの参加を許可する制御手段、
として機能させ、
前記決定手段は、前記発生地点として、一のプレイヤに対応する第一発生地点と、他のプレイヤに対応する第二発生地点とを異ならせる、
プログラム。
続きを表示(約 930 文字)
【請求項2】
前記決定手段は、プレイヤの属性情報毎に、前記発生地点を異ならせる、
請求項1に記載のプログラム。
【請求項3】
前記属性情報は、プレイヤの年齢であって、
前記決定手段は、各プレイヤの年齢に応じて、前記発生地点を異ならせる、
請求項2に記載のプログラム。
【請求項4】
前記属性情報は、前記共通イベントの発生地点が別のプレイヤと同一の発生地点となることを許容するか否かを示す許容情報であって、
前記決定手段は、前記プレイヤの許容情報に応じて、前記発生地点を異ならせる、
請求項2又は3に記載のプログラム。
【請求項5】
前記許容情報は、前記プレイヤの設定操作によって設定される、
請求項4に記載のプログラム。
【請求項6】
前記許容情報は、前記プレイヤの行動履歴に応じて設定される、
請求項4に記載のプログラム。
【請求項7】
前記決定手段は、前記他のプレイヤに対応する第二発生地点を、前記一のプレイヤの現在位置から所定距離を超える地点に決定する、
請求項1乃至6の何れか1項に記載のプログラム。
【請求項8】
前記決定手段は、前記他のプレイヤに対応する第二発生地点を、前記一のプレイヤが実行しているクエストの目的地から所定距離を超える地点に決定する、
請求項1乃至6の何れか1項に記載のプログラム。
【請求項9】
前記制御手段は、前記一のプレイヤと前記他のプレイヤが一定距離よりも接近している場合、少なくとも一方のプレイヤに対して報知を行う、
請求項1乃至8の何れか1項に記載のプログラム。
【請求項10】
前記決定手段は、前記第一発生地点と、前記第二発生地点とを、所定領域内に決定し、
前記制御手段は、前記一のプレイヤの現在位置を前記他のプレイヤに通知するとともに、当該他のプレイヤの現在位置を当該一のプレイヤに通知する、
請求項1乃至9の何れか1項に記載のプログラム。
(【請求項11】以降は省略されています)
発明の詳細な説明
【技術分野】
【0001】
本発明は、プログラム及び情報処理装置に関する。
続きを表示(約 1,200 文字)
【背景技術】
【0002】
従来から、複数のプレイヤが参加可能な共通イベント(例えば、敵キャラクタとの対戦イベント)を発生させる位置情報ゲームが知られている。
【0003】
これに関して、特許文献1には、所定人数のプレイヤの位置情報が所定範囲内に密集している場合、プレイヤの集団に目掛けて敵キャラクタ(レイドボス)を移動するように制御する技術が開示されている。
【先行技術文献】
【特許文献】
【0004】
特許第6090495号公報
【発明の概要】
【発明が解決しようとする課題】
【0005】
しかしながら、特許文献1に記載の技術では、複数のプレイヤが密集することによってイベントのプレイが有利になる一方で、当該密集によって、各プレイヤが混雑している中でプレイしなければならなかったり、ゲームをプレイしていない通行者などの周囲に迷惑をかけてしまったりするという問題があった。
【0006】
本発明はこのような課題に鑑みてなされたものであり、その目的は、各プレイヤのプレイ環境を向上させ、かつ、周囲に迷惑をかけることを抑制することができるプログラム及び情報処理装置を提供することにある。
【課題を解決するための手段】
【0007】
上記課題を解決するために、本発明の第一態様に係るプログラムは、各プレイヤが共通して参加可能な共通イベントを実行するプログラムであって、コンピュータを、各プレイヤの現在位置を取得する取得手段、前記プレイヤに対応する前記共通イベントの発生地点を決定する決定手段、前記プレイヤの現在位置が当該プレイヤに対応する発生地点に到達した場合、当該プレイヤに対して前記共通イベントへの参加を許可する制御手段、として機能させ、前記決定手段は、前記発生地点として、一のプレイヤに対応する第一発生地点と、他のプレイヤに対応する第二発生地点とを異ならせる。
なお、上記「前記プレイヤの現在位置が当該プレイヤに対応する発生地点に到達した場合」とは、前記プレイヤの現在位置が当該プレイヤに対応する発生地点を含む所定範囲に到達した場合も含んでもよい。
【0008】
また、本発明の第二態様では、前記決定手段は、プレイヤの属性情報毎に、前記発生地点を異ならせる。
【0009】
また、本発明の第三態様では、前記属性情報は、プレイヤの年齢であって、前記決定手段は、各プレイヤの年齢に応じて、前記発生地点を異ならせる。
【0010】
また、本発明の第四態様では、前記属性情報は、前記共通イベントの発生地点が別のプレイヤと同一の発生地点となることを許容するか否かを示す許容情報であって、前記決定手段は、前記プレイヤの許容情報に応じて、前記発生地点を異ならせる。
(【0011】以降は省略されています)
この特許をJ-PlatPat(特許庁公式サイト)で参照する
関連特許
株式会社セガフェイブ
走行玩具
2か月前
株式会社セガフェイブ
通信端末
1か月前
株式会社セガ
フィギュア玩具
2か月前
株式会社セガ
写真シール作成機
1か月前
株式会社セガ
遊戯画像撮影装置
2か月前
株式会社セガ
写真シール作成機
1か月前
株式会社セガ
写真シール作成機
1か月前
株式会社セガフェイブ
装身具及びカチューシャ
26日前
株式会社セガフェイブ
通信端末及び通信システム
1か月前
株式会社セガ
プログラム及び情報処理装置
25日前
株式会社セガ
プログラム及び情報処理装置
3か月前
株式会社セガ
プログラム及び情報処理装置
2か月前
株式会社セガ
プログラム及び情報処理装置
2か月前
株式会社セガ
プログラム及び情報処理装置
1か月前
株式会社セガ
プログラム及び情報処理装置
1か月前
株式会社セガ
プログラム及び情報処理装置
1か月前
株式会社セガ
プログラム及び情報処理装置
3か月前
株式会社セガ
プログラム及び情報処理装置
25日前
株式会社セガ
プログラム及び情報処理装置
25日前
株式会社セガ
プログラム及び情報処理装置
25日前
株式会社セガ
サーバ装置及びゲームシステム
3か月前
株式会社セガ
プログラム、及び、情報処理装置
25日前
株式会社セガ
プログラム、及び、情報処理装置
25日前
株式会社セガ
プログラム、及び、情報処理装置
25日前
株式会社セガ
店舗管理システム、管理者端末、及び作業者端末
28日前
株式会社セガ
サーバ装置、プログラム、及び、ゲームシステム
2か月前
株式会社セガ
画像処理装置
1か月前
株式会社セガ
情報処理装置
11日前
株式会社セガ
情報処理装置
11日前
株式会社セガ
情報処理装置
11日前
株式会社セガ
商品販売装置
2か月前
株式会社セガ
メダルゲーム機
1か月前
株式会社セガ
フィギュア玩具
2か月前
株式会社セガ
遊戯画像撮影装置
1か月前
株式会社セガ
景品取得ゲーム装置
13日前
株式会社セガ
景品取得ゲーム装置
13日前
続きを見る
他の特許を見る