TOP
|
特許
|
意匠
|
商標
特許ウォッチ
Twitter
他の特許を見る
公開番号
2025134530
公報種別
公開特許公報(A)
公開日
2025-09-17
出願番号
2024032502
出願日
2024-03-04
発明の名称
通信端末
出願人
株式会社セガフェイブ
代理人
個人
主分類
A63F
13/31 20140101AFI20250909BHJP(スポーツ;ゲーム;娯楽)
要約
【課題】ユーザ同士で通信を介してコミュニケーションを取るに際して、低年齢層のユーザ等にとって安全性及び利便性が高い通信端末を提供する。
【解決手段】他の通信端末と端子接続することで、互いの識別情報を送受信する接続通信部23と、互いの識別情報を送受信した他の通信端末と、無線通信によって画像情報を送受信する無線通信部(端末ネットワーク通信部26及び直接通信部27)と、無線通信部が他の通信端末から受信した画像情報を表示する表示制御部22と、を備える。
【選択図】図5
特許請求の範囲
【請求項1】
他の通信端末と端子接続することで、互いの識別情報を送受信する接続通信部と、
互いの前記識別情報を送受信した前記他の通信端末と、無線通信によって画像情報を送受信する無線通信部と、
前記無線通信部が前記他の通信端末から受信した前記画像情報を表示する表示制御部と、
を備える通信端末。
続きを表示(約 550 文字)
【請求項2】
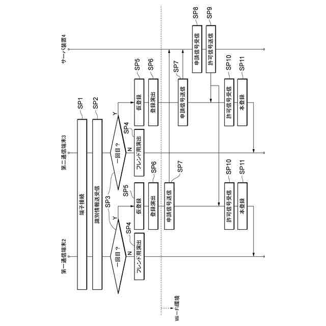
前記接続通信部により前記識別情報を送受信した際に、前記他の通信端末と前記識別情報の送受信を行ったのが一回目であるか否かを判定する登録判定部と、
前記登録判定部の判定結果が肯定判定の場合、演出を設定する登録演出部と、
を更に備える請求項1に記載の通信端末。
【請求項3】
前記画像情報の送受信が行われる度に第一積算値を積算する第一積算部と、
前記登録判定部の判定結果が否定判定の場合、前記第一積算値に応じて演出を設定するフレンド演出部と、
を更に備える請求項2に記載の通信端末。
【請求項4】
前記表示制御部は、前記無線通信部によって受信した複数の前記画像情報を同時に表示する、
請求項1に記載の通信端末。
【請求項5】
ユーザに対して画像情報の入出力を行うAIボットを実行するAIボット実行部を更に備える、
請求項1から4のいずれか1項に記載の通信端末。
【請求項6】
前記入出力が行われる度に第二積算値を積算する第二積算部を更に備え、
前記AIボット実行部は、前記第二積算値に応じて出力する前記画像情報を決定する、
請求項5に記載の通信端末。
発明の詳細な説明
【技術分野】
【0001】
本発明は、通信端末に関する。
続きを表示(約 1,100 文字)
【背景技術】
【0002】
従来の通信端末(例えば下記特許文献1参照)は、インターネットを利用したSNS(ソーシャルネットワークサービス)等によって、見ず知らずのユーザ同士であってもコミュニケーションを取ることができる仕様になっている。
【先行技術文献】
【特許文献】
【0003】
特許7176066号公報
【発明の概要】
【発明が解決しようとする課題】
【0004】
しかしながら、例えば小学校低学年あたりの所謂低年齢層のユーザは、従来の通信端末を用いて見ず知らずの他人と繋がることにより安全性が損なわれる虞がある。また、低年齢層のユーザにとっては、従来の通信端末を用いたコミュニケーションにおいて、文字情報を入力操作したり読み取ったりすることが煩わしい場合がある。
【0005】
以上のことから、従来の通信端末は、低年齢層のユーザにとって安全性及び利便性が低いものとなっている。
【0006】
上述の問題に鑑み、本発明は、ユーザ同士で通信を介してコミュニケーションを取るに際して、低年齢層のユーザにとって安全性及び利便性が高い通信端末及び通信システムを提供することを目的とする。
【課題を解決するための手段】
【0007】
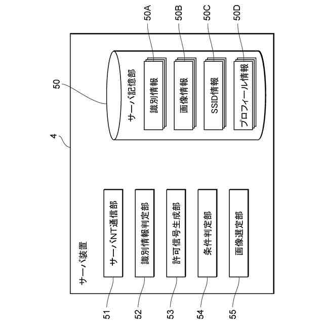
上記課題を解決するために、本発明の第一態様に係る通信端末は、他の通信端末と端子接続することで、互いの識別情報を送受信する接続通信部と、互いの前記識別情報を送受信した前記他の通信端末と、無線通信によって画像情報を送受信する無線通信部と、前記無線通信部が前記他の通信端末から受信した前記画像情報を表示する表示制御部と、を備える。
【0008】
また、本発明の第二態様では、前記接続通信部により前記識別情報を送受信した際に、前記他の通信端末と前記識別情報の送受信を行ったのが一回目であるか否かを判定する登録判定部と、前記登録判定部の判定結果が肯定判定の場合、演出を設定する登録演出部と、を更に備える。
【0009】
また、本発明の第三態様では、前記画像情報の送受信が行われる度に第一積算値を積算する第一積算部と、前記登録判定部の判定結果が否定判定の場合、前記第一積算値に応じて演出を設定するフレンド演出部と、を更に備える。
【0010】
また、本発明の第四態様では、前記表示制御部は、前記無線通信部によって受信した複数の前記画像情報を同時に表示する。
(【0011】以降は省略されています)
特許ウォッチbot のツイートを見る
この特許をJ-PlatPat(特許庁公式サイト)で参照する
関連特許
株式会社セガフェイブ
通信端末
20日前
個人
玩具
3か月前
個人
玩具
25日前
個人
自走玩具
18日前
個人
玩具
8か月前
個人
ゲーム玩具
4か月前
個人
盤上遊戯具
8か月前
個人
フィギュア
8か月前
個人
運動補助具
2か月前
株式会社三共
遊技機
3か月前
株式会社三共
遊技機
3か月前
株式会社三共
遊技機
6か月前
株式会社三共
遊技機
6か月前
株式会社三共
遊技機
3か月前
株式会社三共
遊技機
3か月前
株式会社三共
遊技機
6か月前
株式会社三共
遊技機
3か月前
株式会社三共
遊技機
3か月前
株式会社三共
遊技機
3か月前
株式会社三共
遊技機
3か月前
株式会社三共
遊技機
6か月前
株式会社三共
遊技機
3か月前
株式会社三共
遊技機
6か月前
株式会社三共
遊技機
6か月前
株式会社三共
遊技機
6か月前
株式会社三共
遊技機
6か月前
株式会社三共
遊技機
6か月前
株式会社三共
遊技機
6か月前
株式会社三共
遊技機
6か月前
株式会社三共
遊技機
6か月前
株式会社三共
遊技機
6か月前
株式会社三共
遊技機
6か月前
株式会社三共
遊技機
6か月前
株式会社三共
遊技機
6か月前
株式会社三共
遊技機
6か月前
株式会社三共
遊技機
3か月前
続きを見る
他の特許を見る