TOP
|
特許
|
意匠
|
商標
特許ウォッチ
Twitter
他の特許を見る
10個以上の画像は省略されています。
公開番号
2025115509
公報種別
公開特許公報(A)
公開日
2025-08-07
出願番号
2024009989
出願日
2024-01-26
発明の名称
サーバ装置、プログラム、及び、ゲームシステム
出願人
株式会社セガ
代理人
個人
主分類
A63F
13/69 20140101AFI20250731BHJP(スポーツ;ゲーム;娯楽)
要約
【課題】プレイヤの不満を抑制する。
【解決手段】店舗内でゲームが実行可能で且つプレイヤによる価値媒体の支払いを受け付け可能なアーケードゲーム装置と通信するサーバ装置が、ゲームのログイン処理を実行するログイン手段62と、ログイン処理がされたことを条件に蓄積値を蓄積するとともに、価値媒体が支払われたことを条件に蓄積値又は蓄積値とは異なる値を蓄積する蓄積手段64と、蓄積手段64の蓄積結果に基づき、プレイヤに報酬を付与する付与手段66と、を備える。
【選択図】図4
特許請求の範囲
【請求項1】
店舗内でゲームが実行可能で且つプレイヤによる価値媒体の支払いを受け付け可能なアーケードゲーム装置と通信するサーバ装置であって、
前記ゲームのログイン処理を実行するログイン手段と、
前記ログイン処理がされたことを条件に蓄積値を蓄積するとともに、前記価値媒体が支払われたことを条件に前記蓄積値又は前記蓄積値とは異なる値を蓄積する蓄積手段と、
前記蓄積手段の蓄積結果に基づき、前記プレイヤに報酬を付与する付与手段と、
を備えるサーバ装置。
続きを表示(約 1,100 文字)
【請求項2】
前記蓄積手段は、前記ログイン処理がされたことを条件に蓄積する場合、所定期間毎に所定回数のログイン処理に対してのみ蓄積する、
請求項1に記載のサーバ装置。
【請求項3】
前記蓄積手段は、前記価値媒体が支払われたことを条件に蓄積する場合、前記所定期間及び前記所定回数に係らず蓄積する、
請求項2に記載のサーバ装置。
【請求項4】
前記蓄積手段は、前記ゲームに利用可能な遊戯媒体を前記プレイヤに貸出する場合に前記価値媒体が支払われたことを条件に蓄積する、
請求項1に記載のサーバ装置。
【請求項5】
前記蓄積手段は、前記ゲームをリトライする場合に前記価値媒体が支払われたことを条件に蓄積する、
請求項1に記載のサーバ装置。
【請求項6】
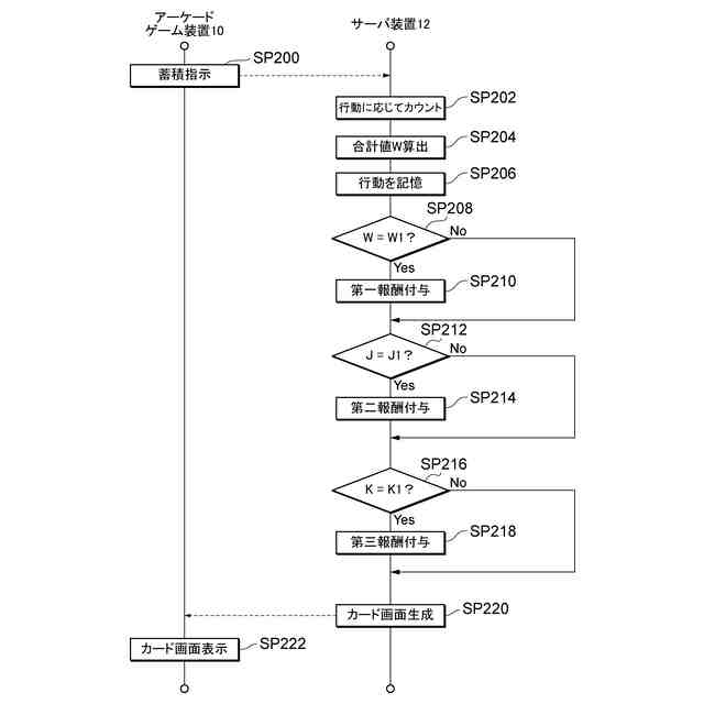
前記蓄積手段は、蓄積の回数毎に、蓄積の起因となった前記プレイヤの行動を対応付けて記憶し、
前記蓄積手段による蓄積結果とともに、前記蓄積の起因となった前記プレイヤの行動を示す識別情報を前記アーケードゲーム装置に対して表示制御する表示制御手段、
を更に備える請求項1に記載のサーバ装置。
【請求項7】
前記識別情報は、前記ログイン処理をしたという行動を示す第一マークと、前記価値媒体を支払ったという行動を示す第二マークと、を含むマークであり、
前記表示制御手段は、前記蓄積手段の蓄積結果が示す数の前記マークが記述されたカードであり、前記蓄積の回数毎に対応付けられた前記行動を示す前記第一マーク又は/及び前記第二マークが記述された当該カードを前記アーケードゲーム装置に対して表示制御する、
請求項5に記載のサーバ装置。
【請求項8】
前記報酬は、抽選により前記プレイヤに対してコンテンツを付与する抽選ゲームを実行する権利を含む、
請求項1に記載のサーバ装置。
【請求項9】
前記抽選ゲームを特別抽選ゲームとしたとき、
前記ゲームでは、前記特別抽選ゲームとは異なる通常抽選ゲームが実行可能であり、
前記特別抽選ゲームで付与されるコンテンツの種類は、前記通常抽選ゲームで付与されるコンテンツの種類とは異なる、
請求項8に記載のサーバ装置。
【請求項10】
前記報酬を特別報酬としたとき、
前記付与手段は、前記蓄積結果と第一閾値とに基づき、前記プレイヤに前記特別報酬とは異なる通常報酬を付与し、且つ、前記蓄積結果と前記第一閾値よりも高い第二閾値とに基づき、前記プレイヤに前記特別報酬を付与する、
請求項9に記載のサーバ装置。
(【請求項11】以降は省略されています)
発明の詳細な説明
【技術分野】
【0001】
本発明は、サーバ装置、プログラム、及び、ゲームシステムに関する。
続きを表示(約 1,300 文字)
【背景技術】
【0002】
従来から、オンラインゲームではゲームへのログインの見返りとして報酬(ボーナス) を1日毎などの所定期間毎に付与するログインボーナスの仕組みが知られている(例えば特許文献1参照) 。
【先行技術文献】
【特許文献】
【0003】
特開2018-20143号公報
【発明の概要】
【発明が解決しようとする課題】
【0004】
しかしながら、店舗に設置されたアーケードゲーム装置では、ログインボーナスの仕組みが設けられていなかった。そこで、本発明者らは、プレイヤに対して店舗への継続的な来店の動機を与えるため、アーケードゲーム装置にログインボーナスの仕組を設けることを検討した。この結果、本発明者らは、アーケードゲーム装置にログインボーナスの仕組を単純に設けても、店舗に行かなければログインボーナスが貰えないため、オンラインゲームのログインボーナスの仕組みと比較して、プレイヤは店舗への来店に手間が掛かってログインボーナスを多く貰えず、プレイヤに不満を与えてしまうという新たな課題を発見した。
【0005】
本発明はこのような課題に鑑みてなされたものであり、その目的は、プレイヤの不満を抑制できるサーバ装置、プログラム、及び、ゲームシステムを提供することにある。
【課題を解決するための手段】
【0006】
上記課題を解決するために、本発明の第一態様に係るサーバ装置は、店舗内でゲームが実行可能で且つプレイヤによる価値媒体の支払いを受け付け可能なアーケードゲーム装置と通信するサーバ装置であって、前記ゲームのログイン処理を実行するログイン手段と、前記ログイン処理がされたことを条件に蓄積値を蓄積するとともに、前記価値媒体が支払われたことを条件に前記蓄積値又は前記蓄積値とは異なる値を蓄積する蓄積手段と、前記蓄積手段の蓄積結果に基づき、前記プレイヤに報酬を付与する付与手段と、を備える。
【0007】
本発明の第二態様に係るサーバ装置では、前記蓄積手段は、前記ログイン処理がされたことを条件に蓄積する場合、所定期間毎に所定回数のログイン処理に対してのみ蓄積する。
【0008】
本発明の第三態様に係るサーバ装置では、前記蓄積手段は、前記価値媒体が支払われたことを条件に蓄積する場合、前記所定期間及び前記所定回数に係らず蓄積する。
【0009】
本発明の第四態様に係るサーバ装置では、前記蓄積手段は、前記ゲームに利用可能な遊戯媒体を前記プレイヤに貸出する場合に前記価値媒体が支払われたことを条件に蓄積し、且つ、前記ゲームをリトライする場合に前記価値媒体が支払われたことを条件に蓄積する。
【0010】
本発明の第五態様に係るサーバ装置では、前記蓄積手段は、蓄積の回数毎に、蓄積の起因となった前記プレイヤの行動を対応付けて記憶し、前記蓄積手段による蓄積結果とともに、前記蓄積の起因となった前記プレイヤの行動を示す識別情報を前記アーケードゲーム装置に対して表示制御する表示制御手段、を更に備える。
(【0011】以降は省略されています)
この特許をJ-PlatPat(特許庁公式サイト)で参照する
関連特許
株式会社セガフェイブ
通信端末
1か月前
株式会社セガフェイブ
走行玩具
2か月前
株式会社セガ
フィギュア玩具
2か月前
株式会社セガ
写真シール作成機
1か月前
株式会社セガ
写真シール作成機
1か月前
株式会社セガ
写真シール作成機
1か月前
株式会社セガ
遊戯画像撮影装置
2か月前
株式会社セガフェイブ
装身具及びカチューシャ
26日前
株式会社セガフェイブ
通信端末及び通信システム
1か月前
株式会社セガ
プログラム及び情報処理装置
1か月前
株式会社セガ
プログラム及び情報処理装置
25日前
株式会社セガ
プログラム及び情報処理装置
1か月前
株式会社セガ
プログラム及び情報処理装置
1か月前
株式会社セガ
プログラム及び情報処理装置
25日前
株式会社セガ
プログラム及び情報処理装置
2か月前
株式会社セガ
プログラム及び情報処理装置
25日前
株式会社セガ
プログラム及び情報処理装置
25日前
株式会社セガ
プログラム及び情報処理装置
2か月前
株式会社セガ
プログラム、及び、情報処理装置
25日前
株式会社セガ
プログラム、及び、情報処理装置
25日前
株式会社セガ
プログラム、及び、情報処理装置
25日前
株式会社セガ
店舗管理システム、管理者端末、及び作業者端末
28日前
株式会社セガ
商品販売装置
2か月前
株式会社セガ
情報処理装置
11日前
株式会社セガ
情報処理装置
11日前
株式会社セガ
情報処理装置
11日前
株式会社セガ
画像処理装置
1か月前
株式会社セガ
メダルゲーム機
1か月前
株式会社セガ
フィギュア玩具
2か月前
株式会社セガ
遊戯画像撮影装置
1か月前
株式会社セガ
景品取得ゲーム装置
13日前
株式会社セガ
景品取得ゲーム装置
13日前
株式会社セガ
プログラム及び記録媒体
2か月前
株式会社セガ
プログラム及び情報処理装置
2か月前
株式会社セガ
情報処理装置及びプログラム
2か月前
株式会社セガ
プログラム及び情報処理装置
2か月前
続きを見る
他の特許を見る