TOP
|
特許
|
意匠
|
商標
特許ウォッチ
Twitter
他の特許を見る
公開番号
2025120290
公報種別
公開特許公報(A)
公開日
2025-08-15
出願番号
2025093834,2022062533
出願日
2025-06-05,2022-04-04
発明の名称
プログラム及び情報処理装置
出願人
株式会社セガ
代理人
個人
主分類
A63F
13/798 20140101AFI20250807BHJP(スポーツ;ゲーム;娯楽)
要約
【課題】プレイヤに誉れを与える。
【解決手段】複数のプレイヤが所属するグループを構成可能なゲームに関するプログラムであって、プレイヤの端末装置12と通信可能なサーバ装置10を、ゲームが実行されている間に、複数のプレイヤの中から評価対象として対象プレイヤを選択する選択手段46、ゲームが実行されている間に、選択手段46により選択された対象プレイヤに対する評価を、対象プレイヤ及び対象プレイヤと同じグループに所属する他のプレイヤの端末装置12に出力する出力手段50、として機能させる。
【選択図】図3
特許請求の範囲
【請求項1】
複数のプレイヤが所属するグループを構成可能なゲームに関するプログラムであって、
前記プレイヤの端末装置と通信可能なコンピュータを、
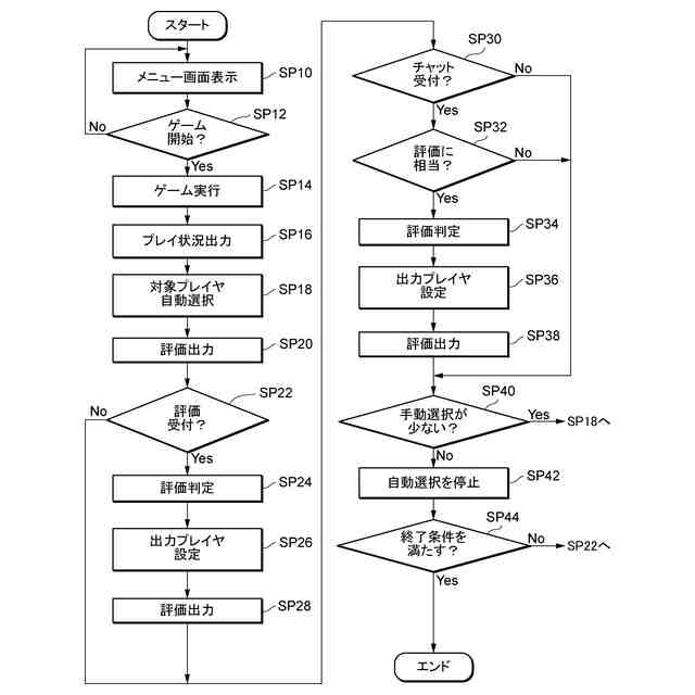
前記ゲームが実行されている間に、前記複数のプレイヤの中から評価対象として対象プレイヤを選択する選択手段、
前記ゲームが実行されている間に、前記選択手段により選択された対象プレイヤに対する評価を、前記対象プレイヤ及び前記対象プレイヤと同じグループに所属する他のプレイヤの前記端末装置に出力する出力手段、
として機能させるためのプログラム。
続きを表示(約 1,100 文字)
【請求項2】
前記選択手段は、前記コンピュータによる自動制御によって前記対象プレイヤを選択する自動選択、及び/又は、プレイヤの操作に応じて前記対象プレイヤを選択する手動選択を実行する、
請求項1に記載のプログラム。
【請求項3】
前記選択手段は、前記ゲームの実行中における前記手動選択に対する前記自動選択の実行比を所定条件に基づき変更する、
請求項2に記載のプログラム。
【請求項4】
前記所定条件は、前記ゲームを開始後の前記手動選択の実行度合いが閾値以下であることであり、
前記選択手段は、前記所定条件を満たす場合に、前記所定条件を満たしていない場合に比して前記実行比を大きくする、
請求項3に記載のプログラム。
【請求項5】
前記所定条件は、前記ゲームを開始後の経過時間に基づく条件であり、
前記選択手段は、前記所定条件を満たす場合に、前記所定条件を満たしていない場合に比して前記実行比を大きくする、
請求項3に記載のプログラム。
【請求項6】
前記出力手段は、前記ゲームの実行中におけるプレイヤのプレイ状況に対応付けて前記評価を前記端末装置に出力する、
請求項1又は2に記載のプログラム。
【請求項7】
前記選択手段は、前記対象プレイヤ及び前記対象プレイヤと同じグループに所属する他のプレイヤのうち、前記出力手段により前記評価を出力するプレイヤとして出力プレイヤを更に設定し、
前記出力手段は、前記選択手段により設定された出力プレイヤの前記端末装置に前記評価を出力する、
請求項1又は2に記載のプログラム。
【請求項8】
前記選択手段は、プレイヤの操作に応じて前記出力プレイヤを設定する、
請求項7に記載のプログラム。
【請求項9】
前記コンピュータを、
前記評価の内容を判定する判定手段として更に機能させ、
前記選択手段は、前記判定手段による判定結果に基づき、前記出力プレイヤを設定する、
請求項7に記載のプログラム。
【請求項10】
前記コンピュータを、
前記ゲームが実行されている間に、プレイヤの操作に応じて、送信先プレイヤに対するチャット情報を受け付ける受付手段と、
前記受付手段により受け付けたチャット情報が評価に相当するか否かを判定する判定手段として更に機能させ、
前記選択手段は、前記判定手段により前記チャット情報が評価に相当すると判定された場合に、前記送信先プレイヤを前記対象プレイヤとして選択する、
請求項1又は2に記載のプログラム。
(【請求項11】以降は省略されています)
発明の詳細な説明
【技術分野】
【0001】
本発明は、プログラム及び情報処理装置に関する。
続きを表示(約 1,100 文字)
【背景技術】
【0002】
従来、複数のプレイヤが所属するグループを構成可能なゲームが知られている。
【0003】
当該ゲームに関し、例えば下記特許文献1には、グループに所属する複数のプレイヤが協力して、当該複数のプレイヤそれぞれに共通する敵キャラクタと対戦する多人数参加型の対戦ゲームが開示されている。また、例えば下記特許文献2には、同一のグループにマッチングされた複数のプレイヤが互いに競い合うゲームが開示されている。
【先行技術文献】
【特許文献】
【0004】
特開2019-122760号公報
特開2020-025772号公報
【発明の概要】
【発明が解決しようとする課題】
【0005】
上記特許文献1又は2に開示のゲームでは、自らが所属するグループに貢献するような行動をプレイヤがとったとしても、当該プレイヤに誉れを与えることができないという問題がある。
【0006】
本発明は、このような課題に鑑みてなされたものであり、プレイヤに誉れを与えることができるプログラム及び情報処理装置を提供することを目的とする。
【課題を解決するための手段】
【0007】
本発明の第一態様に係るプログラムは、複数のプレイヤが所属するグループを構成可能なゲームに関するプログラムであって、前記プレイヤの端末装置と通信可能なコンピュータを、前記ゲームが実行されている間に、前記複数のプレイヤの中から評価対象として対象プレイヤを選択する選択手段、前記ゲームが実行されている間に、前記選択手段により選択された対象プレイヤに対する評価を、前記対象プレイヤ及び前記対象プレイヤと同じグループに所属する他のプレイヤの前記端末装置に出力する出力手段、として機能させる。
【0008】
本発明の第二態様に係るプログラムでは、前記選択手段は、前記コンピュータによる自動制御によって前記対象プレイヤを選択する自動選択、及び/又は、プレイヤの操作に応じて前記対象プレイヤを選択する手動選択を実行する。
【0009】
本発明の第三態様に係るプログラムでは、前記選択手段は、前記ゲームの実行中における前記手動選択に対する前記自動選択の実行比を所定条件に基づき変更する。
【0010】
本発明の第四態様に係るプログラムでは、前記所定条件は、前記ゲームを開始後の前記手動選択の実行度合いが閾値以下であることであり、前記選択手段は、前記所定条件を満たす場合に、前記所定条件を満たしていない場合に比して前記実行比を大きくする。
(【0011】以降は省略されています)
特許ウォッチbot のツイートを見る
この特許をJ-PlatPat(特許庁公式サイト)で参照する
関連特許
株式会社セガフェイブ
走行玩具
2か月前
株式会社セガフェイブ
通信端末
1か月前
株式会社セガ
フィギュア玩具
2か月前
株式会社セガ
写真シール作成機
2か月前
株式会社セガ
遊戯画像撮影装置
2か月前
株式会社セガ
写真シール作成機
2か月前
株式会社セガ
写真シール作成機
2か月前
株式会社セガ
景品取得ゲーム装置
2日前
株式会社セガフェイブ
装身具及びカチューシャ
1か月前
株式会社セガフェイブ
通信端末及び通信システム
1か月前
株式会社セガ
プログラム及び情報処理装置
2か月前
株式会社セガ
プログラム及び情報処理装置
29日前
株式会社セガ
プログラム及び情報処理装置
1か月前
株式会社セガ
プログラム及び情報処理装置
1日前
株式会社セガ
プログラム及び情報処理装置
3か月前
株式会社セガ
プログラム及び情報処理装置
29日前
株式会社セガ
プログラム及び情報処理装置
29日前
株式会社セガ
プログラム及び情報処理装置
29日前
株式会社セガ
プログラム及び情報処理装置
1か月前
株式会社セガ
プログラム及び情報処理装置
3か月前
株式会社セガ
プログラム及び情報処理装置
1か月前
株式会社セガ
プログラム及び情報処理装置
2か月前
株式会社セガ
サーバ装置及びゲームシステム
3か月前
株式会社セガ
プログラム、及び、情報処理装置
29日前
株式会社セガ
プログラム、及び、情報処理装置
29日前
株式会社セガ
プログラム、及び、情報処理装置
29日前
株式会社セガ
サーバ装置、プログラム、及び、ゲームシステム
3か月前
株式会社セガ
店舗管理システム、管理者端末、及び作業者端末
1か月前
株式会社セガ
商品販売装置
2か月前
株式会社セガ
情報処理装置
3か月前
株式会社セガ
画像処理装置
1か月前
株式会社セガ
情報処理装置
15日前
株式会社セガ
情報処理装置
15日前
株式会社セガ
情報処理装置
15日前
株式会社セガ
メダルゲーム機
1か月前
株式会社セガ
フィギュア玩具
2か月前
続きを見る
他の特許を見る