TOP
|
特許
|
意匠
|
商標
特許ウォッチ
Twitter
他の特許を見る
10個以上の画像は省略されています。
公開番号
2025152830
公報種別
公開特許公報(A)
公開日
2025-10-10
出願番号
2024054951
出願日
2024-03-28
発明の名称
プログラム及び情報処理装置
出願人
株式会社セガ
代理人
個人
主分類
G06F
3/0481 20220101AFI20251002BHJP(計算;計数)
要約
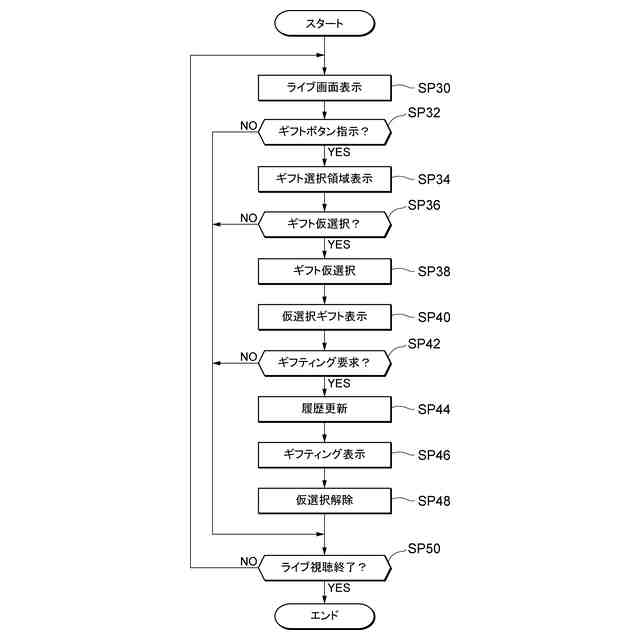
【課題】ユーザ同士によるギフティングのタイミングが重複することを抑制する。
【解決手段】プログラムがコンピュータを、各ユーザが仮選択しているギフトを管理する管理手段52、ギフトを仮選択しているユーザから当該ギフトに対するギフティング要求がされた場合に、当該ギフトを動画に表示させる表示手段54、として機能させ、表示手段54は、ギフトを仮選択しているユーザからギフティング要求がされる前に、当該ユーザに対してギフトを仮選択しているユーザ数に関する統計情報を表示させる。
【選択図】図4
特許請求の範囲
【請求項1】
配信中の動画を視聴する各ユーザが、当該動画にギフトを表示させるギフティングを行うためのプログラムであって、
コンピュータを、
各ユーザが仮選択しているギフトを管理する管理手段、
前記ギフトを仮選択しているユーザから当該ギフトに対するギフティング要求がされた場合に、当該ギフトを前記動画に表示させる表示手段、
として機能させ、
前記表示手段は、前記ギフトを仮選択しているユーザから前記ギフティング要求がされる前に、当該ユーザに対してギフトを仮選択しているユーザ数に関する統計情報を表示させる、
プログラム。
続きを表示(約 990 文字)
【請求項2】
前記管理手段は、前記ギフトを仮選択しているユーザから所定時間に渡って前記ギフティング要求がなかった場合、当該ユーザによる当該ギフトの仮選択を解除する、
請求項1に記載のプログラム。
【請求項3】
前記所定時間は、前記ユーザが仮選択しているギフトの対価が高いほど長い、
請求項2に記載のプログラム。
【請求項4】
前記統計情報は、前記ユーザが仮選択しているギフトと同じギフトを仮選択しているユーザ数であって、
前記管理手段は、前記ギフトを仮選択しているユーザが前記ギフティング要求をする前に別のギフトを選択した場合、当該ユーザが仮選択しているギフトを当該別のギフトに変更する、
請求項1に記載のプログラム。
【請求項5】
前記表示手段は、前記ギフトを仮選択しているユーザ数が所定数以上である場合、当該ギフトに対するギフティング要求が不可能であることを示す補助情報を表示させる、
請求項1に記載のプログラム。
【請求項6】
前記管理手段は、前記ギフトを仮選択しているユーザ数が少ない推奨ギフトを特定し、
前記表示手段は、前記ギフトを仮選択しているユーザから前記ギフティング要求がされる前に、前記推奨ギフトを表示させる、
請求項1に記載のプログラム。
【請求項7】
前記表示手段は、前記ユーザが所定額以上の対価が対応付けられたギフトを仮選択している場合、前記推奨ギフトを表示させる、
請求項6に記載のプログラム。
【請求項8】
前記表示手段は、前記ユーザが所定の対価を支払っている場合に、前記推奨ギフトを表示させる、
請求項6又は7に記載のプログラム。
【請求項9】
前記表示手段は、前記ユーザが所定額以上の対価が対応付けられたギフトを仮選択している場合、当該ユーザに対して当該ギフトを仮選択しているユーザ数に関する統計情報を表示させる、
請求項1に記載のプログラム。
【請求項10】
前記表示手段は、前記ユーザが所定の対価を支払っている場合に、前記統計情報を表示させる、
請求項1に記載のプログラム。
(【請求項11】以降は省略されています)
発明の詳細な説明
【技術分野】
【0001】
本発明は、プログラム及び情報処理装置に関する。
続きを表示(約 1,100 文字)
【0002】
従来から、複数のユーザに対して動画を配信する動画配信システムが知られている。
【0003】
これに関し、特許文献1には、動画を視聴しているユーザ(プレイヤ)が、演者オブジェクトがいるステージエリアに向かって、購入したアイテムを投げる(ギフティングする)ことができる技術が開示されている。
【先行技術文献】
【特許文献】
【0004】
特開2023-092332号公報
【発明の概要】
【発明が解決しようとする課題】
【0005】
このような技術において、動画を視聴しているユーザがギフティングした場合、当該ギフティングのタイミングが別のユーザと重複してしまい、演者オブジェクト又は他のユーザに当該ギフティングが認識されない場合があった。
【0006】
本発明はこのような課題に鑑みてなされたものであり、その目的は、ユーザ同士によるギフティングのタイミングが重複することを抑制することができるプログラム及び情報処理装置を提供することにある。
【課題を解決するための手段】
【0007】
上記課題を解決するために、本発明の第一態様に係るプログラムは、配信中の動画を視聴する各ユーザが、当該動画にギフトを表示させるギフティングを行うためのプログラムであって、コンピュータを、各ユーザが仮選択しているギフトを管理する管理手段、前記ギフトを仮選択しているユーザから当該ギフトに対するギフティング要求がされた場合に、当該ギフトを前記動画に表示させる表示手段、として機能させ、前記表示手段は、前記ギフトを仮選択しているユーザから前記ギフティング要求がされる前に、当該ユーザに対してギフトを仮選択しているユーザ数に関する統計情報を表示させる。
【0008】
また、本発明の第二態様では、前記管理手段は、前記ギフトを仮選択しているユーザから所定時間に渡って前記ギフティング要求がなかった場合、当該ユーザによる当該ギフトの仮選択を解除する。
【0009】
また、本発明の第三態様では、前記所定時間は、前記ユーザが仮選択しているギフトの対価が高いほど長い。
【0010】
また、本発明の第四態様では、前記統計情報は、前記ユーザが仮選択しているギフトと同じギフトを仮選択しているユーザ数であって、前記管理手段は、前記ギフトを仮選択しているユーザが前記ギフティング要求をする前に別のギフトを選択した場合、当該ユーザが仮選択しているギフトを当該別のギフトに変更する。
(【0011】以降は省略されています)
特許ウォッチbot のツイートを見る
この特許をJ-PlatPat(特許庁公式サイト)で参照する
関連特許
株式会社セガフェイブ
走行玩具
1か月前
株式会社セガフェイブ
通信端末
24日前
株式会社セガ
フィギュア玩具
1か月前
株式会社セガ
写真シール作成機
1か月前
株式会社セガ
写真シール作成機
1か月前
株式会社セガ
写真シール作成機
1か月前
株式会社セガ
遊戯画像撮影装置
1か月前
株式会社セガフェイブ
装身具及びカチューシャ
2日前
株式会社セガフェイブ
通信端末及び通信システム
24日前
株式会社セガ
プログラム及び情報処理装置
1日前
株式会社セガ
プログラム及び情報処理装置
1か月前
株式会社セガ
プログラム及び情報処理装置
8日前
株式会社セガ
プログラム及び情報処理装置
2か月前
株式会社セガ
プログラム及び情報処理装置
1か月前
株式会社セガ
プログラム及び情報処理装置
12日前
株式会社セガ
プログラム及び情報処理装置
12日前
株式会社セガ
プログラム及び情報処理装置
2か月前
株式会社セガ
プログラム及び情報処理装置
1日前
株式会社セガ
プログラム及び情報処理装置
1日前
株式会社セガ
プログラム及び情報処理装置
1日前
株式会社セガ
サーバ装置及びゲームシステム
2か月前
株式会社セガ
プログラム、及び、情報処理装置
1日前
株式会社セガ
プログラム、及び、情報処理装置
1日前
株式会社セガ
プログラム、及び、情報処理装置
1日前
株式会社セガ
サーバ装置、プログラム、及び、ゲームシステム
2か月前
株式会社セガ
店舗管理システム、管理者端末、及び作業者端末
4日前
株式会社セガ
商品販売装置
1か月前
株式会社セガ
画像処理装置
11日前
株式会社セガ
メダルゲーム機
8日前
株式会社セガ
フィギュア玩具
1か月前
株式会社セガ
遊戯画像撮影装置
1か月前
株式会社セガ
プログラム及び記録媒体
1か月前
株式会社セガ
プログラム及び情報処理装置
2か月前
株式会社セガ
プログラム及び情報処理装置
2か月前
株式会社セガ
情報処理装置及びプログラム
2か月前
株式会社セガ
プログラム及び情報処理装置
2か月前
続きを見る
他の特許を見る