TOP
|
特許
|
意匠
|
商標
特許ウォッチ
Twitter
他の特許を見る
公開番号
2025147934
公報種別
公開特許公報(A)
公開日
2025-10-07
出願番号
2024048452
出願日
2024-03-25
発明の名称
木管楽器
出願人
個人
代理人
個人
主分類
G10D
9/00 20200101AFI20250930BHJP(楽器;音響)
要約
【課題】管体内の清掃の容易化及び演奏の質の向上を図ることが可能な木管楽器の提供。
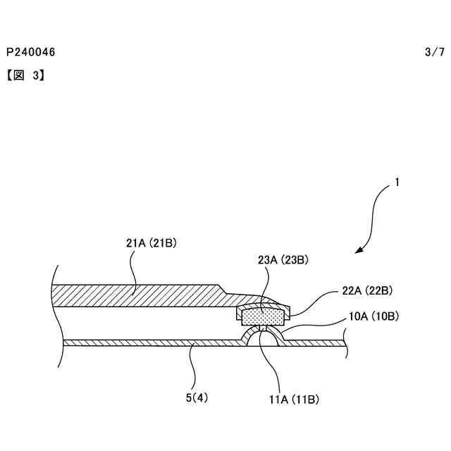
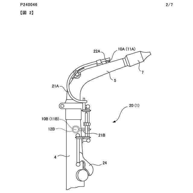
【解決手段】本実施形態に係る木管楽器1は、音のオクターブを変更可能な上部及び下部オクターブトーンホール11A,11Bを有する管体(二番管4及びネック5)と、上部及び下部オクターブトーンホール11A,11Bをそれぞれ開閉するキーリンクシステムとを備えている。上部及び下部オクターブトーンホール11A,11Bは、管体の内壁面側の開口端が該内壁面から突出しない態様で形成されている。
【選択図】図3
特許請求の範囲
【請求項1】
音のオクターブを変更可能な音孔を有する管体と、前記音孔を開閉する開閉機構とを備えた木管楽器であって、
前記音孔は、前記管体の内壁面側の開口端が該内壁面から突出しない態様で形成されている、木管楽器。
続きを表示(約 190 文字)
【請求項2】
前記音孔は、前記管体の壁部を貫通する貫通孔のみにより構成されている、請求項1に記載の木管楽器。
【請求項3】
前記音孔は、テーパ状に形成されている、請求項2に記載の木管楽器。
【請求項4】
前記管体の壁部は、外方に膨出する膨出部を有し、
前記音孔は、前記膨出部に設けられている、請求項1~3の何れか1項に記載の木管楽器。
発明の詳細な説明
【技術分野】
【0001】
本発明は、音のオクターブを変更可能な音孔が設けられた木管楽器に関する。
続きを表示(約 1,200 文字)
【背景技術】
【0002】
特許文献1には、キーリンクシステムを操作することによって、(1)ネックに設けられるオクターブトーンホール(Highレジスターキー、以下、「上部オクターブトーンホール」という)、及び(2)2番管に設けられるオクターブトーンホール(Lowレジスターキー、以下、「下部オクターブトーンホール」という)、をそれぞれ開閉することが可能なサクソフォーンについて開示されている。
【先行技術文献】
【特許文献】
【0003】
実開昭54-130414号公報
【発明の概要】
【発明が解決しようとする課題】
【0004】
一般に、上部及び下部オクターブトーンホールは、その内径が、前者では約1mm~2mm、後者では約2.3~2.8mmといったように、極細のパイプ部材を用いて形成されている。
【0005】
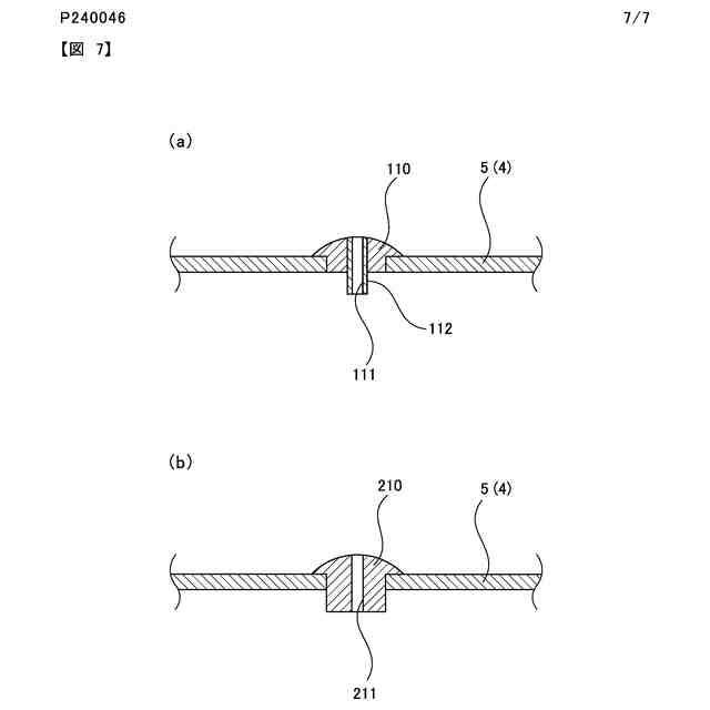
ところで、サクソフォーンでは、演奏をするために管体に息を吹き込むと、当該息に含まれる水蒸気が管体内で凝縮して内壁面に水膜が形成される。このため、従来のサクソフォーンは、このような水膜の流入によってパイプ部材が閉塞されるのを防止等する観点から、当該パイプ部材を管体の内壁面から突出するように配置している(図7(a)の「パイプ部材112」参照)。
【0006】
斯かる突出量は、上部オクターブトーンホールにおいて、その多くが1mm程度に設定される。一方、下部オクターブトーンホールでは、パイプ部材の管長が上部オクターブトーンホール(例えば、5mm)よりも長く形成されたものが多いため(例えば、10mm以上)、上記した1mmを超える突出量になりがちである。
【0007】
このため、従来のサクソフォーンでは、管体(ネック及び二番管)内を清掃用の布体(以下、「スワブ」という)を用いて清掃すると、上記したパイプ部材に引っ掛かってしまい、いわゆるスワブ詰まりが生じたり、場合によっては、当該パイプ部材が折れ曲がって破損・損傷等するという問題があった。
【0008】
また、従来のサクソフォーンでは、上記したパイプ部材の突出量や外径等によっては、管体内の空気の流れを乱すおそれがあり、斯かる場合、演奏の質(空気の通り)に影響を及ぼしかねない。
【0009】
本発明は、管体内の清掃の容易化及び演奏の質の向上を図ることが可能な木管楽器を提供することである。
【課題を解決するための手段】
【0010】
本発明における木管楽器は、音のオクターブを変更可能な音孔を有する管体と、前記音孔を開閉する開閉機構とを備えた木管楽器であって、前記音孔は、前記管体の内壁面側の開口端が該内壁面から突出しない態様で形成されている。
(【0011】以降は省略されています)
この特許をJ-PlatPat(特許庁公式サイト)で参照する
関連特許
個人
遮音材
今日
個人
管楽器用リガチャ-
17日前
個人
歌唱補助器具
9日前
個人
音声出力装置
今日
大和ハウス工業株式会社
音低減設備
10日前
DIC株式会社
吸音材及び吸音部品
11日前
NOK株式会社
吸音構造体
2日前
横浜ゴム株式会社
多層空洞音響材
今日
矢崎総業株式会社
車両用対話システム
1日前
株式会社SinasSP
自動騒音低減装置
22日前
カシオ計算機株式会社
発音装置、発音方法及びプログラム
24日前
株式会社第一興商
カラオケ装置
1日前
トヨタ自動車株式会社
判定装置
24日前
株式会社JVCケンウッド
収音装置、収音方法、およびプログラム
24日前
ブラザー工業株式会社
カラオケ用プログラム、及び、カラオケ装置
28日前
大建工業株式会社
吸音体及び音環境調整構造
24日前
ブラザー工業株式会社
音声録音装置、及び、音声録音用プログラム
28日前
有限会社ツバサ
エレキギターおよび保護フィルム付きの樹脂プレート
22日前
有限会社 宮脇工房
モーター挙動音発生装置
9日前
株式会社SUBARU
乗物用遮音構造体、及び車両
21日前
株式会社NTTドコモ
情報処理装置及び情報処理方法
29日前
株式会社リコー
対話装置、対話システム、対話方法及びプログラム
28日前
本田技研工業株式会社
能動型振動騒音制御装置
28日前
本田技研工業株式会社
能動型振動騒音制御装置
28日前
株式会社クラウン・パッケージ
音発生具及び音発生具を形成するブランクシート
28日前
固昌通訊股ふん有限公司
音響調整装置
14日前
株式会社コルグ
楽音信号変換装置、楽音信号変換方法、プログラム
3日前
カシオ計算機株式会社
情報処理装置、方法およびプログラム
24日前
株式会社東芝
発話言語理解のためのシステムおよび方法
15日前
安克創新科技股フン有限公司
通話ノイズキャンセリング方法及びイヤホン
15日前
株式会社淺沼組
音響システムおよび音響システム付き建築物
28日前
株式会社枚方技研
方向付き楽器固定具
1日前
カシオ計算機株式会社
情報処理装置、演奏装置、方法およびプログラム
23日前
株式会社デンソー
制御装置、ロボットシステム、制御方法、及び制御プログラム
8日前
ブラザー工業株式会社
映像再生装置、及び、映像再生装置用プログラム
28日前
パイオニア株式会社
音声出力装置
23日前
続きを見る
他の特許を見る