TOP
|
特許
|
意匠
|
商標
特許ウォッチ
Twitter
他の特許を見る
10個以上の画像は省略されています。
公開番号
2025148981
公報種別
公開特許公報(A)
公開日
2025-10-08
出願番号
2024049391
出願日
2024-03-26
発明の名称
鍵盤楽器の鍵盤装置
出願人
株式会社河合楽器製作所
代理人
個人
,
個人
,
個人
,
個人
,
個人
主分類
G10H
1/34 20060101AFI20251001BHJP(楽器;音響)
要約
【課題】グランドピアノに比べて部品点数を低減するとともに調整箇所を削減することで、生産性やメンテナンス性を向上させることができ、また、良好なバックチェック機能を得ることができる鍵盤楽器の鍵盤装置を提供する。
【解決手段】前後方向に延びる揺動自在の鍵2と、鍵2の押鍵に連動して所定動作を実行するアクションユニット6と、ハンマーサポート4のハンマー支軸33を介して回動自在に支持され、鍵2の押鍵に伴い、アクションユニット6を介して上方に駆動されるハンマー5と、を備え、ハンマー5は、ハンマー支軸33よりも前方に、下方に突出するバックチェック係合部47を有しており、鍵2には、押鍵に伴って上方に駆動されたハンマー5が、跳ね返って下方に回動したときに、バックチェック係合部47が係合することにより、ハンマー5を停止させるバックチェック62が設けられている。
【選択図】図1
特許請求の範囲
【請求項1】
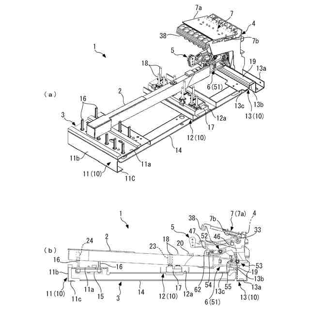
前後方向に所定長さ延び、長さ方向の中央付近を支点として揺動自在の鍵と、
この鍵の後部に設けられ、当該鍵の押鍵に連動して所定動作を実行するアクションユニットと、
この鍵の後側に設けられたハンマーサポートと、
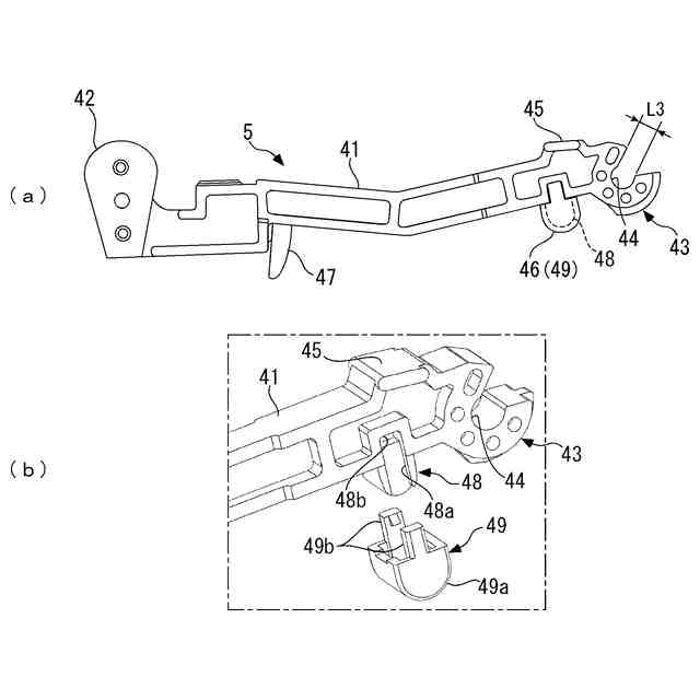
前後方向に所定長さ延び、後端部において前記ハンマーサポートの左右方向に延びるハンマー支軸を介して回動自在に支持され、前記鍵の押鍵に伴い、前記アクションユニットを介して上方に駆動されるハンマーと、
を備え、
前記ハンマーは、前記ハンマー支軸よりも前方に、下方に突出するバックチェック係合部を有しており、
前記鍵には、前記鍵の押鍵に伴って上方に駆動されたハンマーが、跳ね返って下方に回動したときに、前記バックチェック係合部が係合することにより、前記ハンマーを停止させるバックチェックが設けられていることを特徴とする鍵盤楽器の鍵盤装置。
続きを表示(約 450 文字)
【請求項2】
前記ハンマーは、前後方向に所定長さ延び、合成樹脂から成るハンマー本体を有しており、
前記バックチェック係合部は、前記ハンマー本体と一体に成形されていることを特徴とする請求項1に記載の鍵盤楽器の鍵盤装置。
【請求項3】
前記アクションユニットは、前記鍵に固定され、合成樹脂から成るホルダを有しており、
前記バックチェックは、前記ホルダと一体に成形されていることを特徴とする請求項2に記載の鍵盤楽器の鍵盤装置。
【請求項4】
前記バックチェックは、前記バックチェック係合部が係合する際に、当該バックチェック係合部を摺接させながら係止するように構成されていることを特徴とする請求項1~3のいずれかに記載の鍵盤楽器の鍵盤装置。
【請求項5】
前記バックチェック係合部及び前記バックチェックの互いに摺接する面の少なくとも一方には、摩擦を高めるための摩擦部材が設けられていることを特徴とする請求項4に記載の鍵盤楽器の鍵盤装置。
発明の詳細な説明
【技術分野】
【0001】
本発明は、鍵盤楽器の鍵盤装置に関し、特に、押鍵に伴って回動するハンマーが元の位置に復帰回動する際に、そのハンマーのリバウンドを防止するバックチェック機能を有する鍵盤楽器の鍵盤装置に関する。
続きを表示(約 2,500 文字)
【背景技術】
【0002】
一般に、アコースティックピアノであるグランドピアノでは、鍵の押鍵に伴って作動し、ハンマーを上方に回動させることにより、打弦を行わせるアクションが設けられている。このようなアクションの一例が、例えば本出願人がすでに出願した特許文献1に開示されている。このアクションは、鍵ごとに設けられており、回動自在に支持されかつ鍵の後部に載置されたウィッペンと、このウィッペンに回動自在に取り付けられたレペティションレバー及びジャックと、これらを所定方向に付勢するレペティションスプリングと、レペティションレバー及びジャックの回動をそれぞれ規制するレペティションスクリュー及びレギュレーティングボタンと、鍵の後端部の上方に設けられたバックチェックなどを備えている。
【0003】
また、ハンマーは、前後方向に延びるとともに基端部側にシャンクローラが取り付けられたハンマーシャンクと、その先端部に取り付けられたハンマーヘッドなどで構成されている。そして、このハンマーは、ハンマーシャンクの基端部において回動自在に支持されている。
【0004】
上記のアクションにおいて、レペティションレバーには、上下方向に貫通するジャック案内孔が設けられており、このジャック案内孔の付近に、シャンクローラを介してハンマーが載置されている。また、上記のジャックは、側面形状がL字状に形成されており、上下方向に延びるハンマー突上げ部の先端部が、レペティションレバーのジャック案内孔に、下方から挿入されかつ前後方向に移動自在に係合するとともに、シャンクローラに対向している。さらに、上記のバックチェックは、上下方向に延びる所定形状を有しており、鍵の後端部の上面に、座板及びバックチェックワイヤを介して取り付けられている。
【0005】
以上のように構成されたハンマー及びアクションを備えたグランドピアノでは、鍵が押鍵されると、その鍵の後部で突き上げられたウィッペンが上方に回動し、これに伴い、レペティションレバー及びジャックも上方に移動する。これに伴いまず、レペティションレバーがシャンクローラを摺動させながら、これを介してハンマーを押し上げ、上方に回動させる。次いで、レペティションレバーがレペティションスクリューに当接することで係止されることにより、ジャックがシャンクローラを介してハンマーを突き上げる。その後、ハンマーが、上方に張られた弦を打弦する直前まで回動した時点で、ジャックが、レギュレーティングボタンに係合することによって、シャンクローラから抜ける(脱進)。このようなジャックの脱進により、ハンマーは、アクション及び鍵との連結を解かれ、自由回動の状態で、弦を打弦する。なお、ジャックの脱進の際に、鍵のタッチ重さ(静的荷重)の変化、具体的には、タッチ重さの急激な増加及びその直後の急激な減少によるクリック感が生じることにより、演奏者がピアノを弾くときのタッチ感において、いわゆるレットオフ感が得られる。
【0006】
その後、鍵が離鍵され、鍵盤深さの1/3程度戻されたタイミングで、レペティションレバーが作動し始め、レペティションスプリングのばね力で所定方向に復帰回動することによって、シャンクローラを摺動させながら押し上げる。これにより、ジャックが、レペティションスプリングのばね力で所定方向に復帰回動し、元の位置に戻ることによって、鍵が離鍵状態の位置まで完全に戻らなくても、次の打弦が行えるようになっている。
【0007】
また、押鍵によって上方に回動したハンマーは、打弦の反動で復帰方向、すなわち下方に回動する。その際、鍵が押鍵されていることにより、その後端部のバックチェックは、離鍵状態のときよりも上方に位置しており、その状態で、復帰回動するハンマーのテール部、具体的にはハンマーヘッドの下端部に位置するテール部がバックチェックに当たる。そして、バックチェックに接触したハンマーは、リバウンドすることなく、その位置に係止され、停止する。
【先行技術文献】
【特許文献】
【0008】
特開2005-31284号公報
【発明の概要】
【発明が解決しようとする課題】
【0009】
しかし、グランドピアノでは、アクションやハンマーを構成する部品数が多く、また、回動する部品(以下、本欄において「回動部品」という)と、それを支持する部品(以下、本欄において「支持部品」という)とを、ピンを介して連結している。具体的には、支持部品において、回動部品を支持する部分が二股状に形成され、その内側に支持部品がセットされた状態で、両部品の連結孔にピンを挿入することで、回動部品が支持部品に回動自在に連結される。このように、グランドピアノでは、アクションやハンマーの構成部品が多く、しかも、製造時におけるそれらの組付け作業が煩雑であり、手間がかかってしまう。また、グランドピアノでは、アクションやハンマーを適正に作動させるために、アクションの各部品やハンマーなどの回動範囲を調整する必要があり、その調整作業が煩雑である。
【0010】
さらに、鍵の後端部の上側に設けられたバックチェックは、鍵の後端部に上方から差し込まれたバックチェックワイヤを介して取り付けられるため、鍵ごとのバックチェックの位置に誤差が生じたり、ハンマーを係止する高さにバラツキが生じたりすることがある。これらの不具合を解消するために、グランドピアノの製造時やメンテナンス時に、バックチェックワイヤを曲げるなどの調整が必要であり、その調整作業が煩雑である。加えて、グランドピアノでは、ハンマーのテール部がハンマーの回動支点であるハンマー支軸よりも後方に位置し、バックチェックが鍵の後端部に取り付けられるため、鍵盤装置全体の奥行寸法が大きくなる。そのため、従来の鍵盤装置を備えた鍵盤楽器では、楽器全体をコンパクトに構成することが困難である。
(【0011】以降は省略されています)
この特許をJ-PlatPat(特許庁公式サイト)で参照する
関連特許
個人
遮音材
今日
個人
管楽器用リガチャ-
17日前
個人
歌唱補助器具
9日前
個人
音声出力装置
今日
大和ハウス工業株式会社
音低減設備
10日前
DIC株式会社
吸音材及び吸音部品
11日前
NOK株式会社
吸音構造体
2日前
横浜ゴム株式会社
多層空洞音響材
今日
矢崎総業株式会社
車両用対話システム
1日前
株式会社SinasSP
自動騒音低減装置
22日前
カシオ計算機株式会社
発音装置、発音方法及びプログラム
24日前
株式会社第一興商
カラオケ装置
1日前
トヨタ自動車株式会社
判定装置
24日前
株式会社JVCケンウッド
収音装置、収音方法、およびプログラム
24日前
ブラザー工業株式会社
カラオケ用プログラム、及び、カラオケ装置
28日前
大建工業株式会社
吸音体及び音環境調整構造
24日前
ブラザー工業株式会社
音声録音装置、及び、音声録音用プログラム
28日前
有限会社ツバサ
エレキギターおよび保護フィルム付きの樹脂プレート
22日前
有限会社 宮脇工房
モーター挙動音発生装置
9日前
株式会社SUBARU
乗物用遮音構造体、及び車両
21日前
株式会社NTTドコモ
情報処理装置及び情報処理方法
29日前
株式会社リコー
対話装置、対話システム、対話方法及びプログラム
28日前
本田技研工業株式会社
能動型振動騒音制御装置
28日前
本田技研工業株式会社
能動型振動騒音制御装置
28日前
株式会社クラウン・パッケージ
音発生具及び音発生具を形成するブランクシート
28日前
固昌通訊股ふん有限公司
音響調整装置
14日前
株式会社コルグ
楽音信号変換装置、楽音信号変換方法、プログラム
3日前
カシオ計算機株式会社
情報処理装置、方法およびプログラム
24日前
株式会社東芝
発話言語理解のためのシステムおよび方法
15日前
安克創新科技股フン有限公司
通話ノイズキャンセリング方法及びイヤホン
15日前
株式会社淺沼組
音響システムおよび音響システム付き建築物
28日前
株式会社枚方技研
方向付き楽器固定具
1日前
カシオ計算機株式会社
情報処理装置、演奏装置、方法およびプログラム
23日前
株式会社デンソー
制御装置、ロボットシステム、制御方法、及び制御プログラム
8日前
ブラザー工業株式会社
映像再生装置、及び、映像再生装置用プログラム
28日前
パイオニア株式会社
音声出力装置
23日前
続きを見る
他の特許を見る