TOP
|
特許
|
意匠
|
商標
特許ウォッチ
Twitter
他の特許を見る
公開番号
2025146480
公報種別
公開特許公報(A)
公開日
2025-10-03
出願番号
2024047290
出願日
2024-03-22
発明の名称
電子楽器、電子楽器の制御方法及びプログラム
出願人
カシオ計算機株式会社
代理人
個人
主分類
G10H
1/00 20060101AFI20250926BHJP(楽器;音響)
要約
【課題】電力の消費を適切に抑制できる電子楽器、電子楽器の制御方法及びプログラムを提供する。
【解決手段】ステップS301にて取得した電池の残量データ、及び、ステップS302にて取得した優先度データを用いて、使用状況の分析対象を決定する(ステップS303)。ステップS305にて取得した使用状況分析データが示す各部材の使用状況を、ステップS304にて取得した省電力条件データが示す省電力条件と比較することで、使用状況の分析対象となる機能に対応して複数設置された部材ごとに、省電力条件が成立したか否かを判定する(ステップS306)。省電力条件が成立した部材を特定し(ステップS307)、特定部材の省電力制御を行う(ステップS308)。
【選択図】図8
特許請求の範囲
【請求項1】
電力を供給する電池と、
前記電池の残量に応じて、複数の機能の中から少なくとも一つの機能を決定し、決定した前記少なくとも一つの機能に対応する複数の部材のうち所定の条件を満たす少なくとも一つの部材を省電力状態に制御する制御部と、
を備える電子楽器。
続きを表示(約 720 文字)
【請求項2】
前記制御部は、決定した前記少なくとも一つの機能に対応する複数の部材の使用状況の情報を取得し、取得した前記使用状況の情報が所定閾値条件を満たす前記少なくとも一つの部材を前記省電力状態に制御する、
請求項1に記載の電子楽器。
【請求項3】
前記制御部は、前記複数の部材それぞれの使用率、使用時間又は使用回数が所定の閾値以下であると判断した場合に、前記所定閾値条件を満たすと判定する、
請求項2に記載の電子楽器。
【請求項4】
前記制御部は、前記部材への電力供給を遮断させる又は前記部材の動作態様を変更させる信号を送信することで前記少なくとも一つの部材を省電力状態に制御する、
請求項1に記載の電子楽器。
【請求項5】
前記省電力状態に制御された前記部材を報知する報知部を備える、
請求項1に記載の電子楽器。
【請求項6】
電池により電力を供給し、
前記電池の残量に応じて、複数の機能の中から少なくとも一つの機能を決定し、
決定した前記少なくとも一つの機能に対応する複数の部材のうち所定の条件を満たす少なくとも一つの部材を省電力状態に制御する、
電子楽器の制御方法。
【請求項7】
コンピュータに、
電池により電力を供給し、
前記電池の残量に応じて、複数の機能の中から少なくとも一つの機能を決定し、
決定した前記少なくとも一つの機能に対応する複数の部材のうち所定の条件を満たす少なくとも一つの部材を省電力状態に制御する、
処理を実行させるためのプログラム。
発明の詳細な説明
【技術分野】
【0001】
本発明は、電子楽器、電子楽器の制御方法及びプログラムに関する。
続きを表示(約 1,700 文字)
【背景技術】
【0002】
電池で駆動される電子楽器が知られている。例えば、特許文献1は、電子楽器の内部を複数のブロックに分割し、電池の電圧の低下に応じて各ブロックの動作を段階的に停止させることにより、消費電力を低減する電子楽器を開示している。
【先行技術文献】
【特許文献】
【0003】
特開平06-167969号公報
【発明の概要】
【発明が解決しようとする課題】
【0004】
特許文献1に記載された技術では、ユーザにとって使用頻度が高い機能であっても、電池の残量に応じて電力の供給が停止されてしまい、ユーザの利便性が低下するおそれがあった。
【0005】
本発明は、上記実状に鑑みてなされたものであり、電力の消費を適切に抑制できる電子楽器、電子楽器の制御方法及びプログラムを提供することを目的とする。
【課題を解決するための手段】
【0006】
上記目的を達成するため、本発明に係る電子楽器は、
電力を供給する電池と、
前記電池の残量に応じて、複数の機能の中から少なくとも一つの機能を決定し、決定した前記少なくとも一つの機能に対応する複数の部材のうち所定の条件を満たす少なくとも一つの部材を省電力状態に制御する制御部と、
を備える。
【発明の効果】
【0007】
本発明によれば、ユーザの利便性を向上させるように、電力の消費を適切に抑制することができる。
【図面の簡単な説明】
【0008】
実施形態に係る電子楽器の構成例を示す図である。
実施形態に係る電子楽器の電源部を示す図である。
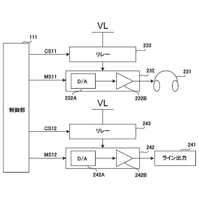
実施形態に係るオーディオ出力機能を実現する構成例を示す図である。
実施形態に係るオーディオ出力機能を実現する他の構成例を示す図である。
実施形態に係るオーディオ入力機能を実現する構成例を示す図である。
実施形態に係る省電力制御処理の一例を示すフローチャートである。
実施形態に係る使用時間測定処理の一例を示すフローチャートである。
実施形態に係る分析供給制御処理の一例を示すフローチャートである。
(A)実施形態に係る分析設定例、(B)実施形態に係る省電力設定例を、それぞれ示す図である。
(A)実施形態に係るオーディオ出力機能に対する分析例、(B)実施形態に係るオーディオ入力機能に対する分析例、(C)実施形態に係る入力操作機能に対する分析例を、それぞれ示す図である。
【発明を実施するための形態】
【0009】
(実施形態)
以下、本発明の一実施形態について説明する。本実施形態に係る電子楽器100は、例えば、電子ピアノ、電子オルガン、シンセサイザー、その他に任意のオーディオ出力が可能な電子楽器であればよい。図1に示すように、電子楽器100は、制御部111と、記憶部112と、鍵盤部113と、操作部114と、音声処理部115と、を備える。これらの各構成は、一部又は全部が内部バス121を介して相互に接続されている。
【0010】
制御部111は、例えば、CPU(Central Processing Unit)といったプロセッサを含んで構成可能である。プロセッサは、CPUに代えて、あるいは、CPUに加えて、MPU(Micro-Processing Unit)、MCU(Micro-Controller Unit)、これらの一方又は両方を含んで構成されてもよい。制御部111は、電子楽器100において各種プログラムを実行して、ソフトウェアによる情報処理がハードウェアを用いて具体的に実現可能とする。一例として、制御部111のCPUは、電子楽器100全体の制御を行い、鍵盤部113における鍵盤の打鍵、操作部114におけるスイッチ検出及び入力操作に従ったサウンドシステムの制御等を実行する。
(【0011】以降は省略されています)
この特許をJ-PlatPat(特許庁公式サイト)で参照する
関連特許
カシオ計算機株式会社
印刷装置
14日前
カシオ計算機株式会社
光源装置及び投影装置
9日前
カシオ計算機株式会社
調整装置、方法及びプログラム
22日前
カシオ計算機株式会社
イヤホンデバイス、電子システム
今日
カシオ計算機株式会社
検索装置、検索方法、及び、プログラム
14日前
カシオ計算機株式会社
印刷装置、ラベル作成方法及びプログラム
14日前
カシオ計算機株式会社
電子機器、入力制御方法、及びプログラム
11日前
カシオ計算機株式会社
情報処理装置、情報処理方法、及びプログラム
3日前
カシオ計算機株式会社
ウェアラブル機器、装着判定方法及びプログラム
3日前
カシオ計算機株式会社
電子機器、電源供給状態表示方法およびプログラム
21日前
カシオ計算機株式会社
時計
今日
カシオ計算機株式会社
電子鍵盤楽器
2日前
カシオ計算機株式会社
売上データ処理システム、売上データ処理方法、及びプログラム
8日前
カシオ計算機株式会社
バンド駒の製造方法
今日
カシオ計算機株式会社
カバー付き電子機器
14日前
カシオ計算機株式会社
スタンド、鍵盤楽器セット
21日前
カシオ計算機株式会社
情報処理装置、情報制御方法、及び、プログラム
10日前
カシオ計算機株式会社
音量制御装置、電子楽器、音量制御方法及びプログラム
21日前
個人
遮音材
今日
個人
木管楽器
1か月前
個人
管楽器用リガチャ-
17日前
個人
歌唱補助器具
9日前
個人
音声出力装置
今日
大和ハウス工業株式会社
音低減設備
10日前
DIC株式会社
吸音材及び吸音部品
11日前
NOK株式会社
吸音構造体
2日前
横浜ゴム株式会社
多層空洞音響材
今日
株式会社SinasSP
自動騒音低減装置
22日前
矢崎総業株式会社
車両用対話システム
1日前
日本軽金属株式会社
遮音壁
29日前
株式会社第一興商
カラオケ装置
1日前
株式会社第一興商
カラオケ装置
29日前
カシオ計算機株式会社
発音装置、発音方法及びプログラム
24日前
トヨタ自動車株式会社
判定装置
24日前
ブラザー工業株式会社
カラオケ装置及びカラオケプログラム
29日前
日本電気株式会社
放送用システムおよび字幕作成方法
1か月前
続きを見る
他の特許を見る