TOP
|
特許
|
意匠
|
商標
特許ウォッチ
Twitter
他の特許を見る
10個以上の画像は省略されています。
公開番号
2025148983
公報種別
公開特許公報(A)
公開日
2025-10-08
出願番号
2024049393
出願日
2024-03-26
発明の名称
鍵盤楽器の楽音制御装置
出願人
株式会社河合楽器製作所
代理人
個人
,
個人
,
個人
,
個人
,
個人
主分類
G10H
1/053 20060101AFI20251001BHJP(楽器;音響)
要約
【課題】グランドピアノの鍵盤と同様のタッチ感を確保しながら、グランドピアノの演奏時と同様の発音を実現することができる鍵盤楽器の楽音制御装置を提供する。
【解決手段】揺動自在の複数の鍵3と、押鍵に伴い所定動作を実行する複数のアクション4と、押鍵に伴い、アクション4を介して上方に回動駆動される複数のハンマー5と、押鍵に伴い、鍵の後端部によって上方に回動駆動される複数のダンパーレバー6と、ハンマー5の回動位置及び回動速度を検出するための複数のハンマーセンサ7と、ダンパーレバー6の所定部位の高さをダンパー高さとして検出するための複数のダンパーセンサ8と、発音すべき楽音の出力を制御する楽音制御9と、を備えた鍵盤楽器1の楽音制御装置であって、楽音制御部9は、各ハンマーセンサ7及び各ダンパーセンサ8の検出結果に基づき、押鍵された鍵3に対応する楽音の出力を制御する。
【選択図】図1
特許請求の範囲
【請求項1】
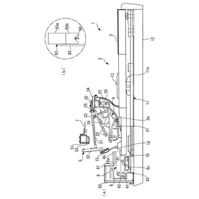
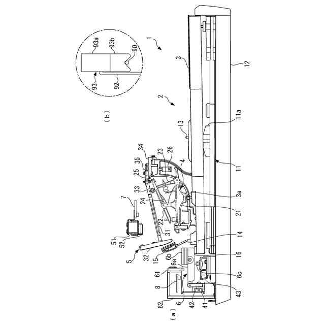
各々が前後方向に延びかつ長さ方向の中央付近を支点として揺動自在の複数の鍵と、
当該各鍵の後部にそれぞれ載置され、押鍵に伴い所定動作を実行する複数のアクションと、
前記各鍵の押鍵に伴い、対応する前記アクションを介して上方に回動駆動される複数のハンマーと、
前記各鍵の後側に回動自在に設けられ、押鍵に伴い、対応する前記鍵の後端部によって上方に回動駆動される複数のダンパーレバーと、
前記ハンマーごとに設けられ、対応する前記ハンマーの回動位置及び回動速度をそれぞれ検出するための複数のハンマーセンサと、
前記ダンパーレバーごとに設けられ、対応する前記ダンパーレバーの所定部位の高さをダンパー高さとしてそれぞれ検出するための複数のダンパーセンサと、
押鍵に伴い、発音すべき楽音の出力を制御する楽音制御手段と、
を備えた鍵盤楽器の楽音制御装置であって、
前記楽音制御手段は、前記各ハンマーセンサ及び前記各ダンパーセンサの検出結果に基づき、押鍵された前記鍵に対応する前記楽音の出力を制御することを特徴とする鍵盤楽器の楽音制御装置。
続きを表示(約 510 文字)
【請求項2】
前記楽音制御手段は、前記ダンパーセンサの検出結果に基づき、押鍵された前記鍵が離鍵されることで止音する際の前記楽音の減衰、及び押鍵された前記鍵に対応する楽音と弦共鳴の関係を有しかつ前記押鍵された鍵よりも先に押鍵された他の鍵に対応する楽音である共鳴音の出力を制御することを特徴とする請求項1に記載の鍵盤楽器の楽音制御装置。
【請求項3】
前記複数のダンパーセンサの各々は、前記ダンパー高さを所定の多段階で又は連続的に検出可能に構成されていることを特徴とする請求項2に記載の鍵盤楽器の楽音制御装置。
【請求項4】
前記複数のダンパーセンサの少なくとも1つに代えて、対応する前記鍵における押鍵及び離鍵の際の当該鍵の所定部位の高さを鍵高さとして検出するための鍵センサを、さらに備えていることを特徴とする請求項2又は3に記載の鍵盤楽器の楽音制御装置。
【請求項5】
前記鍵盤楽器は、前記ハンマーで打たれることによって発音するための弦、及び当該弦を係止するためのダンパーを備えていないことを特徴とする請求項1から3のいずれかに記載の鍵盤楽器の楽音制御装置。
発明の詳細な説明
【技術分野】
【0001】
本発明は、電子ピアノなどの鍵盤楽器に適用され、グランドピアノの鍵盤と同様のタッチ感を確保しながら、発音すべき楽音の出力を制御することにより、グランドピアノの演奏時と同様の発音を実現可能な鍵盤楽器の楽音制御装置に関する。
続きを表示(約 1,900 文字)
【背景技術】
【0002】
従来、アコースティックのグランドピアノが備えるアクションと同様のアクションを備えた電子ピアノとして、例えば特許文献1に記載されたものが知られている。この電子ピアノは、前後方向に延び、長さ方向の中央付近を支点として揺動自在の鍵と、鍵の上面後部に載置され、押鍵に応じて所定動作を実行するアクションと、押鍵によりアクションを介して上方に回動駆動されるハンマーと、鍵の後端付近に設けられた疑似ダンパーレバーと、その疑似ダンパーレバーを押し上げる際に踏み込み操作されるダンパーペダルなどを備えている。また、上記の電子ピアノは、複数のセンサと、それらのセンサの検出結果に基づいて、電子ピアノから発音される楽音を制御する制御部とを備えている。
【0003】
上記の複数のセンサは、ハンマーの回動速度を検出するハンマーセンサ、押鍵された鍵及びその下降速度を検出する鍵センサ、並びにダンパーペダルが踏み込まれたことを検出するダンパーペダルセンサなどを有している。上記の電子ピアノでは、演奏時に鍵が押鍵されると、制御部により、上記のハンマーセンサ、鍵センサ及びダンパーペダルセンサなどの検出結果に基づいて、所定処理が実行されるとともに、駆動信号が生成される。そして、生成された駆動信号が響板駆動ユニットに出力されることにより、押鍵された鍵に対応する楽音が発音される。
【先行技術文献】
【特許文献】
【0004】
特開平5-158467号公報
【発明の概要】
【発明が解決しようとする課題】
【0005】
上記の電子ピアノでは、グランドピアノと同様のアクション及び疑似ダンパーレバーを備えているので、グランドピアノの演奏時に近似したタッチ感を得ることが可能である。しかし、この電子ピアノでは、発音に不具合が生じたり、発音の一部がグランドピアノのそれと異なったりしまうことがある。
【0006】
例えば、弱打による押鍵時に、ハンマーがアクションのレペティションレバー上でバウンドすると、ハンマーセンサにより、打弦と誤検知されることで、意図せずに発音され、結果として、押鍵された鍵が2度発音される、いわゆる弱打の二度打ちが生じることがある。また、強打による押鍵時に、ハンマーが上方に勢いよく回動してストッパに当たった後、その反動で下方に回動し過ぎてしまうと、ハンマーセンサにより、離鍵したと誤検知されることで、意図せずに発音が直ちに止音される、いわゆる強打の音切れを生じてしまうことがある。
【0007】
また、グランドピアノでは通常、鍵が押鍵されることにより、ダンパーレバーを介してダンパーが上昇して弦を解放するとともに、その弦をハンマーが下方から打弦し、それにより、弦が振動することによって楽音が発生する。そして、押鍵された鍵が離鍵されることにより、弦を解放していたダンパーが下降して弦を押さえ、それにより、発生していた楽音が止音される。この場合、弦に対するダンパーの位置関係、具体的にはダンパーが弦を押さえる度合によっては、楽音が止音する際に、多様な減衰が得られる。これに対し、上記の電子ピアノでは、ダンパーに関して、ダンパーペダルの踏み込みの状態が検出されるようになっているものの、ダンパーペダルが踏み込まれていない状態では、発生した楽音の止音制御が画一的なものになってしまう。
【0008】
さらに、グランドピアノでは、上述したように、押鍵された鍵に対応する弦が振動することによって楽音が発生する。この場合、振動する弦と弦共鳴の関係を有する、他の鍵に対応する弦が共鳴し、その弦による楽音が共鳴音として発生する。これにより、押鍵された鍵に対応する楽音の音色が豊かなものとなる。これに対し、上記の電子ピアノでは、ダンパーペダルが踏み込まれている場合に共鳴音を発生させているものの、ダンパーペダルが踏み込まれていない状態では、共鳴音が発生しないようになっている。
【0009】
以上のように、従来の電子ピアノでは、グランドピアノと同様の楽音を得ることができず、特に、楽音の止音や共鳴について、グランドピアノを演奏する場合のような自然な楽音の豊かな音色や響きを得ることができない。
【0010】
本発明は、以上のような課題を解決するためになされたものであり、グランドピアノの鍵盤と同様のタッチ感を確保しながら、グランドピアノの演奏時と同様の発音を実現することができる鍵盤楽器の楽音制御装置を提供することを目的とする。
【課題を解決するための手段】
(【0011】以降は省略されています)
この特許をJ-PlatPat(特許庁公式サイト)で参照する
関連特許
個人
遮音材
今日
個人
歌唱補助器具
9日前
個人
管楽器用リガチャ-
17日前
個人
音声出力装置
今日
大和ハウス工業株式会社
音低減設備
10日前
DIC株式会社
吸音材及び吸音部品
11日前
NOK株式会社
吸音構造体
2日前
矢崎総業株式会社
車両用対話システム
1日前
株式会社SinasSP
自動騒音低減装置
22日前
横浜ゴム株式会社
多層空洞音響材
今日
トヨタ自動車株式会社
判定装置
24日前
株式会社第一興商
カラオケ装置
1日前
カシオ計算機株式会社
発音装置、発音方法及びプログラム
24日前
株式会社JVCケンウッド
収音装置、収音方法、およびプログラム
24日前
大建工業株式会社
吸音体及び音環境調整構造
24日前
ブラザー工業株式会社
カラオケ用プログラム、及び、カラオケ装置
28日前
有限会社ツバサ
エレキギターおよび保護フィルム付きの樹脂プレート
22日前
有限会社 宮脇工房
モーター挙動音発生装置
9日前
株式会社リコー
対話装置、対話システム、対話方法及びプログラム
28日前
株式会社SUBARU
乗物用遮音構造体、及び車両
21日前
本田技研工業株式会社
能動型振動騒音制御装置
28日前
本田技研工業株式会社
能動型振動騒音制御装置
28日前
株式会社コルグ
楽音信号変換装置、楽音信号変換方法、プログラム
3日前
カシオ計算機株式会社
情報処理装置、方法およびプログラム
24日前
固昌通訊股ふん有限公司
音響調整装置
14日前
株式会社東芝
発話言語理解のためのシステムおよび方法
15日前
株式会社枚方技研
方向付き楽器固定具
1日前
株式会社淺沼組
音響システムおよび音響システム付き建築物
28日前
安克創新科技股フン有限公司
通話ノイズキャンセリング方法及びイヤホン
15日前
カシオ計算機株式会社
情報処理装置、演奏装置、方法およびプログラム
23日前
株式会社デンソー
制御装置、ロボットシステム、制御方法、及び制御プログラム
8日前
パイオニア株式会社
音声出力装置
23日前
日本放送協会
エンコーダー・デコーダー装置、推論装置、およびプログラム
14日前
サクサ株式会社
選曲装置及び選曲プログラム
28日前
パイオニア株式会社
効果音出力装置
10日前
エムケイ無線事業協同組合
音声応答システム、及びそれを利用した応答方法
10日前
続きを見る
他の特許を見る