TOP
|
特許
|
意匠
|
商標
特許ウォッチ
Twitter
他の特許を見る
10個以上の画像は省略されています。
公開番号
2025177637
公報種別
公開特許公報(A)
公開日
2025-12-05
出願番号
2024084661
出願日
2024-05-24
発明の名称
カラオケ装置、カラオケシステム
出願人
株式会社第一興商
代理人
弁理士法人一色国際特許事務所
主分類
G10K
15/04 20060101AFI20251128BHJP(楽器;音響)
要約
【課題】利用者がカラオケ歌唱を行う際、心拍数の急上昇を未然に防止可能なカラオケ装置を提供する。
【解決手段】利用者がある楽曲のカラオケ歌唱を行った際に心拍数が急上昇した区間の開始時刻から終了時刻までの時間である心拍数急上昇時間と、当該心拍数が急上昇した区間に含まれる当該ある楽曲の複数のノートの音高及び当該音高の並び順とを含む禁歌唱条件を取得する取得部、利用者がカラオケ歌唱を行う一の楽曲を選曲した場合、当該利用者の禁歌唱条件に該当する禁歌唱区間のカラオケ演奏を禁止する演奏処理部を有するカラオケ装置。
【選択図】図3
特許請求の範囲
【請求項1】
利用者がある楽曲のカラオケ歌唱を行った際に心拍数が急上昇した区間の開始時刻から終了時刻までの時間である心拍数急上昇時間と、当該心拍数が急上昇した区間に含まれる当該ある楽曲の複数のノートの音高及び当該音高の並び順とを含む禁歌唱条件を取得する取得部と、
前記利用者がカラオケ歌唱を行う一の楽曲を選曲した場合、当該利用者の前記禁歌唱条件に該当する禁歌唱区間のカラオケ演奏を禁止する演奏処理部と、
を有するカラオケ装置。
続きを表示(約 1,400 文字)
【請求項2】
前記取得部は、前記ある楽曲のカラオケ歌唱を開始する直前に測定された前記利用者の心拍数に応じて決定された第1の閾値、前記第1の閾値よりも低い値であって、所定の心拍数を示す第2の閾値、心拍数が急上昇したと判断するための時間である所定時間、当該利用者が当該ある楽曲のカラオケ歌唱を行っている間に測定された心拍数の推移を示す推移データ、及び当該ある楽曲のリファレンスデータを用いて決定した前記禁歌唱条件を取得することを特徴とする請求項1記載のカラオケ装置。
【請求項3】
前記演奏処理部は、前記一の楽曲において、前記禁歌唱条件に含まれる複数のノートの音高及び当該音高の並び順と同じ複数のノートの音高及び当該音高の並び順を含み、当該複数のノートのうち、最初のノートから最後のノートまでの発音時間の合計値が前記心拍数急上昇時間よりも長く、且つ当該複数のノートのうち、当該最初のノートと当該最後のノート以外のノートの発音時間の合計値が前記心拍数急上昇時間未満である場合、当該最初のノートから当該最後のノートまでの区間を前記禁歌唱区間として特定することを特徴とする請求項1記載のカラオケ装置。
【請求項4】
前記演奏処理部は、前記一の楽曲のカラオケ演奏を行う際に、前記禁歌唱区間のカラオケ演奏をスキップさせることにより、当該禁歌唱区間のカラオケ演奏を禁止することを特徴とする請求項1から3のいずれか一つに記載のカラオケ装置。
【請求項5】
前記演奏処理部は、前記禁歌唱区間を除いて生成した前記一の楽曲の新たな伴奏データに基づいてカラオケ演奏を行うことにより、当該禁歌唱区間のカラオケ演奏を禁止することを特徴とする請求項1から3のいずれか一つに記載のカラオケ装置。
【請求項6】
前記演奏処理部は、前記一の楽曲のカラオケ演奏を行う際に、当該一の楽曲の区間情報及び/または歌詞の表示タイミングに基づいて、前記禁歌唱区間を含む所定区間のカラオケ演奏をスキップさせることにより、当該禁歌唱区間のカラオケ演奏を禁止することを特徴とする請求項1から3のいずれか一つに記載のカラオケ装置。
【請求項7】
前記演奏処理部は、前記一の楽曲の区間情報及び/または歌詞の表示タイミングに基づいて特定された前記禁歌唱区間を含む区間を除いて生成した当該一の楽曲の新たな伴奏データに基づいてカラオケ演奏を行うことにより、当該禁歌唱区間のカラオケ演奏を禁止することを特徴とする請求項1から3のいずれか一つに記載のカラオケ装置。
【請求項8】
利用者の心拍数を測定するための心拍数測定器と、サーバ装置と、カラオケ装置とを含むカラオケシステムであって、
前記カラオケ装置は、
利用者がある楽曲のカラオケ歌唱を行った際に心拍数が急上昇した区間の開始時刻から終了時刻までの時間である心拍数急上昇時間と、当該心拍数が急上昇した区間に含まれる当該ある楽曲の複数のノートの音高及び当該音高の並び順とを含む禁歌唱条件を取得する取得部と、
前記利用者がカラオケ歌唱を行う一の楽曲を選曲した場合、当該利用者の前記禁歌唱条件に該当する禁歌唱区間のカラオケ演奏を禁止する演奏処理部と、
を有するカラオケシステム。
発明の詳細な説明
【技術分野】
【0001】
本発明はカラオケ装置及びカラオケシステムに関する。
続きを表示(約 1,600 文字)
【背景技術】
【0002】
特許文献1には、歌唱者の歌唱中に検知されたバイタル情報(血圧、心拍数、血中酸素飽和度、体温)を表示することにより、歌唱者の健康状態への注意の喚起や維持向上のための情報確認の機会を提供することができる技術が開示されている。
【先行技術文献】
【特許文献】
【0003】
特開2005-134599号公報
【発明の概要】
【発明が解決しようとする課題】
【0004】
本発明の目的は、利用者がカラオケ歌唱を行う際、心拍数の急上昇を未然に防止可能なカラオケ装置及びカラオケシステムを提供することにある。
【課題を解決するための手段】
【0005】
上記目的を達成するための一の発明は、利用者がある楽曲のカラオケ歌唱を行った際に心拍数が急上昇した区間の開始時刻から終了時刻までの時間である心拍数急上昇時間と、当該心拍数が急上昇した区間に含まれる当該ある楽曲の複数のノートの音高及び当該音高の並び順とを含む禁歌唱条件を取得する取得部と、前記利用者がカラオケ歌唱を行う一の楽曲を選曲した場合、当該利用者の前記禁歌唱条件に該当する禁歌唱区間のカラオケ演奏を禁止する演奏処理部と、を有するカラオケ装置である。
また、上記目的を達成するための別の発明は、利用者の心拍数を測定するための心拍数測定器と、サーバ装置と、カラオケ装置とを含むカラオケシステムであって、前記カラオケ装置は、利用者がある楽曲のカラオケ歌唱を行った際に心拍数が急上昇した区間の開始時刻から終了時刻までの時間である心拍数急上昇時間と、当該心拍数が急上昇した区間に含まれる当該ある楽曲の複数のノートの音高及び当該音高の並び順とを含む禁歌唱条件を取得する取得部と、前記利用者がカラオケ歌唱を行う一の楽曲を選曲した場合、当該利用者の前記禁歌唱条件に該当する禁歌唱区間のカラオケ演奏を禁止する演奏処理部と、を有するカラオケシステムである。
本発明の他の特徴については、後述する明細書及び図面の記載により明らかにする。
【発明の効果】
【0006】
本発明によれば、利用者がカラオケ歌唱を行う際、心拍数の急上昇を未然に防止できる。
【図面の簡単な説明】
【0007】
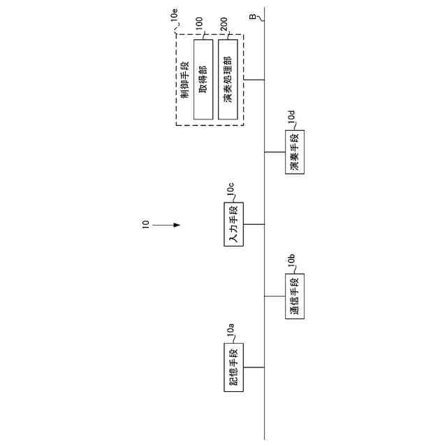
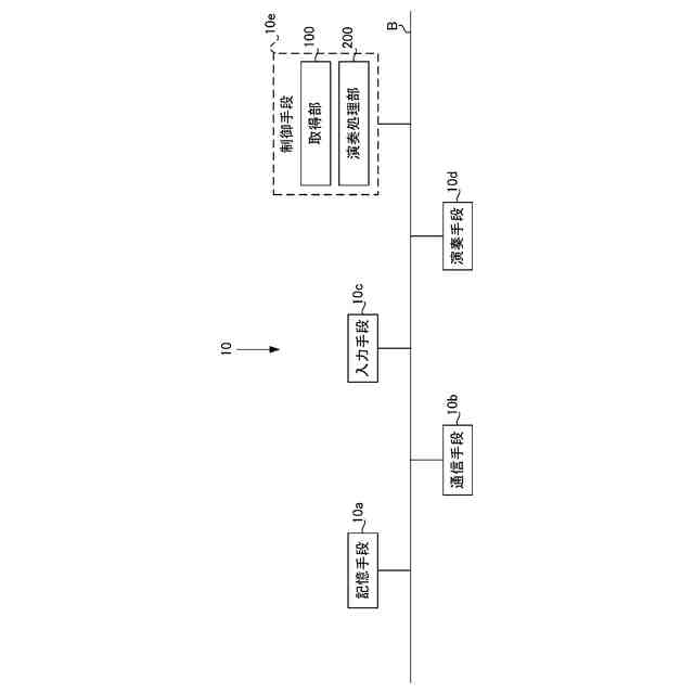
実施形態に係るカラオケシステムを示す図である。
実施形態に係るカラオケ装置を示す図である。
実施形態に係るカラオケ本体を示す図である。
実施形態に係るリファレンスデータを示す図である。
実施形態に係るカラオケ装置の処理を示すフローチャートである。
実施形態に係る推移データを示す図である。
実施形態に係る楽曲XのノートNo.、ノート毎の音高、発音開始時刻及び発音終了時刻を示す図である。
実施形態に係る禁歌唱条件を示す図である。
実施形態に係るカラオケ装置の処理を示すフローチャートである。
【発明を実施するための形態】
【0008】
<実施形態>
図1から図9を参照して、実施形態に係るカラオケ装置及びカラオケシステムについて説明する。
【0009】
==カラオケシステム==
カラオケシステムは、心拍数測定器と、サーバ装置と、カラオケ装置とを含む。心拍数測定器、サーバ装置、及びカラオケ装置は、それぞれ通信可能に接続されている。
【0010】
心拍数測定器は、利用者の心拍数を測定するための装置である。心拍数測定器は、利用者が所有するスマートウオッチのような携帯機器であってもよいし、カラオケ装置が設置されているカラオケルームに備え付けられた心拍計であってもよい。或いは、特開2005-134599号公報等に記載されているように、カラオケ装置のマイクが心拍数測定器の機能を有していてもよい。
(【0011】以降は省略されています)
この特許をJ-PlatPat(特許庁公式サイト)で参照する
関連特許
株式会社第一興商
カラオケ装置
29日前
株式会社第一興商
カラオケ装置
1か月前
株式会社第一興商
カラオケ装置、カラオケシステム
今日
株式会社第一興商
カラオケ装置、カラオケシステム
7日前
株式会社第一興商
カラオケ装置、カラオケシステム
23日前
個人
ギター
今日
個人
遮音材
28日前
個人
管楽器用リガチャ-
1か月前
個人
歌唱補助器具
1か月前
個人
音声出力装置
28日前
横浜ゴム株式会社
音響材
21日前
三井化学株式会社
防音構造体
1日前
三井化学株式会社
防音構造体
1日前
大和ハウス工業株式会社
音低減設備
1か月前
DIC株式会社
吸音材及び吸音部品
1か月前
個人
管楽器用音質改善留め具
15日前
NOK株式会社
吸音構造体
1か月前
株式会社SinasSP
自動騒音低減装置
1か月前
株式会社デンソー
音低減装置
今日
矢崎総業株式会社
車両用対話システム
29日前
横浜ゴム株式会社
多層空洞音響材
28日前
トヨタ自動車株式会社
判定装置
1か月前
株式会社第一興商
カラオケ装置
29日前
カシオ計算機株式会社
発音装置、発音方法及びプログラム
1か月前
株式会社第一興商
カラオケ装置
1か月前
日本軽金属株式会社
遮音壁
1か月前
ブラザー工業株式会社
カラオケ装置及びカラオケプログラム
1か月前
三井化学株式会社
防音構造体および自動車の防音構造
1日前
ヤマハ株式会社
鍵盤装置
8日前
シャープ株式会社
電子機器および電子機器の制御方法
1か月前
大建工業株式会社
吸音体及び音環境調整構造
1か月前
ブラザー工業株式会社
音声録音装置、及び、音声録音用プログラム
1か月前
ブラザー工業株式会社
カラオケ用プログラム、及び、カラオケ装置
1か月前
株式会社JVCケンウッド
収音装置、収音方法、およびプログラム
1か月前
有限会社ツバサ
エレキギターおよび保護フィルム付きの樹脂プレート
1か月前
ヤマハ株式会社
音処理装置及び音処理方法
15日前
続きを見る
他の特許を見る