TOP
|
特許
|
意匠
|
商標
特許ウォッチ
Twitter
他の特許を見る
10個以上の画像は省略されています。
公開番号
2025143015
公報種別
公開特許公報(A)
公開日
2025-10-01
出願番号
2024042684
出願日
2024-03-18
発明の名称
吸音装置及び音響メタマテリアル
出願人
株式会社東芝
代理人
弁理士法人鈴榮特許綜合事務所
主分類
G10K
11/172 20060101AFI20250924BHJP(楽器;音響)
要約
【課題】広い周波数帯域の音を吸音することができる吸音装置及び音響メタマテリアルを提供する。
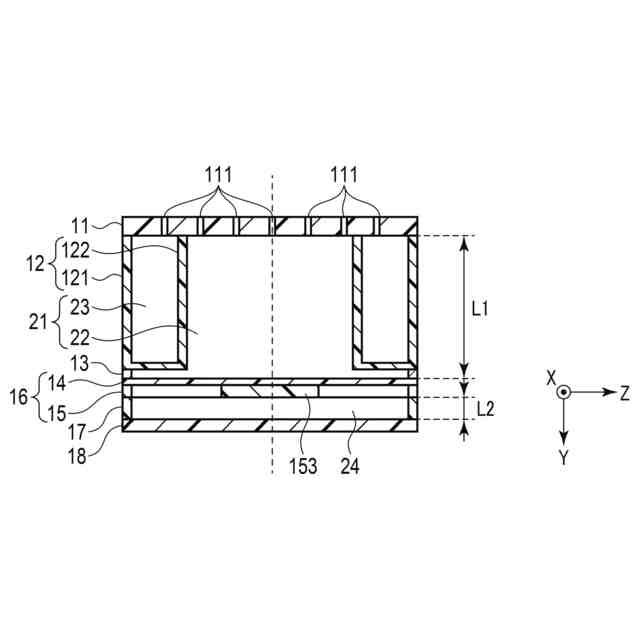
【解決手段】吸音装置は、音孔表面板11、振動体16、第1の枠部材12、背後板18及び第2の枠部材17を備える。表面板は、複数の音孔を有する。振動体は、表面板に対向する。第1の枠部材は、表面板及び振動体に接続され、表面板と振動体との間に第1の内部空間22、23を形成する。背後板は、振動体に対向する。第2の枠部材は、背後板及び振動体に接続され、背後板と振動体との間に第2の内部空間24を形成する。振動体は、膜14を備える。第1の枠部材は、第1の空間を分割する空間分割部材122を備え、部分空間23を形成する構造は、1自由度系のヘルムホルツ共鳴器として機能する。部分空間22及びだい2の内部空間24を形成する構造は、2自由度系のヘルムホルツ共鳴器として機能する。
【選択図】図4
特許請求の範囲
【請求項1】
複数の音孔を有する表面板と、
前記表面板に対向する振動体と、
前記表面板及び前記振動体に接続され、前記表面板と前記振動体との間に第1の空間を形成する第1の枠部材と、
前記振動体に対向する背後板と、
前記背後板及び前記振動体に接続され、前記背後板と前記振動体との間に第2の空間を形成する第2の枠部材と、
を備え、
前記振動体は、膜と、前記膜に取り付けられる第3の枠部材と、前記膜に取り付けられる中央部材と、前記第3の枠部材と前記中央部材を連結する連結部材と、を備え、
前記第1の枠部材は、前記第1の空間を分割する空間分割部材を備える、
吸音装置。
続きを表示(約 890 文字)
【請求項2】
前記振動体は、前記振動体が前記空間分割部材に接触することがないように、スペーサを介して前記第1の枠部材に接続される、
請求項1に記載の吸音装置。
【請求項3】
前記空間分割部材は、前記第1の空間を、第1の部分空間と前記振動体から隔離された第2の部分空間とに分割し、
前記第2の部分空間は、前記第1の部分空間を囲むように設けられる、
請求項1に記載の吸音装置。
【請求項4】
前記空間分割部材は、前記第1の空間を、第1の部分空間と前記振動体から隔離された第2の部分空間とに分割し、
前記第1の部分空間は、前記第2の部分空間を囲むように設けられる、
請求項1に記載の吸音装置。
【請求項5】
前記連結部材は、前記第3の枠部材に対して振動可能に前記中央部材を支持する、
請求項1に記載の吸音装置。
【請求項6】
前記第3の枠部材及び前記中央部材は前記膜の第1の領域に取り付けられ、
前記第1の領域とは異なる前記膜の第2の領域が振動することにより生じる吸音特性を利用して、前記音孔を通じて前記第1の空間に入射する音を低減する、
請求項1に記載の吸音装置。
【請求項7】
前記連結部材は前記膜に取り付けられる、
請求項1に記載の吸音装置。
【請求項8】
前記第3の枠部材、前記中央部材、及び前記連結部材により構成される支持部材は、第1の面及び前記第1の面と反対側の第2の面を有し、前記膜は、前記支持部材の前記第1の面側に設けられる第1の膜及び前記支持部材の前記第2の面側に設けられる第2の膜を備える、
請求項1に記載の吸音装置。
【請求項9】
前記中央部材は前記膜に接着される、
請求項1に記載の吸音装置。
【請求項10】
前記中央部材はマグネットを用いて前記膜に固定される、
請求項1に記載の吸音装置。
(【請求項11】以降は省略されています)
発明の詳細な説明
【技術分野】
【0001】
本発明の実施形態は、吸音装置及び音響メタマテリアルに関する。
続きを表示(約 2,300 文字)
【背景技術】
【0002】
一般的な吸音材は、コストが低く、薄く、吸音帯域が1kHz以上にてブロードであるというメリットを持つが、高温環境では使用できない、経年劣化が生じる、グラスウール系吸音材では環境負荷が大きい、低い周波数帯域に適用するには厚みが必要になるなどのデメリットがある。
【0003】
騒音などの音を低減させる吸音装置として、ヘルムホルツ共鳴器が知られている。ヘルムホルツ共鳴器は、内部空間が1個の音孔を介して外部空間と接続される容器である。ヘルムホルツ共鳴器は、音孔を介して入射した音によって内部空間で共鳴が発生することにより、共鳴周波数における入射音の振動エネルギーを減衰させることができる。ヘルムホルツ共鳴器は、1自由度系を有し、よって、単峰性の吸音特性を持つ。ヘルムホルツ共鳴器は、設計次第で低い周波数帯域に適用することが可能である。
【0004】
吸音特性を広帯域化させる観点から、2自由度系のヘルムホルツ共鳴器が提案されている。2自由度系のヘルムホルツ共鳴器は、内部空間を2つの空間に分離するように、1自由度系のヘルムホルツ共鳴器に弾性板を追加した構造を有する。弾性板が1自由度系を有し、ヘルムホルツ共鳴器が1自由度系を有し、ヘルムホルツ共鳴器と弾性板の連成により2自由度系となる。2自由度系のヘルムホルツ共鳴器は、吸音率ピークが2つに分離した吸音特性を持つ。2つの吸音率ピーク間には、谷特性(吸音率の落ち込み)が生じる。
【0005】
吸音装置においては、広い周波数帯域において吸音効果が得られることが求められている。
【先行技術文献】
【特許文献】
【0006】
特開2023-160087号公報
【発明の概要】
【発明が解決しようとする課題】
【0007】
本発明が解決しようとする課題は、広い周波数帯域の音を吸音することができる吸音装置及び音響メタマテリアルを提供することである。
【課題を解決するための手段】
【0008】
実施形態に係る吸音装置は、表面板、振動体、第1の枠部材、背後板、及び第2の枠部材を備える。表面板は、複数の音孔を有する。振動体は、表面板に対向する。第1の枠部材は、前記表面板及び前記振動体に接続され、前記表面板と前記振動体との間に第1の空間を形成する。背後板は、前記振動体に対向する。第2の枠部材は、前記背後板及び前記振動体に接続され、前記背後板と前記振動体との間に第2の空間を形成する。振動体は、膜と、前記膜に取り付けられる第3の枠部材と、前記膜に取り付けられる中央部材と、前記第3の枠部材と前記中央部材を連結する連結部材と、を備える。第1の枠部材は、前記第1の空間を分割する空間分割部材を備える。
【図面の簡単な説明】
【0009】
実施形態に係る吸音装置を示す斜視図。
実施形態に係る吸音装置を示す分解図。
実施形態に係る吸音装置を示す分解図。
実施形態に係る吸音装置を示す断面図。
実施形態に係る吸音装置の一部を示す斜視図。
実施形態に係る吸音装置の一部を示す斜視図。
実施形態に係る吸音装置の一部を示す平面図。
実施形態に係る支持部材を示す斜視図。
実施形態に係る支持部材を示す平面図。
第1実施例に係る吸音装置の一部を示す平面図。
第2実施例に係る吸音装置の一部を示す平面図。
第3実施例に係る吸音装置の一部を示す平面図。
第1比較例に係る吸音装置を示す断面図。
第2比較例に係る吸音装置を示す断面図。
第3比較例に係る吸音装置を示す断面図。
第1実施例に係る吸音装置の吸音性能を示す図。
第2実施例に係る吸音装置の吸音性能を示す図。
第3比較例に係る吸音装置について、第1実施例に係る吸音性能及び第2実施例に係る吸音性能を比較して示す図。
実施形態に係る吸音装置について、第1実施例に係る吸音性能及び第2実施例に係る吸音性能を比較して示す図。
第3実施例に係る吸音装置の吸音性能を示す図。
実施形態に係る吸音装置について、第1実施例に係る吸音性能及び第3実施例に係る吸音性能を比較して示す図。
実施形態に係る音響メタマテリアルを示す斜視図。
実施形態に係る吸音ユニットを示す斜視図。
実施形態に係る吸音ユニットを示す分解図。
実施形態に係る吸音ユニットの一部を示す斜視図。
実施形態に係る吸音ユニットの一部を示す斜視図。
実施形態に係る音響メタマテリアルを示す斜視図。
実施形態に係る吸音ユニットを示す斜視図。
実施形態に係る吸音ユニットの一部を示す斜視図。
図28に示した吸音ユニットの吸音特性を示す図。
図23に示した吸音ユニットの吸音特性と図28に示した吸音ユニットの吸音特性を併せて示す図。
実施形態に係る音響メタマテリアルを示す斜視図。
図32に示した吸音ユニットを示す斜視図。
図32に示した吸音ユニットを示す斜視図。
図32に示した吸音ユニットの一部を示す斜視図。
図32に示した吸音ユニットの一部を示す斜視図。
【発明を実施するための形態】
【0010】
以下、図面を参照しながら実施形態を説明する。
(【0011】以降は省略されています)
この特許をJ-PlatPat(特許庁公式サイト)で参照する
関連特許
株式会社東芝
端子台
8日前
株式会社東芝
モータ
1か月前
株式会社東芝
センサ
1か月前
株式会社東芝
センサ
1か月前
株式会社東芝
吸音装置
1か月前
株式会社東芝
電子回路
17日前
株式会社東芝
電子装置
21日前
株式会社東芝
金型構造
1か月前
株式会社東芝
除去装置
1日前
株式会社東芝
電子装置
1か月前
株式会社東芝
高周波回路
17日前
株式会社東芝
半導体装置
17日前
株式会社東芝
半導体装置
21日前
株式会社東芝
半導体装置
17日前
株式会社東芝
真空バルブ
16日前
株式会社東芝
半導体装置
23日前
株式会社東芝
半導体装置
23日前
株式会社東芝
半導体装置
24日前
株式会社東芝
半導体装置
23日前
株式会社東芝
半導体装置
17日前
株式会社東芝
半導体装置
1か月前
株式会社東芝
半導体装置
17日前
株式会社東芝
半導体装置
1か月前
株式会社東芝
半導体装置
1か月前
株式会社東芝
半導体装置
17日前
株式会社東芝
半導体装置
23日前
株式会社東芝
半導体装置
23日前
株式会社東芝
真空バルブ
22日前
株式会社東芝
半導体装置
22日前
株式会社東芝
半導体装置
1か月前
株式会社東芝
半導体装置
21日前
株式会社東芝
半導体装置
21日前
株式会社東芝
粒子加速器
1か月前
株式会社東芝
半導体装置
1か月前
株式会社東芝
半導体装置
1か月前
株式会社東芝
半導体装置
1か月前
続きを見る
他の特許を見る