TOP
|
特許
|
意匠
|
商標
特許ウォッチ
Twitter
他の特許を見る
公開番号
2025145050
公報種別
公開特許公報(A)
公開日
2025-10-03
出願番号
2024045025
出願日
2024-03-21
発明の名称
吸音シート
出願人
積水樹脂株式会社
,
積水樹脂プラメタル株式会社
代理人
主分類
G10K
11/168 20060101AFI20250926BHJP(楽器;音響)
要約
【課題】低周波数~高周波数の広域にわたって優れた吸音性能を示す吸音シートを提供する。
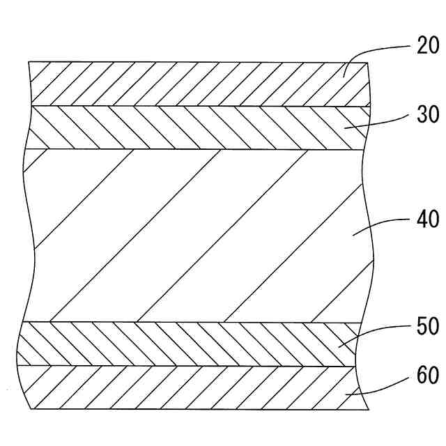
【解決手段】音源側に配置される通気性シート20と、前フィルム30と、吸音材40と、後フィルム50と、遮音シート60とを厚さ方向にこの順で配置された吸音シートであって、前フィルム30及び後フィルム50の厚さは3~22μmであり、吸音材40の厚さは15~25μmとなるように吸音シート10を構成することによって、周波数領域として1000~5000Hzの広域にわたって優れた吸音性能を示す。
【選択図】 図1
特許請求の範囲
【請求項1】
音源側に配置される通気性シートと、前フィルムと、吸音材と、後フィルムと、遮音シートとを厚さ方向にこの順で配置された吸音シートであって、
前記前フィルム及び後フィルムの厚さは3~22μmであり、
前記吸音材の厚さは15~25μmである
ことを特徴とする吸音シート。
続きを表示(約 150 文字)
【請求項2】
前記吸音材は、長さ方向と幅方向を有し、前フィルム側の前表面は、長さ方向又は幅方向に対して、所定の間隔をあけて凹部と凸部が形成されており、該吸音材の後フィルム側の後表面にも、所定の間隔をあけて凹部と凸部が形成されている
ことを特徴とする請求項1に記載の吸音シート。
発明の詳細な説明
【技術分野】
【0001】
本発明は、鉄道や道路での工事の際に発生する騒音を吸音する吸音シートに関する。
続きを表示(約 1,400 文字)
【背景技術】
【0002】
鉄道や道路で工事は、通常工事期間が決められており、工事中に発生する騒音に対する防音施設は工事期間中のみ設置するものであるため、工事中であっても工事場所が移動すれば、それに応じて防音施設も移動させる必要があり、工事が終われば解体して、保管場所に保管したり、他の工事に利用するために運搬したりする。そのため、一般的な防音パネル、例えば、金属製の箱体内に吸音材を配置したものは、このような仮設の防音施設への利用は不向きである。そこで仮設の防音施設のための防音シートとして、防音材を布地、織物、樹脂フィルム等を組み合わせて被覆したものが用いられている。
【0003】
このような防音シートは、折り畳み、巻き取りが可能なため運搬しやすく、また、防音シートの角部や周縁部に鳩目を設けておけば、工事現場に仮設した支柱などに掛止するだけで利用することができる。
【0004】
例えば、特許文献1には、「保護材1と遮音材3との間に吸音材2が挿入されており、保護材1は通気性及び耐水性を有し、吸音材2は薄い樹脂フィルム21により被覆され、遮音材3は合成樹脂製シートとなされ、保護材1及び遮音材3の周縁部が縫着一体化され、さらに周緑部内の適宜個所において保護材1、吸音材2及び遮音材3が挟着されてなる防音シート」が本出願人により提案されている。
【先行技術文献】
【特許文献】
【0005】
実公昭57―19760号公報
【発明の概要】
【発明が解決しようとする課題】
【0006】
特許文献1に示される防音シートは、保護材1は通気性を有しつつ防水加工を施すことにより、内部に雨水等が侵入しづらくしており、樹脂フィルムは遮音材3で用いられるグラスウールやロックウールが外に出ないようにしたものである。これにより、屋外で使用しても雨水等で吸音材が湿って吸音効果が低下することを防ぐことができる。
【0007】
ところで、樹脂フィルムとしては、特許文献1に記載のように、薄い方が吸音効果を発現し易くなるが、破れやすくなってしまう。
【課題を解決するための手段】
【0008】
本発明者らは上記課題を解決するために、吸音材の構成について鋭意研究を行った。その結果、樹脂フィルムを所定の厚さとし、かつ、吸音材を所定の厚さとすることによって、低周波数~高周波数の広域にわたって優れた吸音性能を示すことを見出し、本発明の完成に至った。
【0009】
すなわち、本発明に係る吸音シートは、音源側に配置される通気性シートと、前フィルムと、吸音材と、後フィルムと、遮音シートとを厚さ方向にこの順で配置された吸音シートであって、前記前フィルム及び後フィルムの厚さは、3~22μmであり、前記吸音材の厚さは15~25μmであることを特徴とするものである。
【0010】
本発明において、前記吸音材は、長さ方向と幅方向を有し、前フィルム側の前表面は、長さ方向又は幅方向に対して、所定の間隔をあけて凹部と凸部が交互形成されており、該吸音材の後フィルム側の後表面にも、所定の間隔をあけて凹部と凸部が交互形成されていることが好ましい。
【発明の効果】
(【0011】以降は省略されています)
この特許をJ-PlatPat(特許庁公式サイト)で参照する
関連特許
積水樹脂株式会社
ストレッチフィルム包装方法及びストレッチフィルム包装機
4日前
個人
木管楽器
19日前
個人
管楽器用リガチャ-
5日前
本田技研工業株式会社
車室環境制御装置
23日前
株式会社SinasSP
自動騒音低減装置
10日前
株式会社第一興商
カラオケ装置
23日前
日本軽金属株式会社
遮音壁
17日前
株式会社第一興商
カラオケ装置
17日前
カシオ計算機株式会社
発音装置、発音方法及びプログラム
12日前
トヨタ自動車株式会社
判定装置
12日前
日本電気株式会社
放送用システムおよび字幕作成方法
19日前
ブラザー工業株式会社
カラオケ装置及びカラオケプログラム
17日前
シャープ株式会社
電子機器および電子機器の制御方法
17日前
カシオ計算機株式会社
電子鍵盤楽器
23日前
ブラザー工業株式会社
音声録音装置、及び、音声録音用プログラム
16日前
株式会社JVCケンウッド
収音装置、収音方法、およびプログラム
12日前
大建工業株式会社
吸音体及び音環境調整構造
12日前
ブラザー工業株式会社
カラオケ用プログラム、及び、カラオケ装置
16日前
カシオ計算機株式会社
電子楽器、電子楽器の制御方法及びプログラム
23日前
有限会社ツバサ
エレキギターおよび保護フィルム付きの樹脂プレート
10日前
株式会社河合楽器製作所
鍵盤楽器の鍵盤装置
18日前
トヨタ自動車株式会社
運転者認知機能改善システム
23日前
株式会社河合楽器製作所
鍵盤楽器の鍵盤装置
18日前
株式会社NTTドコモ
情報処理装置及び情報処理方法
17日前
株式会社リコー
対話装置、対話システム、対話方法及びプログラム
16日前
株式会社SUBARU
乗物用遮音構造体、及び車両
9日前
株式会社河合楽器製作所
鍵盤楽器の楽音制御装置
18日前
株式会社河合楽器製作所
鍵盤楽器の楽音制御方法
18日前
株式会社河合楽器製作所
鍵盤楽器の楽音制御方法
18日前
本田技研工業株式会社
能動型振動騒音低減装置
17日前
本田技研工業株式会社
能動型振動騒音低減装置
17日前
大阪瓦斯株式会社
音声情報出力システムおよび音声情報出力装置
17日前
本田技研工業株式会社
能動型振動騒音制御装置
16日前
本田技研工業株式会社
能動型振動騒音制御装置
16日前
株式会社プレシジョン
プログラム、情報処理装置及び方法
23日前
カシオ計算機株式会社
情報処理装置、方法およびプログラム
23日前
続きを見る
他の特許を見る