TOP
|
特許
|
意匠
|
商標
特許ウォッチ
Twitter
他の特許を見る
10個以上の画像は省略されています。
公開番号
2025148985
公報種別
公開特許公報(A)
公開日
2025-10-08
出願番号
2024049395
出願日
2024-03-26
発明の名称
鍵盤楽器の楽音制御方法
出願人
株式会社河合楽器製作所
代理人
個人
,
個人
,
個人
,
個人
,
個人
主分類
G10H
1/053 20060101AFI20251001BHJP(楽器;音響)
要約
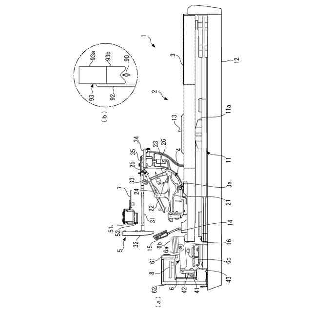
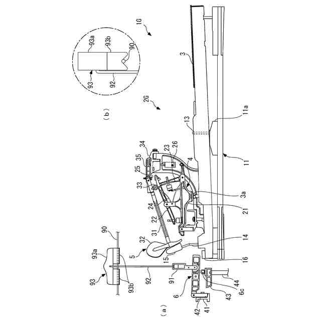
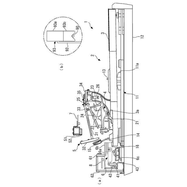
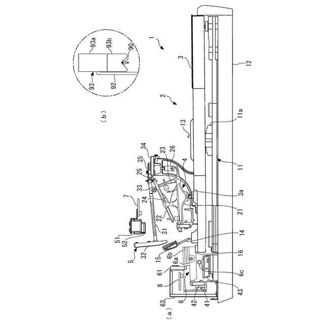
【課題】グランドピアノの演奏時と同様の発音を実現することができ、特に発音された楽音と弦共鳴の関係を有する楽音による共鳴音を良好に制御することができる鍵盤楽器の楽音制御方法を提供する。
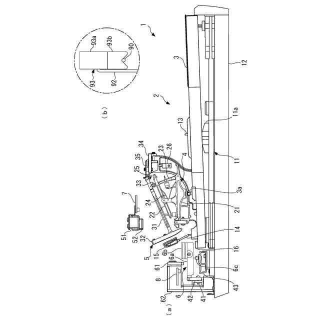
【解決手段】押鍵に伴って回動するハンマー5の回動位置及び回動速度、並びに押鍵に伴って回動するダンパーレバー6の所定部位の高さであるダンパー高さに基づき、押鍵された鍵3に対応する楽音の出力を制御する鍵盤楽器1の楽音制御方法であって、ハンマー5の回動位置及び回動速度に基づき、楽音の出力を制御するとともに、楽音と弦共鳴の関係を有しかつ押鍵された鍵3よりも先に押鍵された他の鍵3Rに対応するダンパー高さに基づき、他の鍵3Rに対応する楽音である共鳴音の出力を制御する。
【選択図】図1
特許請求の範囲
【請求項1】
押鍵に伴って回動するハンマーの回動位置及び回動速度、並びに押鍵に伴って回動するダンパーレバーの所定部位の高さであるダンパー高さに基づき、押鍵された鍵に対応する楽音の出力を制御する鍵盤楽器の楽音制御方法であって、
前記ハンマーの回動位置及び回動速度に基づき、前記楽音の出力を制御するとともに、当該楽音と弦共鳴の関係を有しかつ前記押鍵された鍵よりも先に押鍵された他の鍵に対応する前記ダンパー高さに基づき、前記他の鍵に対応する楽音である共鳴音の出力を制御することを特徴とする鍵盤楽器の楽音制御方法。
続きを表示(約 310 文字)
【請求項2】
前記ダンパー高さとして、ダンパーが弦を係止する高さに相当する第1高さと、当該第1高さよりも高くかつダンパーが弦に接触し始める高さに相当する第2高さとが設定されており、
前記他の鍵に対応する前記ダンパー高さが前記第2高さよりも高いときに、前記共鳴音を、共鳴音として最大の音量になるように制御することを特徴とする請求項1に記載の鍵盤楽器の楽音制御方法。
【請求項3】
前記他の鍵に対応する前記ダンパー高さが前記第2高さと前記第1高さとの間に位置するときに、当該ダンパー高さが高いほど、前記共鳴音を音量が大きくなるように制御することを特徴とする請求項2に記載の鍵盤楽器の楽音制御方法。
発明の詳細な説明
【技術分野】
【0001】
本発明は、電子ピアノなどの鍵盤楽器に適用され、発音すべき楽音の出力を制御することにより、グランドピアノの演奏時と同様の発音を実現し、特に発音された楽音と弦共鳴の関係を有する楽音による共鳴音を制御する鍵盤楽器の楽音制御方法に関する。
続きを表示(約 2,000 文字)
【背景技術】
【0002】
従来、アコースティックのグランドピアノが備えるアクションと同様のアクションを備えた電子ピアノとして、例えば特許文献1に記載されたものが知られている。この電子ピアノは、前後方向に延び、長さ方向の中央付近を支点として揺動自在の鍵と、鍵の上面後部に載置され、押鍵に応じて所定動作を実行するアクションと、押鍵によりアクションを介して上方に回動駆動されるハンマーと、鍵の後端付近に設けられた疑似ダンパーレバーと、その疑似ダンパーレバーを押し上げる際に踏み込み操作されるダンパーペダルなどを備えている。また、上記の電子ピアノは、複数のセンサと、それらのセンサの検出結果に基づいて、電子ピアノから発音される楽音を制御する制御部とを備えている。
【0003】
上記の複数のセンサは、ハンマーの回動速度を検出するハンマーセンサ、押鍵された鍵及びその下降速度を検出する鍵センサ、並びにダンパーペダルが踏み込まれたことを検出するダンパーペダルセンサなどを有している。上記の電子ピアノでは、演奏時に鍵が押鍵されると、制御部により、上記のハンマーセンサ、鍵センサ及びダンパーペダルセンサなどの検出結果に基づいて、所定処理が実行されるとともに、駆動信号が生成される。そして、生成された駆動信号が響板駆動ユニットに出力されることにより、押鍵された鍵に対応する楽音が発音される。
【先行技術文献】
【特許文献】
【0004】
特開平5-158467号公報
【発明の概要】
【発明が解決しようとする課題】
【0005】
上記の電子ピアノでは、グランドピアノと同様のアクション及び疑似ダンパーレバーを備えているので、グランドピアノの演奏時に近似したタッチ感を得ることが可能である。しかし、この電子ピアノでは、発音に不具合が生じたり、発音の一部がグランドピアノのそれと異なったりしまうことがある。
【0006】
例えば、弱打による押鍵時に、ハンマーがアクションのレペティションレバー上でバウンドすると、ハンマーセンサにより、打弦と誤検知されることで、意図せずに発音され、結果として、押鍵された鍵が2度発音される、いわゆる弱打の二度打ちが生じることがある。また、強打による押鍵時に、ハンマーが上方に勢いよく回動してストッパに当たった後、その反動で下方に回動し過ぎてしまうと、ハンマーセンサにより、離鍵したと誤検知されることで、意図せずに発音が直ちに止音される、いわゆる強打の音切れを生じてしまうことがある。
【0007】
また、グランドピアノでは通常、鍵が押鍵されることにより、ダンパーレバーを介してダンパーが上昇して弦を解放するとともに、その弦をハンマーが下方から打弦し、それにより、弦が振動することによって楽音が発生する。そして、押鍵された鍵が離鍵されることにより、弦を解放していたダンパーが下降して弦を押さえ、それにより、発生していた楽音が止音される。この場合、弦に対するダンパーの位置関係、具体的にはダンパーが弦を押さえる度合によっては、楽音が止音する際に、多様な減衰が得られる。これに対し、上記の電子ピアノでは、ダンパーに関して、ダンパーペダルの踏み込みの状態が検出されるようになっているものの、ダンパーペダルが踏み込まれていない状態では、発生した楽音の止音制御が画一的なものになってしまう。
【0008】
さらに、グランドピアノでは、上述したように、押鍵された鍵に対応する弦が振動することによって楽音が発生する。この場合、振動する弦と弦共鳴の関係を有する、他の鍵に対応する弦が共鳴し、その弦による楽音が共鳴音として発生する。これにより、押鍵された鍵に対応する楽音の音色が豊かなものとなる。これに対し、上記の電子ピアノでは、ダンパーペダルが踏み込まれている場合に共鳴音を発生させているものの、ダンパーペダルが踏み込まれていない状態では、共鳴音が発生しないようになっている。
【0009】
以上のように、従来の電子ピアノでは、グランドピアノと同様の楽音を得ることができず、特に楽音の共鳴について、グランドピアノを演奏する場合のような自然な楽音の豊かな音色や響きを得ることができない。
【0010】
本発明は、以上のような課題を解決するためになされたものであり、グランドピアノの演奏時と同様の発音を実現することができ、特に発音された楽音と弦共鳴の関係を有する楽音による共鳴音を良好に制御することができる鍵盤楽器の楽音制御方法を提供することを目的とする。
【課題を解決するための手段】
(【0011】以降は省略されています)
この特許をJ-PlatPat(特許庁公式サイト)で参照する
関連特許
個人
遮音材
今日
個人
歌唱補助器具
9日前
個人
管楽器用リガチャ-
17日前
個人
音声出力装置
今日
大和ハウス工業株式会社
音低減設備
10日前
DIC株式会社
吸音材及び吸音部品
11日前
NOK株式会社
吸音構造体
2日前
株式会社SinasSP
自動騒音低減装置
22日前
横浜ゴム株式会社
多層空洞音響材
今日
矢崎総業株式会社
車両用対話システム
1日前
カシオ計算機株式会社
発音装置、発音方法及びプログラム
24日前
株式会社第一興商
カラオケ装置
29日前
株式会社第一興商
カラオケ装置
1日前
日本軽金属株式会社
遮音壁
29日前
トヨタ自動車株式会社
判定装置
24日前
ブラザー工業株式会社
カラオケ装置及びカラオケプログラム
29日前
シャープ株式会社
電子機器および電子機器の制御方法
29日前
大建工業株式会社
吸音体及び音環境調整構造
24日前
株式会社JVCケンウッド
収音装置、収音方法、およびプログラム
24日前
ブラザー工業株式会社
カラオケ用プログラム、及び、カラオケ装置
28日前
ブラザー工業株式会社
音声録音装置、及び、音声録音用プログラム
28日前
有限会社ツバサ
エレキギターおよび保護フィルム付きの樹脂プレート
22日前
有限会社 宮脇工房
モーター挙動音発生装置
9日前
株式会社リコー
対話装置、対話システム、対話方法及びプログラム
28日前
株式会社NTTドコモ
情報処理装置及び情報処理方法
29日前
株式会社SUBARU
乗物用遮音構造体、及び車両
21日前
本田技研工業株式会社
能動型振動騒音制御装置
28日前
本田技研工業株式会社
能動型振動騒音制御装置
28日前
本田技研工業株式会社
能動型振動騒音低減装置
29日前
本田技研工業株式会社
能動型振動騒音低減装置
29日前
大阪瓦斯株式会社
音声情報出力システムおよび音声情報出力装置
29日前
株式会社コルグ
楽音信号変換装置、楽音信号変換方法、プログラム
3日前
カシオ計算機株式会社
情報処理装置、方法およびプログラム
24日前
株式会社クラウン・パッケージ
音発生具及び音発生具を形成するブランクシート
28日前
固昌通訊股ふん有限公司
音響調整装置
14日前
株式会社東芝
発話言語理解のためのシステムおよび方法
15日前
続きを見る
他の特許を見る