TOP
|
特許
|
意匠
|
商標
特許ウォッチ
Twitter
他の特許を見る
10個以上の画像は省略されています。
公開番号
2025147254
公報種別
公開特許公報(A)
公開日
2025-10-07
出願番号
2024047437
出願日
2024-03-25
発明の名称
放送用システムおよび字幕作成方法
出願人
日本電気株式会社
代理人
個人
,
個人
主分類
G10L
15/06 20130101AFI20250930BHJP(楽器;音響)
要約
【課題】生放送と収録放送との双方に対応でき、番組の種別に応じて適切な字幕を生成できる放送用システムおよび字幕作成方法を提供する。
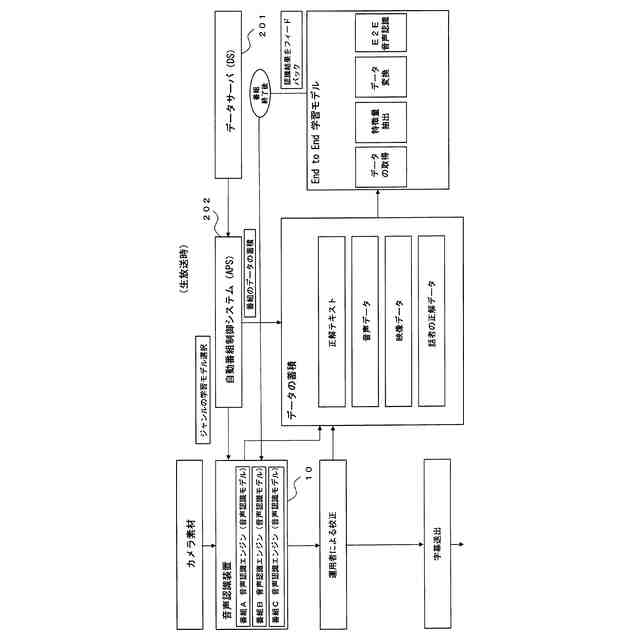
【解決手段】放送用システム100は、番組の特徴に応じた複数のエンドツーエンド音声認識モデルを有し、いずれかのエンドツーエンド音声認識モデルを使用して番組における話者の音声を認識する音声認識手段101と、音声認識手段101の認識結果に基づくテキストデータが校正されたテキストデータを、字幕として出力するとともに、字幕の正解データとして音声認識手段に出力するフィードバック手段102とを備え、エンドツーエンド音声認識モデルは、テキストデータを正解データとして学習を行う。
【選択図】図11
特許請求の範囲
【請求項1】
番組における話者の音声に対応する字幕を生成する機能を有する放送用システムであって、
番組の特徴に応じた複数のエンドツーエンド音声認識モデルを有し、いずれかのエンドツーエンド音声認識モデルを使用して番組における話者の音声を認識する音声認識手段と、
前記音声認識手段の認識結果に基づくテキストデータが校正されたテキストデータを、字幕として出力するとともに、字幕の正解データとして前記音声認識手段に出力するフィードバック手段とを備え、
前記エンドツーエンド音声認識モデルは、前記テキストデータを正解データとして学習を行う
放送用システム。
続きを表示(約 1,100 文字)
【請求項2】
少なくとも、生放送素材の音声データと前記正解データとを記憶する記憶手段を備える
請求項1に記載の放送用システム。
【請求項3】
番組スケジュールおよび収録素材を含むデータを送出する自動番組制御装置を含み、
前記音声認識手段は、前記データに基づいて、使用する音声認識モデルを特定する
請求項1に記載の放送用システム。
【請求項4】
少なくとも、前記自動番組制御装置から入力した音声データと前記正解データとを記憶する記憶手段を備える
請求項3に記載の放送用システム。
【請求項5】
番組における話者を特定して話者を示す話者データを出力する話者認識モデルを有する話者認識手段を備え、
前記フィードバック手段は、校正された前記話者データを前記話者認識手段に出力し、
前記話者認識モデルは、校正された前記話者データを正解データとして学習を行う
請求項1から請求項4のうちのいずれか1項に記載の放送用システム。
【請求項6】
生放送素材または収録素材の映像データから話者を特定する画像認識手段を備える
請求項1から請求項4のうちのいずれか1項に記載の放送用システム。
【請求項7】
番組における話者の音声に対応する字幕を生成する字幕作成方法であって、
番組の特徴に応じた複数のエンドツーエンド音声認識モデルのうちのいずれかの音声認識モデルを使用して番組における話者の音声を認識し、
認識結果に基づくテキストデータが校正されたテキストデータを、字幕として出力するとともに、字幕の正解データとして前記音声認識モデルにフィードバックし、
前記エンドツーエンド音声認識モデルが、前記テキストデータを正解データとして学習を行う
字幕作成方法。
【請求項8】
番組スケジュールおよび収録素材を含むデータを送出する自動番組制御装置からデータを入力し、
前記データに基づいて、使用する音声認識モデルを特定する
請求項7に記載の字幕作成方法。
【請求項9】
コンピュータに、
番組の特徴に応じた複数のエンドツーエンド音声認識モデルのうちのいずれかの音声認識モデルを使用して番組における話者の音声を認識させ、
認識結果に基づくテキストデータが校正されたテキストデータを、字幕として出力するとともに、字幕の正解データとして前記音声認識モデルにフィードバックさせ、
前記エンドツーエンド音声認識モデルに、前記テキストデータを正解データとして学習させる
ための字幕作成プログラム。
発明の詳細な説明
【技術分野】
【0001】
本開示は、放送用システムおよび字幕作成方法に関する。
続きを表示(約 1,200 文字)
【背景技術】
【0002】
テレビジョン(以下、テレビという。)番組の映像に、番組における話者の音声に対応する字幕を重ねて表示する字幕放送が実現されている。字幕放送は、例えば、テレビ番組の音が聞き取りにくい高齢者や聴覚障害者のために有用である。生放送の番組にリアルタイムで字幕を付与して放送を行う字幕放送が実現されている。
【0003】
特許文献1には、音声認識を活用して字幕を生成することが記載されている。特許文献1には、音声認識での認識誤りを修正するために、誤りをリアルタイムで修正する1名または数名のオペレータを音声認識装置の後段に配置することが記載されている。そして、特許文献1には、人手で誤りを修正したテキストを字幕放送として送出することが記載されている。
【0004】
また、特許文献1には、あらかじめ設定された音響モデル、言語モデル、および発音辞書を用いて、候補単語のネットワークからなる単語ラティスを生成することが記載されている。特許文献1には、さらに、誤りが修正されたテキストを音声認識装置にフィードバックすることが記載されている。
【0005】
特許文献2には、音声認識を行う音声認識デコーダを最新モデルのものに切り替えて、常に最新モデルを用いて高精度な音声認識を連続して実現することが記載されている。
【0006】
特許文献3には、ニュース番組、スポーツ番組、情報番組等のジャンル別の音声言語コーパス(それぞれ、特定の番組の音声言語コーパス)を有し、番組に応じて特定の番組の音声言語コーパスを選択して音響モデルに学習を行わせる装置が記載されている。
【先行技術文献】
【特許文献】
【0007】
特開2011-197410号公報
特開2010-54685号公報
特開2017-45027号公報
【発明の概要】
【発明が解決しようとする課題】
【0008】
特許文献1,2に記載された音声認識装置を含むシステムは、字幕放送中に、できるだけ正確な字幕を表示することを目的としている。したがって、収録素材を用いる収録放送に適用することには適さない。
【0009】
また、特許文献3に記載された装置は、音声言語コーパスを使い分けているが、基本的には、1つの音響モデルを使用している。その結果、ジャンル別の適切な字幕を生成することに対して十分に適応できているとは言い難い。
【0010】
本発明は、生放送と収録放送との双方に対応でき、番組の種別に応じて適切な字幕を生成できる放送用システムおよび字幕作成方法を提供することを目的とする。
【課題を解決するための手段】
(【0011】以降は省略されています)
この特許をJ-PlatPat(特許庁公式サイト)で参照する
関連特許
日本電気株式会社
光モジュール
10日前
日本電気株式会社
推論装置および推論方法
2日前
日本電気株式会社
時刻維持装置および時刻維持方法
1日前
日本電気株式会社
考査装置、考査方法、プログラム
3日前
日本電気株式会社
考査装置、考査方法、プログラム
3日前
日本電気株式会社
交渉装置、交渉方法及びプログラム
10日前
日本電気株式会社
監視装置、監視方法、及びプログラム
今日
日本電気株式会社
店舗端末、情報処理方法、及びプログラム
2日前
日本電気株式会社
情報処理装置、情報処理方法、プログラム
2日前
日本電気株式会社
経路選択装置、経路選択方法及びプログラム
今日
日本電気株式会社
合意判定装置、合意判定方法及びプログラム
8日前
日本電気株式会社
視聴支援装置、視聴支援方法及びプログラム
8日前
日本電気株式会社
健康管理装置、健康管理方法及びプログラム
10日前
日本電気株式会社
情報処理装置、分析方法、及び分析プログラム
8日前
日本電気株式会社
情報処理装置、情報処理方法、及びプログラム
8日前
日本電気株式会社
学習装置、利用装置、学習方法及びプログラム
今日
日本電気株式会社
画像生成装置、画像生成方法、及びプログラム
8日前
日本電気株式会社
情報処理装置、情報処理方法、及びプログラム
1日前
日本電気株式会社
情報処理装置、情報処理方法、及びプログラム
1日前
日本電気株式会社
情報処理装置、情報処理方法、及びプログラム
1日前
日本電気株式会社
情報処理装置、情報処理方法、及びプログラム
1日前
日本電気株式会社
情報処理装置、情報処理方法、及びプログラム
1日前
日本電気株式会社
情報処理装置、情報処理方法、及びプログラム
1日前
日本電気株式会社
情報処理装置、情報処理方法、及びプログラム
1日前
日本電気株式会社
情報処理装置、情報処理方法、及びプログラム
1日前
日本電気株式会社
情報出力システム、情報出力方法及びプログラム
1日前
日本電気株式会社
検査装置、判定装置、判定方法、及びプログラム
2日前
日本電気株式会社
サーバ装置、サーバ装置の制御方法及びプログラム
今日
日本電気株式会社
サーバ装置、サーバ装置の制御方法及びプログラム
2日前
日本電気株式会社
飛行体監視システム、飛行体監視方法及びプログラム
1日前
日本電気株式会社
中間言語生成装置、中間言語生成方法及びプログラム
1日前
日本電気株式会社
制御装置、制御システム、制御方法、及びプログラム
11日前
日本電気株式会社
情報処理装置、情報処理方法、及び、制御プログラム
11日前
日本電気株式会社
中間言語生成装置、中間言語生成方法及びプログラム
1日前
日本電気株式会社
情報処理装置、回答生成方法、及び回答生成プログラム
11日前
日本電気株式会社
造形管理装置、造形管理方法および造形管理プログラム
1日前
続きを見る
他の特許を見る