TOP
|
特許
|
意匠
|
商標
特許ウォッチ
Twitter
他の特許を見る
10個以上の画像は省略されています。
公開番号
2025162747
公報種別
公開特許公報(A)
公開日
2025-10-28
出願番号
2024066148
出願日
2024-04-16
発明の名称
交渉装置、交渉方法及びプログラム
出願人
日本電気株式会社
代理人
個人
,
個人
,
個人
主分類
G06Q
30/06 20230101AFI20251021BHJP(計算;計数)
要約
【課題】環境を考慮した交渉を行うことが可能な交渉装置、交渉方法及びプログラムを提供する。
【解決手段】交渉装置1Xは、主に、環境負荷算出手段35Xと、候補案生成手段30Xと、を有する。環境負荷算出手段35Xは、第1交渉主体が第2交渉主体と交渉する注文に関する環境負荷を算出する。候補案生成手段30Xは、環境負荷に基づき、注文に関する合意候補案を生成する。
【選択図】図9
特許請求の範囲
【請求項1】
第1交渉主体が第2交渉主体と交渉する注文に関する環境負荷を算出する環境負荷算出手段と、
前記環境負荷に基づき、前記注文に関する合意候補案を生成する候補案生成手段と、
を有する交渉装置。
続きを表示(約 1,000 文字)
【請求項2】
前記環境負荷算出手段は、部品に関する部品情報と、前記部品の環境負荷に関する環境負荷情報と、に基づき、前記注文の対象となる商品を構成する部品ごとの環境負荷を特定し、前記部品ごとの環境負荷の総和に基づき、前記注文に関する環境負荷を算出する、請求項1に記載の交渉装置。
【請求項3】
前記合意候補案を、前記環境負荷を示す指標値を明示した態様により前記第2交渉主体に通知する候補案通知手段をさらに有する、請求項1に記載の交渉装置。
【請求項4】
前記合意候補案は、少なくとも輸送手段を指定する条件を含み、
前記環境負荷算出手段は、前記輸送手段に応じた環境負荷を算出する、請求項1に記載の交渉装置。
【請求項5】
前記第2交渉主体から前記合意候補案と異なる他の合意候補案が供給された場合に、前記他の合意候補案の環境負荷に基づき、前記他の合意候補案に同意するか否か判定する判定手段をさらに有する、請求項1に記載の交渉装置。
【請求項6】
前記環境負荷算出手段は、前記他の合意候補案の環境負荷を算出し、
前記判定手段は、算出された前記他の合意候補案の環境負荷に基づき、前記他の合意候補案に同意するか否か判定する、請求項5に記載の交渉装置。
【請求項7】
前記候補案生成手段は、前記注文に関する複数の合意候補案の各々の効用を、前記複数の合意候補案の各々の環境負荷に基づき算出し、前記複数の合意候補案から前記効用に基づき前記第2交渉主体に通知する前記合意候補案を決定する、請求項1に記載の交渉装置。
【請求項8】
前記候補案生成手段は、前記合意候補案の環境負荷が所定の閾値よりも高い場合、当該合意候補案を前記第2交渉主体に通知する対象から除外する、請求項1に記載の交渉装置。
【請求項9】
コンピュータが、
第1交渉主体が第2交渉主体と交渉する注文に関する環境負荷を算出し、
前記環境負荷に基づき、前記注文に関する合意候補案を生成する、
交渉方法。
【請求項10】
第1交渉主体が第2交渉主体と交渉する注文に関する環境負荷を算出し、
前記環境負荷に基づき、前記注文に関する合意候補案を生成する処理をコンピュータに実行させるプログラム。
発明の詳細な説明
【技術分野】
【0001】
本開示は、交渉装置、交渉方法及びプログラムの技術分野に関する。
続きを表示(約 1,200 文字)
【背景技術】
【0002】
発注側と受注側との条件調整に関する交渉を自動で行うシステムが知られている。例えば、特許文献1には、想定される発注側からの注文に応じた交渉候補を予め記憶しておき、発注側から受信した交渉条件に対して効用の大きい交渉候補から優先して発注側に送信する自動交渉システムが開示されている。
【先行技術文献】
【特許文献】
【0003】
国際公開WO2021/024414
【発明の概要】
【発明が解決しようとする課題】
【0004】
一般的に、注文の対象となる商品の生産過程や輸送過程などにおいて環境に負荷が生じるため、環境問題を重視する交渉主体などにとっては、環境への影響を考慮して注文に関する交渉を行いたいという需要が存在する。
【0005】
本開示の目的の一つは、上述した課題を鑑み、環境を考慮した交渉を行うことが可能な交渉装置、交渉方法及びプログラムを提供することである。
【課題を解決するための手段】
【0006】
交渉装置の一の態様は、
第1交渉主体が第2交渉主体と交渉する注文に関する環境負荷を算出する環境負荷算出手段と、
前記環境負荷に基づき、前記注文に関する合意候補案を生成する候補案生成手段と、
を有する交渉装置である。
【0007】
交渉方法の一の態様は、
コンピュータが、
第1交渉主体が第2交渉主体と交渉する注文に関する環境負荷を算出し、
前記環境負荷に基づき、前記注文に関する合意候補案を生成する、
交渉方法である。
【0008】
プログラムの一の態様は、
第1交渉主体が第2交渉主体と交渉する注文に関する環境負荷を算出し、
前記環境負荷に基づき、前記注文に関する合意候補案を生成する処理をコンピュータに実行させるプログラムである。
【発明の効果】
【0009】
本開示による効果の一例では、環境を考慮した交渉を行うことが可能となる。
【図面の簡単な説明】
【0010】
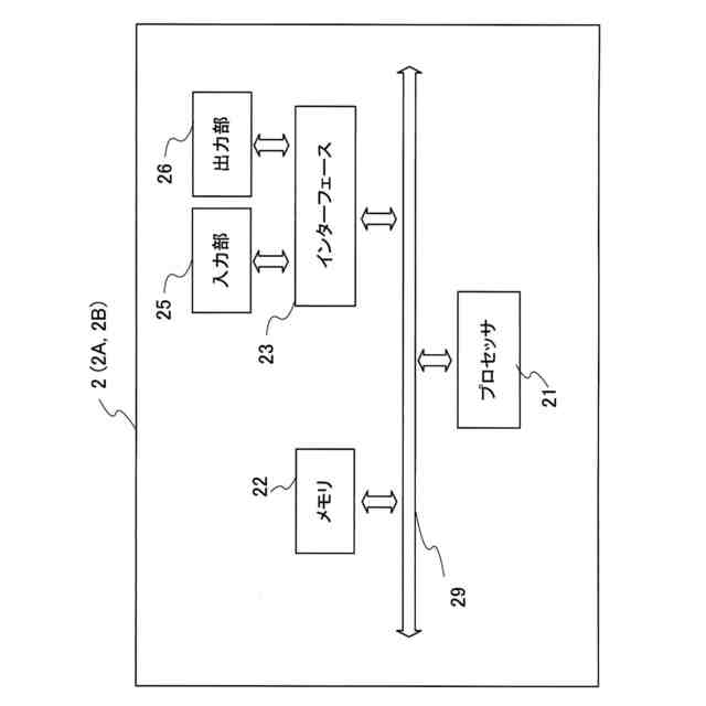
交渉システムの構成を示す。
プラットフォーム提供装置のハードウェア構成を示す。
端末装置のハードウェア構成を示す。
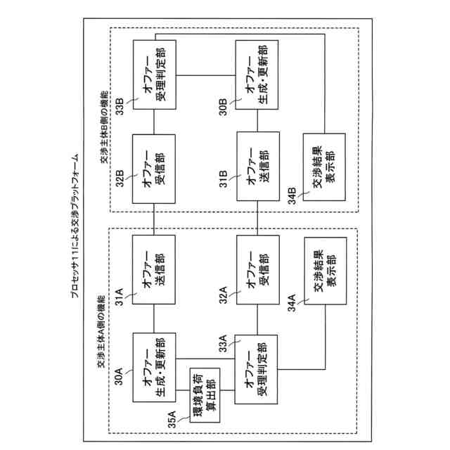
交渉プラットフォームにおける機能ブロックの一例である。
交渉主体による入力前のオファー編集画面の一例である。
交渉主体による入力後のオファー編集画面の一例である。
プラットフォーム提供装置が実行するフローチャートの一例である。
交渉システムの構成を示す。
交渉装置の機能ブロック図である。
交渉装置の処理手順を示すフローチャートの一例である。
【発明を実施するための形態】
(【0011】以降は省略されています)
この特許をJ-PlatPat(特許庁公式サイト)で参照する
関連特許
日本電気株式会社
管理装置
1か月前
日本電気株式会社
監視装置
1か月前
日本電気株式会社
監視装置
1か月前
日本電気株式会社
海底分岐装置
1か月前
日本電気株式会社
光モジュール
22日前
日本電気株式会社
異常検知装置
27日前
日本電気株式会社
光集積回路素子
1か月前
日本電気株式会社
レーザモジュール
1か月前
日本電気株式会社
超伝導量子回路装置
1か月前
日本電気株式会社
受信器および通信装置
1か月前
日本電気株式会社
システム、装置及び方法
1か月前
日本電気株式会社
推論装置および推論方法
14日前
日本電気株式会社
ラインカード及びイジェクタ
1か月前
日本電気株式会社
制御装置、プログラム及び方法
1か月前
日本電気株式会社
考査装置、考査方法、プログラム
15日前
日本電気株式会社
時刻維持装置および時刻維持方法
13日前
日本電気株式会社
考査装置、考査方法、プログラム
15日前
日本電気株式会社
交渉装置、交渉方法及びプログラム
22日前
日本電気株式会社
推定装置、推定方法及びプログラム
1か月前
日本電気株式会社
情報処理装置、制御方法及び記憶媒体
1か月前
日本電気株式会社
監視装置、監視方法、及びプログラム
12日前
日本電気株式会社
端末、端末の制御方法及びプログラム
1か月前
日本電気株式会社
レコメンド装置およびレコメンド方法
29日前
日本電気株式会社
安否確認支援装置、方法及びプログラム
1か月前
日本電気株式会社
学習装置、学習方法及び学習プログラム
1か月前
日本電気株式会社
乗車誘導計画装置および乗車誘導計画方法
5日前
日本電気株式会社
店舗端末、情報処理方法、及びプログラム
14日前
日本電気株式会社
情報処理装置、情報処理方法、プログラム
14日前
日本電気株式会社
視聴支援装置、視聴支援方法及びプログラム
20日前
日本電気株式会社
行動推奨装置、行動推奨方法及びプログラム
27日前
日本電気株式会社
健康管理装置、健康管理方法及びプログラム
22日前
日本電気株式会社
追跡支援装置、追跡支援方法及びプログラム
1か月前
日本電気株式会社
情報処理装置、情報処理方法及びプログラム
1か月前
日本電気株式会社
合意判定装置、合意判定方法及びプログラム
20日前
日本電気株式会社
情報処理装置、計算方法、およびプログラム
1か月前
日本電気株式会社
情報処理装置、提示方法、およびプログラム
1か月前
続きを見る
他の特許を見る