TOP
|
特許
|
意匠
|
商標
特許ウォッチ
Twitter
他の特許を見る
公開番号
2025152502
公報種別
公開特許公報(A)
公開日
2025-10-10
出願番号
2024054274
出願日
2024-03-28
発明の名称
光集積回路素子
出願人
日本電気株式会社
代理人
個人
主分類
G02B
6/12 20060101AFI20251002BHJP(光学)
要約
【課題】サイズの大型化を回避できる光集積回路素子を提供する。
【解決手段】本開示に係る光集積回路素子は、それぞれが温度制御を要する第1光回路素子及び第2光回路素子と、第1光回路素子及び第2光回路素子の温度を測定する温度センサと、を具備する。
【選択図】図1
特許請求の範囲
【請求項1】
それぞれが温度制御を要する第1光回路素子及び第2光回路素子と、
前記第1光回路素子及び前記第2光回路素子の温度を測定する温度センサと、
を具備する光集積回路素子。
続きを表示(約 620 文字)
【請求項2】
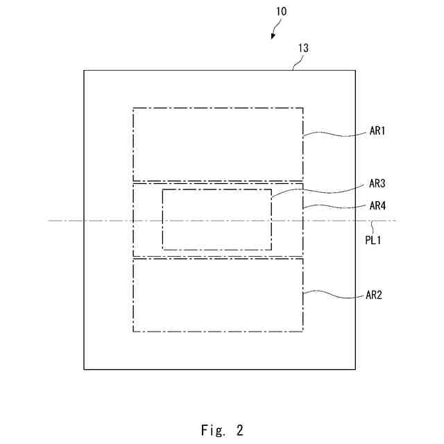
前記第1光回路素子及び前記第2光回路素子は、基板上で前記基板に直交する対称面に対して対称な位置に存在し且つ互いに所定の距離離れた、第1配設エリア及び第2配設エリアにそれぞれ配設され、
前記温度センサは、前記基板上で前記第1配設エリアと前記第2配設エリアとに挟まれたエリアに含まれる第3配設エリアに配設される、
請求項1記載の光集積回路素子。
【請求項3】
前記第1光回路素子及び前記第2光回路素子のぞれぞれは、リング共振器型波長フィルタを含む、
請求項1又は2に記載の光集積回路素子。
【請求項4】
前記第1光回路素子は、第1光出力素子が出力する光の波長をモニタするモニタ部であり、
前記第2光回路素子は、第2光出力素子が出力する光の波長をモニタするモニタ部である、
請求項3記載の光集積回路素子。
【請求項5】
前記所定の距離は、前記第1光回路素子と前記第2光回路素子との間の熱干渉が生じないとみなすことができる距離であり、
前記第1光回路素子と前記温度センサとの離間距離、及び、前記第1光回路素子と前記温度センサとの離間距離のそれぞれは、0μm~300μmである、
請求項2記載の光集積回路素子。
【請求項6】
前記所定の距離は、300μm以上である、
請求項5記載の光集積回路素子。
発明の詳細な説明
【技術分野】
【0001】
本開示は、光集積回路素子に関する。
続きを表示(約 1,100 文字)
【背景技術】
【0002】
互いに異なる複数の波長のレーザ光を出力する光源(Multi-Wavelength Laser Sources:MWLS)が知られている(例えば、特許文献1)。
【0003】
特許文献1のMWLSは、2つのレーザドライバと、該2つのレーザドライバにそれぞれ対応し且つ該2つのレーザドライバの光波長を目標波長に固定するための2つの波長ロッカを有している。
【先行技術文献】
【特許文献】
【0004】
米国特許出願公開第2005/0063429号明細書
【発明の概要】
【発明が解決しようとする課題】
【0005】
ところで、波長ロッカは、レーザドライバから出力される光の波長(周波数)をモニタするモニタ部を有しいる。該モニタ部は、リング共振器等を光フィルタとして含むことがある。リング共振器等の特性は温度に応じて変化し易い。このため、正しく波長を測定するためには、モニタ部の温度を目標波長に応じた目標温度に制御する必要がある。
【0006】
本発明者は、光集積回路素子に、複数の波長ロッカにそれぞれ対応する複数の温度センサを設けると、光集積回路素子が大型化してしまう課題を見出した。特に、光集積回路素子の場合、この課題は顕著になる。また、この課題は、波長ロッカに限らず、温度制御を要する光回路素子の全般に当てはまる。
【0007】
本開示の目的は、サイズの大型化を回避できる光集積回路素子を提供することにある。なお、この目的は、本明細書に開示される複数の実施形態が達成しようとする複数の目的の1つに過ぎないことに留意されるべきである。その他の目的又は課題と新規な特徴は、本明細書の記述又は添付図面から明らかにされる。
【課題を解決するための手段】
【0008】
本開示に係る光集積回路素子は、それぞれが温度制御を要する第1光回路素子及び第2光回路素子と、前記第1光回路素子及び前記第2光回路素子の温度を測定する温度センサと、を具備する。
【発明の効果】
【0009】
本開示により、サイズの大型化を回避できる光集積回路素子を提供することができる。
【図面の簡単な説明】
【0010】
本開示の光集積回路素子の一例を示す図である。
本開示の光集積回路素子における光回路素子及び温度センサの配置の説明に供する図である。
本開示の光集積回路素子における光回路素子及び温度センサの配置の説明に供する他の図である。
本開示の光出力装置の一例を示す図である。
【発明を実施するための形態】
(【0011】以降は省略されています)
この特許をJ-PlatPat(特許庁公式サイト)で参照する
関連特許
日本電気株式会社
特定装置
今日
日本電気株式会社
異常検知装置
1か月前
日本電気株式会社
光モジュール
1か月前
日本電気株式会社
推論装置および推論方法
23日前
日本電気株式会社
考査装置、考査方法、プログラム
24日前
日本電気株式会社
時刻維持装置および時刻維持方法
22日前
日本電気株式会社
考査装置、考査方法、プログラム
24日前
日本電気株式会社
ボロメータアレイ、及び光検出方法
2日前
日本電気株式会社
交渉装置、交渉方法及びプログラム
8日前
日本電気株式会社
交渉装置、交渉方法及びプログラム
1か月前
日本電気株式会社
監視装置、監視方法、及びプログラム
21日前
日本電気株式会社
店舗端末、情報処理方法、及びプログラム
23日前
日本電気株式会社
情報処理装置、情報処理方法、プログラム
23日前
日本電気株式会社
情報処理装置、情報処理方法、プログラム
今日
日本電気株式会社
乗車誘導計画装置および乗車誘導計画方法
14日前
日本電気株式会社
合意判定装置、合意判定方法及びプログラム
29日前
日本電気株式会社
視聴支援装置、視聴支援方法及びプログラム
29日前
日本電気株式会社
健康管理装置、健康管理方法及びプログラム
1か月前
日本電気株式会社
処理システム、処理方法、およびプログラム
1か月前
日本電気株式会社
行動推奨装置、行動推奨方法及びプログラム
1か月前
日本電気株式会社
経路選択装置、経路選択方法及びプログラム
21日前
日本電気株式会社
合意判定装置、合意判定方法及びプログラム
8日前
日本電気株式会社
処理システム、処理方法、およびプログラム
1か月前
日本電気株式会社
制御装置、無線端末、方法、及びプログラム
1日前
日本電気株式会社
発話認識装置、プログラム及び発話認識方法
2日前
日本電気株式会社
画像生成装置、画像生成方法、及びプログラム
29日前
日本電気株式会社
情報処理装置、情報処理方法、及びプログラム
22日前
日本電気株式会社
情報処理装置、情報処理方法、及びプログラム
22日前
日本電気株式会社
情報処理装置、情報処理方法、及びプログラム
22日前
日本電気株式会社
情報処理装置、情報処理方法、及びプログラム
22日前
日本電気株式会社
情報処理装置、情報処理方法、及びプログラム
22日前
日本電気株式会社
学習装置、利用装置、学習方法及びプログラム
21日前
日本電気株式会社
情報処理装置、情報処理方法、及びプログラム
22日前
日本電気株式会社
質問処理装置、質問処理方法、及びプログラム
14日前
日本電気株式会社
情報処理装置、情報処理方法およびプログラム
9日前
日本電気株式会社
情報処理装置、情報処理方法、及びプログラム
22日前
続きを見る
他の特許を見る