TOP
|
特許
|
意匠
|
商標
特許ウォッチ
Twitter
他の特許を見る
公開番号
2025172582
公報種別
公開特許公報(A)
公開日
2025-11-26
出願番号
2024078168
出願日
2024-05-13
発明の名称
発話認識装置、プログラム及び発話認識方法
出願人
日本電気株式会社
代理人
個人
主分類
G08G
5/00 20250101AFI20251118BHJP(信号)
要約
【課題】認識された発話の進入制限領域への進入に関する内容が矛盾しているか否か判定し、矛盾がある場合にそのことを出力する発話認識装置を提供する。
【解決手段】進入制限のある領域である進入制限領域を管理する管理者または前記管理者に応答する応答者の発話を取得する発話取得手段と、取得された発話の進入制限領域への進入に関連する内容を認識する認識手段と、認識された発話の進入制限領域への進入に関連する内容が矛盾しているか否か判定する判定手段と、判定手段が、矛盾があると判定した場合に、矛盾があることを出力する出力手段と、を備える、発話認識装置を提供する。
【選択図】図1
特許請求の範囲
【請求項1】
進入制限のある領域である進入制限領域を管理する管理者または前記管理者に応答する応答者の発話を取得する発話取得手段と、
取得された前記発話の前記進入制限領域への進入に関連する内容を認識する認識手段と、
認識された前記発話の前記進入制限領域への進入に関連する内容が矛盾しているか否か判定する判定手段と、
前記判定手段が、矛盾があると判定した場合に、矛盾があることを出力する出力手段と、を備える、発話認識装置。
続きを表示(約 1,200 文字)
【請求項2】
前記管理者の発話が、前記管理者の次の発話と矛盾しているか否かで、前記判定手段が、認識された前記発話の前記進入制限領域への進入に関連する内容が矛盾しているか否か判定する、請求項1に記載の発話認識装置。
【請求項3】
前記管理者の発話の内容と前記応答者の発話の内容が矛盾しているか否か判定することで、前記判定手段が、認識された前記発話の前記進入制限領域への進入に関連する内容が矛盾しているか否か判定する、請求項1に記載の発話認識装置。
【請求項4】
前記進入制限領域への進入を検出する検出手段を備え、
前記管理者の発話が、前記検出手段の検出結果と矛盾があるか否か判定することで、前記判定手段が、認識された前記発話の前記進入制限領域への進入に関連する内容が矛盾しているか否か判定する、請求項1に記載の発話認識装置。
【請求項5】
前記出力手段は、前記管理者、前記管理者を監督する監督者、または前記応答者が認識できる表示部または警告音発生部に出力する、または外部表示装置に警告を送信する、または外部の警告システムに警告を送信する、請求項1に記載の発話認識装置。
【請求項6】
前記出力手段は、前記管理者の発話または前記応答者の発話に進入制限領域への進入に関連する内容が含まれている場合に、前記内容を前記表示部に強調表示する、請求項5に記載の発話認識装置。
【請求項7】
さらに、前記進入制限領域への進入に関する提示を行う、提示手段を備える、請求項1に記載の発話認識装置。
【請求項8】
進入制限のある領域である進入制限領域を管理する管理者または前記管理者に応答する応答者の発話を取得し、
取得された前記発話の前記進入制限領域への進入に関連する内容を認識し、
認識された前記発話の前記進入制限領域への進入に関連する内容が矛盾しているか否か判定し、
矛盾があると判定した場合に、矛盾があることを出力することを、発話認識装置に実行させるプログラム。
【請求項9】
前記管理者の発話が、前記管理者の次の発話と矛盾しているか否かで、認識された前記発話の前記進入制限領域への進入に関連する内容が矛盾しているか否か判定する、請求項8に記載のプログラム。
【請求項10】
発話認識装置が、
進入制限のある領域である進入制限領域を管理する管理者または前記管理者に応答する応答者の発話を取得し、
取得された前記発話の前記進入制限領域への進入に関連する内容を認識し、
認識された前記発話の前記進入制限領域への進入に関連する内容が矛盾しているか否か判定し、
矛盾があると判定した場合に、矛盾があることを出力する、発話認識方法。
発明の詳細な説明
【技術分野】
【0001】
本開示は、発話認識装置、プログラム及び発話認識方法に関する。
続きを表示(約 1,700 文字)
【背景技術】
【0002】
特許文献1には、管制官から経路に関係する音声の管制指示で経路情報を自動的に構成することが記載されている。
【先行技術文献】
【特許文献】
【0003】
特開2012-43200号公報
【発明の概要】
【発明が解決しようとする課題】
【0004】
しかしながら、認識された経路情報が、正しいか否か判定することは開示されていない。そこで本開示の目的の1つは、認識された発話の進入制限領域への進入に関する内容が矛盾しているか否か判定し、矛盾がある場合にそのことを出力する発話認識装置、プログラム及び発話認識方法を提供することである。
【課題を解決するための手段】
【0005】
本開示の発話認識装置は、
進入制限のある領域である進入制限領域を管理する管理者または前記管理者に応答する応答者の発話を取得する発話取得手段と、
取得された前記発話の前記進入制限領域への進入に関連する内容を認識する認識手段と、
認識された前記発話の前記進入制限領域への進入に関連する内容が矛盾しているか否か判定する判定手段と、
前記判定手段が、矛盾があると判定した場合に、矛盾があることを出力する出力手段と、を備える、発話認識装置である。
【0006】
本開示のプログラムは、
進入制限のある領域である進入制限領域を管理する管理者または前記管理者に応答する応答者の発話を取得し、
取得された前記発話の前記進入制限領域への進入に関連する内容を認識し、
認識された前記発話の前記進入制限領域への進入に関連する内容が矛盾しているか否か判定し、
矛盾があると判定した場合に、矛盾があることを出力することを、発話認識装置に実行させるプログラムである。
【0007】
本開示の発話認識方法は、
発話認識装置が、
進入制限のある領域である進入制限領域を管理する管理者または前記管理者に応答する応答者の発話を取得し、
取得された前記発話の前記進入制限領域への進入に関連する内容を認識し、
認識された前記発話の前記進入制限領域への進入に関連する内容が矛盾しているか否か判定し、
矛盾があると判定した場合に、矛盾があることを出力する、発話認識方法である。
【発明の効果】
【0008】
本開示により、認識された発話の進入制限領域への進入に関する内容が矛盾しているか否か判定し、矛盾がある場合にそのことを出力する発話認識装置、プログラム及び発話認識方法が提供される。
【図面の簡単な説明】
【0009】
本開示にかかる発話認識装置の構成を示すブロック図である。
本開示にかかる発話認識方法のフローチャートである。
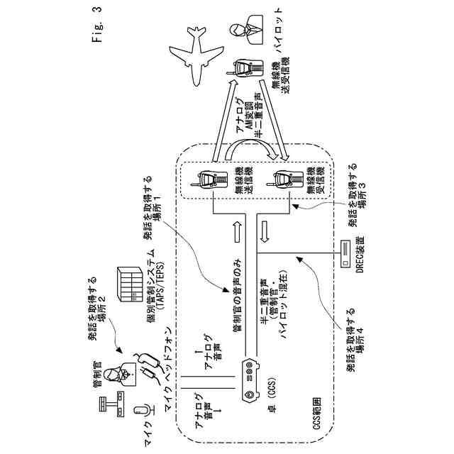
本開示にかかる発話認識の例示的な概略を示す図である。
本開示にかかる管理者の発話における発話認識の例を示す図である。
本開示にかかる管理者と応答者の発話の矛盾の例を示す図である。
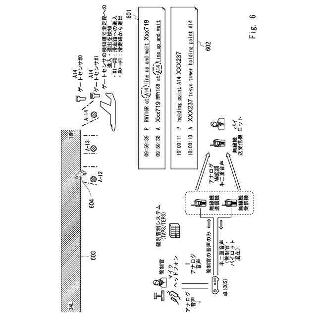
本開示にかかる発話と検出結果の矛盾の例を示す図である。
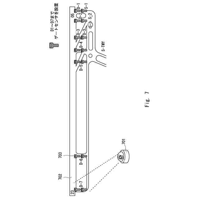
本開示にかかる検出手段の例を示す図である。
本開示にかかる情報処理装置の構成を示すブロック図である。
【発明を実施するための形態】
【0010】
(実施の形態にかかる発話認識装置の説明)
図1は、本開示にかかる発話認識装置の構成を示すブロック図である。図1を参照しながら、発話認識装置100を説明する。発話認識装置100は、認識された発話の滑走路、港、または道路などの進入制限領域への進入に関する内容が管理者の発話、応答者の発話、または進入する機体の行動のいずれかが矛盾しているか否か判定する。そして発話認識装置100は、矛盾がある場合に矛盾していることを出力する装置である。
(【0011】以降は省略されています)
この特許をJ-PlatPat(特許庁公式サイト)で参照する
関連特許
個人
安全支援装置
21日前
日本精機株式会社
警報システム
2か月前
株式会社SUBARU
車両
1か月前
個人
自動電動車椅子
2か月前
エムケー精工株式会社
車両誘導装置
3か月前
スズキ株式会社
運転支援装置
2か月前
ニッタン株式会社
検知器
1か月前
日本無線株式会社
船舶システム
22日前
ニッタン株式会社
検知器
2か月前
個人
磁気路上での車両の路線離脱防御
1か月前
ニッタン株式会社
検知器
2か月前
ニッタン株式会社
検知器
2か月前
株式会社国際電気
防災システム
2か月前
株式会社SUBARU
運転支援装置
1か月前
大阪瓦斯株式会社
音声出力システム
1か月前
日本信号株式会社
異常走行検出装置
2か月前
ダイハツ工業株式会社
移動支援装置
1か月前
トヨタ自動車株式会社
サーバ
1か月前
株式会社小糸製作所
移動体検出装置
2か月前
トヨタ自動車株式会社
サーバ
2か月前
株式会社CCT
通信装置及び表示方法
1か月前
株式会社小糸製作所
車両検出システム
2か月前
三菱自動車工業株式会社
制御システム
1か月前
株式会社デンソー
運航管理装置
1か月前
日本精機株式会社
報知装置及び報知システム
2か月前
株式会社 ミックウェア
車内環境制御システム
1か月前
能美防災株式会社
火災感知器
2か月前
株式会社SUBARU
事故情報収集装置
1か月前
ヨシモトポール株式会社
接近報知システム
2か月前
本田技研工業株式会社
物体検出装置
3か月前
ホーチキ株式会社
火災検出システム
1か月前
株式会社SUBARU
車室内異常検知装置
1か月前
能美防災株式会社
非常伝達装置
2か月前
シャープ株式会社
駐車制御装置
2か月前
能美防災株式会社
火災感知器及び火災報知システム
1か月前
大阪瓦斯株式会社
音声出力装置
1か月前
続きを見る
他の特許を見る