TOP
|
特許
|
意匠
|
商標
特許ウォッチ
Twitter
他の特許を見る
公開番号
2025158441
公報種別
公開特許公報(A)
公開日
2025-10-17
出願番号
2024060974
出願日
2024-04-04
発明の名称
移動支援装置
出願人
ダイハツ工業株式会社
代理人
個人
主分類
G08G
1/005 20060101AFI20251009BHJP(信号)
要約
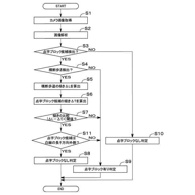
【課題】道路に付された中央線を点字ブロックと誤判定するのを低減できる移動支援装置を実現する。
【解決手段】移動支援装置1は、撮像部20で撮像された画像21の画像データから得られた情報に基づいて、当該画像21内にある物標を検出する物標検出部40aと、点字ブロック候補TCに該当する物標があるか否かを判定するブロック候補判定部40cと、横断歩道24に該当する物標があるか否かを判定する横断歩道判定部40bと、点字ブロック候補TCの傾きΔTと横断歩道24の白線WLの傾ΔLきとを算出する傾き算出部40dと、実の点字ブロックTを抽出する点字ブロック抽出部40eとを備え、点字ブロック抽出部40eは、点字ブロック候補TCの傾きΔTと白線WLの傾きΔLの差が所定値未満であるときは、当該点字ブロック候補TCを実の点字ブロックTとして抽出しないことを特徴とする。
【選択図】図2
特許請求の範囲
【請求項1】
ユーザの両肩及び首の少なくともいずれかに装着される移動支援装置であって、
前記ユーザの前方側を撮像する撮像部と、
前記撮像部で撮像された画像の画像データから得られた少なくとも輝度情報と形状情報とに基づいて、当該画像内にある物標を検出する物標検出部と、
前記物標検出部により検出された前記物標のうち、点字ブロック候補に該当する前記物標があるか否かを判定する第1判定部と、
前記物標検出部により検出された前記物標のうち、横断歩道に該当する前記物標があるか否かを判定する第2判定部と、
前記第1判定部により前記点字ブロック候補があると判定されるとともに、前記第2判定部により前記横断歩道があると判定された場合に、前記点字ブロック候補の傾きと、前記横断歩道を構成する白線の傾きとを算出する傾き算出部と、
前記点字ブロック候補の中から実の点字ブロックを抽出する点字ブロック抽出部と、を備え、
前記点字ブロック抽出部は、前記傾き算出部が算出した前記点字ブロック候補の傾きと前記白線の傾きの差が所定値未満であると共に、前記点字ブロック候補が白線の長手方向外方に位置していることを条件に、当該点字ブロック候補を前記実の点字ブロックとして抽出しないことを特徴とする移動支援装置。
続きを表示(約 830 文字)
【請求項2】
ユーザの両肩及び首の少なくともいずれかに装着される移動支援装置であって、
前記ユーザの前方側を撮像する撮像部と、
前記撮像部で撮像された画像の画像データから得られた少なくとも輝度情報と形状情報とに基づいて、当該画像内にある物標を検出する物標検出部と、
前記物標検出部により検出された前記物標のうち、点字ブロック候補に該当する前記物標があるか否かを判定する第1判定部と、
前記物標検出部により検出された前記物標のうち、横断歩道に該当する前記物標があるか否かを判定する第2判定部と、
前記第2判定部により前記横断歩道に該当する物標があると判定された場合に、前記画像内に前記横断歩道を囲む所定の領域を設定する所定領域設定部と、
前記点字ブロック候補の中から実の点字ブロックを抽出する点字ブロック抽出部と、を備え、
前記所定領域設定部は、前記横断歩道を構成する複数の白線の長手方向と交差する方向において、最も一方端側に位置する白線の一方端側長辺と当該一方端側長辺の延長線とで形成された第1ラインと、最も他方端側に位置する白線の他方端側長辺と当該他方端側長辺の延長線とで形成された第2ラインとの間の領域を前記所定の領域に設定し、
前記点字ブロック抽出部は、前記第1判定部により判定された前記点字ブロック候補のうち、前記所定の領域にあるものは前記実の点字ブロックとして抽出しないことを特徴とする移動支援装置。
【請求項3】
前記点字ブロック抽出部は、前記第1判定部により判定された前記点字ブロック候補のうち、前記所定の領域内であって、前記一方端側長辺の両端と前記他方端側長辺の両端の4つの点を直線で結んで前記横断歩道を囲む領域の外側に位置すると共に、前記白線の長手方向外方に位置するものは前記実の点字ブロックとして抽出しないことを特徴とする請求項2に記載の移動支援装置。
発明の詳細な説明
【技術分野】
【0001】
本発明は、移動支援装置に関する。
続きを表示(約 3,300 文字)
【背景技術】
【0002】
従来、道路に敷設された点字ブロックの中には、各点状突起に異なる色を付し、それらをあらかじめ決められた所定の配列で配置することでコード化されたものがある。ここで、コード化された点字ブロックをカメラで撮像し、取得した画像データを処理することでコード化された点字ブロックに対応する音声案内を行う音声案内装置付白杖が知られている(特許文献1)。また、カメラで撮像した画像から道路に付された横断歩道の白線を精度よく認識する技術が知られている(特許文献2)。この場合、横断歩道を形成する白線の一部に不明瞭な部分があった場合でも、その部分が他の白線の一方端部どうしを結ぶ直線と、他方端部どうしを結ぶ直線とで挟まれた領域にある場合は当該横断歩道を構成する白線であると判定する。
【先行技術文献】
【特許文献】
【0003】
登録実用新案第3208458号公報
特開2023-27471号公報
【発明の概要】
【発明が解決しようとする課題】
【0004】
ところで、点字ブロックは点状の突起が格子状に配列された警告ブロックと、複数の線状の突起が並んだ誘導ブロックとがあり、それぞれ黄色が付されている。また、道路の中央線はオレンジ色が付されており、そこには中央線を車輪が跨いだときに音を鳴らすための線状の突起が付されたものがある。上記した特許文献1および特許文献2では、カメラで撮像した画像の色や形状(パターン)で点字ブロックや横断歩道の白線を認識している。そのため、これらの技術を用いて移動支援を行う場合は、形状や色が似ている中央線を点字ブロックとして誤判定するおそれがある。
【0005】
そこで本発明は、道路に付された中央線を点字ブロックと誤判定するのを低減できる移動支援装置を実現することを目的とする。
【課題を解決するための手段】
【0006】
(1)上述した課題を解決すべく提供される本発明の移動支援装置は、ユーザの両肩及び首の少なくともいずれかに装着される移動支援装置であって前記ユーザの前方側を撮像する撮像部と、前記撮像部で撮像された画像の画像データから得られた少なくとも輝度情報と形状情報とに基づいて、当該画像内にある物標を検出する物標検出部と、前記物標検出部により検出された前記物標のうち、点字ブロック候補に該当する前記物標があるか否かを判定する第1判定部と、前記物標検出部により検出された前記物標のうち、横断歩道に該当する前記物標があるか否かを判定する第2判定部と、前記第1判定部により前記点字ブロック候補があると判定されるとともに、前記第2判定部により前記横断歩道があると判定された場合に、前記点字ブロック候補の傾きと、前記横断歩道を構成する白線の傾きとを算出する傾き算出部と、前記点字ブロック候補の中から実の点字ブロックを抽出する点字ブロック抽出部と、を備え、前記点字ブロック抽出部は、前記傾き算出部が算出した前記点字ブロック候補の傾きと前記白線の傾きの差が所定値未満であると共に、点字ブロック候補が白線の長手方向外方に位置していることを条件に、当該点字ブロック候補を前記実の点字ブロックとして抽出しないことを特徴としている。
【0007】
上記した移動支援装置は、撮像部で撮像された画像の画像データから得られた少なくとも輝度情報と形状情報とに基づいて、当該画像内にある物標を検出する。すなわち、本発明の移動支援装置は、撮像部が撮像した画像から輝度(色)と形状(パターン形状や凹凸形状)とに基づいて物標を検出する。この場合、上記した特許文献1および特許文献2に記載の技術と同様に、中央線を点字ブロックと誤判定するおそれがある。しかしながら、中央線は、横断歩道の白線の長手方向の外側であって、横断歩道の白線に沿う方向に延びているのが一般的である。そこで、この移動支援装置では、傾き算出部により白線の傾きと点字ブロック候補の傾きとを算出し、これらの傾きの差が所定未満であって、点字ブロック候補が白線の長手方向外方に位置しているときは、実の点字ブロックとして抽出しないようにしている。このようにすることで、本発明の移動支援装置は、点字ブロック候補に中央線が含まれる場合であっても、当該候補が実の点字ブロックとして抽出されるのを防止できる。これにより、本発明は、中央線を点字ブロックと誤判定するのを低減できる移動支援装置を実現できる。
【0008】
(2)上述した課題を解決すべく提供される本発明の他の移動支援装置は、ユーザの両肩及び首の少なくともいずれかに装着される移動支援装置であって、前記ユーザの前方側を撮像する撮像部と、前記撮像部で撮像された画像の画像データから得られた少なくとも輝度情報と形状情報とに基づいて、当該画像内にある物標を検出する物標検出部と、前記物標検出部により検出された前記物標のうち、点字ブロック候補に該当する前記物標があるか否かを判定する第1判定部と、前記物標検出部により検出された前記物標のうち、横断歩道に該当する前記物標があるか否かを判定する第2判定部と、前記第2判定部により前記横断歩道に該当する物標があると判定された場合に、前記画像内に前記横断歩道を囲む所定の領域を設定する所定領域設定部と、前記点字ブロック候補の中から実の点字ブロックを抽出する点字ブロック抽出部と、を備え、前記所定領域設定部は、前記横断歩道を構成する複数の白線の長手方向と交差する方向において、最も一方端側に位置する白線の一方端側長辺と当該一方端側長辺の延長線とで形成された第1ラインと、最も他方端側に位置する白線の他方端側長辺と当該他方端側長辺の延長線とで形成された第2ラインとの間の領域を前記所定の領域に設定し、前記点字ブロック抽出部は、前記第1判定部により判定された前記点字ブロック候補のうち、前記所定の領域にあるものは前記実の点字ブロックとして抽出しないことを特徴としている。
【0009】
上記した移動支援装置は、撮像部で撮像された画像の画像データから得られた少なくとも輝度情報と形状情報とに基づいて、当該画像内にある物標を検出する。すなわち、本発明の移動支援装置は、撮像部が撮像した画像から輝度(色)と形状(パターン)とに基づいて物標を検出する。この場合、上記した特許文献1および特許文献2に記載の技術と同様に、中央線を点字ブロックと誤判定するおそれがある。しかしながら、中央線は横断歩道と同じ車道に配置されるのに対して、点字ブロックは歩道に配置される。そこで、本発明の移動支援装置は、上記(2)のような構成とすることにより、横断歩道の範囲を利用して車道の範囲を求める。具体的には、上記第1ラインと第2ラインの間の領域(所定の領域)は、おおよその車道の範囲とすることができる。かかる知見に基づき、本発明の移動支援装置は、点字ブロック候補のうち、上記所定の領域に配置されているものを実の点字ブロックとして抽出しないようにする。このようにすることで、本発明の移動支援装置は、点字ブロック候補に中央線が含まれる場合であっても、当該候補が実の点字ブロックとして抽出されるのを防止できる。これにより、本発明は、中央線を点字ブロックと誤判定するのを低減できる移動支援装置を実現できる。
【0010】
(3)また、上記した(2)の移動支援装置において、前記点字ブロック抽出部は、前記第1判定部により判定された前記点字ブロック候補のうち、前記所定の領域内であって、前記一方端側長辺の両端と前記他方端側長辺の両端の4つの点を直線で結んで前記横断歩道を囲む領域の外側に位置すると共に、前記白線の長手方向外方に位置するものは前記実の点字ブロックとして抽出しないようにするとよい。
(【0011】以降は省略されています)
この特許をJ-PlatPat(特許庁公式サイト)で参照する
関連特許
ダイハツ工業株式会社
移動支援装置
4日前
ダイハツ工業株式会社
人流取得装置
12日前
ダイハツ工業株式会社
移動支援装置
12日前
ダイハツ工業株式会社
車両用制御装置
12日前
ダイハツ工業株式会社
樹脂製品及びその製造方法
11日前
ダイハツ工業株式会社
自動搬送装置及び自動搬送方法
12日前
ダイハツ工業株式会社
片側スポット溶接方法及び制御装置
13日前
ダイハツ工業株式会社
片側スポット溶接のワーク構造評価方法
14日前
エヌ・イーケムキャット株式会社
排ガス浄化用触媒
12日前
日本精機株式会社
警報システム
1か月前
個人
自動電動車椅子
1か月前
株式会社SUBARU
車両
12日前
エムケー精工株式会社
車両誘導装置
1か月前
スズキ株式会社
運転支援装置
1か月前
個人
磁気路上での車両の路線離脱防御
22日前
ニッタン株式会社
検知器
1か月前
ニッタン株式会社
発信機
2か月前
ニッタン株式会社
検知器
1か月前
ニッタン株式会社
検知器
1か月前
ニッタン株式会社
検知器
19日前
ニッタン株式会社
発信機
2か月前
株式会社国際電気
防災システム
1か月前
トヨタ自動車株式会社
車両
2か月前
大阪瓦斯株式会社
音声出力システム
18日前
ダイハツ工業株式会社
移動支援装置
4日前
株式会社SUBARU
運転支援装置
20日前
日本信号株式会社
異常走行検出装置
26日前
トヨタ自動車株式会社
サーバ
26日前
株式会社小糸製作所
移動体検出装置
1か月前
日本精機株式会社
報知装置及び報知システム
1か月前
株式会社CCT
通信装置及び表示方法
19日前
株式会社デンソー
運航管理装置
11日前
株式会社小糸製作所
車両検出システム
1か月前
三菱自動車工業株式会社
制御システム
18日前
株式会社 ミックウェア
車内環境制御システム
7日前
個人
現示内容に関する情報放送機能付き信号機
2か月前
続きを見る
他の特許を見る