TOP
|
特許
|
意匠
|
商標
特許ウォッチ
Twitter
他の特許を見る
公開番号
2025174659
公報種別
公開特許公報(A)
公開日
2025-11-28
出願番号
2024081149
出願日
2024-05-17
発明の名称
車両用外部充電ポート支持構造
出願人
ダイハツ工業株式会社
代理人
弁理士法人太陽国際特許事務所
主分類
B60L
53/14 20190101AFI20251120BHJP(車両一般)
要約
【課題】充電ケーブルの端部に設けられたコネクタが着脱可能なポートユニットを支持するブラケットの剛性の低下を抑制しつつ、ポートユニットの給電ケーブルをブラケットに取り付けるときに給電ケーブルが摩耗したり損傷したりするおそれが小さい車両用外部充電ポート支持構造を提供する。
【解決手段】外周縁部において開口する第1開口部46を有する第1取付用凹部45が形成された第1ブラケット35と、外周縁部において開口する第2開口部65を有する第2取付用凹部64が形成された第2ブラケット55と、第1ブラケットと第2ブラケットが重ねられたときに第1取付用凹部及び第2取付用凹部によって構成される支持孔67を貫通する給電ケーブル74、75を備えるポートユニット70と、を備える。
【選択図】図3
特許請求の範囲
【請求項1】
車両に設けられた支持部材と、
本体部、前記本体部に接続されたポート部、及び給電ケーブルを有するポートユニットと、
前記支持部材に支持された第1ブラケットと、
前記第1ブラケットに、前記第1ブラケットを前記ポート部の軸線方向に貫通するように形成され、正面視において一部が前記第1ブラケットの外周縁部において開口する第1開口部を有する第1取付用凹部と、
一部が前記第1ブラケットと前記軸線方向に重ねられたときに下端部が前記第1ブラケットより下方に位置する第2ブラケットと、
前記第2ブラケットに、前記第2ブラケットを前記軸線方向に貫通するように形成され、正面視において一部が前記第2ブラケットの外周縁部において開口する第2開口部を有し且つ前記第2ブラケットが前記第1ブラケットと前記軸線方向に重ねられたときに前記第1取付用凹部と共に前記給電ケーブルが貫通する支持孔を構成する第2取付用凹部と、
を備える車両用外部充電ポート支持構造。
続きを表示(約 450 文字)
【請求項2】
前記第1ブラケットが、前記支持部材に支持される被支持部と、前記被支持部に接続された基部と、正面視において前記基部から下方に延びると共に前記第1取付用凹部の周縁部の一部を構成する第1突出部と、を有し、
前記第2ブラケットが前記第1ブラケットに重ねられたときに少なくとも一部が前記第1ブラケットより下方に位置する下部構成部と、正面視において前記下部構成部から上方に延びると共に前記第2取付用凹部の周縁部の一部を構成する第2突出部と、を有する請求項1に記載の車両用外部充電ポート支持構造。
【請求項3】
正面視において前記支持孔の外周側に位置する4か所において前記第1ブラケット及び前記第2ブラケットが固定される請求項1又は請求項2に記載の車両用外部充電ポート支持構造。
【請求項4】
前記本体部、前記第1ブラケット及び前記第2ブラケットを共締めした状態で固定する固定部材を備える請求項1又は請求項2に記載の車両用外部充電ポート支持構造。
発明の詳細な説明
【技術分野】
【0001】
本発明は、車両用外部充電ポート支持構造に関する。
続きを表示(約 2,300 文字)
【背景技術】
【0002】
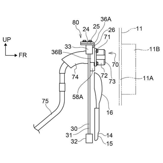
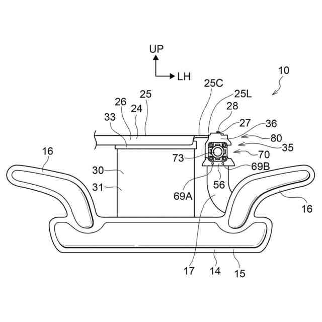
下記特許文献1に開示された車両の車体の後部の側面には開閉可能な充電リッドが設けられている。充電リッドが開放されると、車体の後部に設けられた充電ポート(接続端子)が露出する。この充電ポートは、ボディ構成部材に固定されたブラケット(インレット)に固定されている。さらに充電ポートから車内側へ延びる給電ケーブル(給電ライン)がブラケットを車内側へ貫通している。車両の外部に位置する電源に接続された充電ケーブルの端部に設けられたコネクタを充電ポートに接続することにより、電源の電力を充電ケーブル、充電ポート及び給電ケーブルを介して車両に設けられたバッテリに供給可能になる。
【先行技術文献】
【特許文献】
【0003】
国際公開2021/261129号公報
【発明の概要】
【発明が解決しようとする課題】
【0004】
給電ケーブルと充電ポートの一体物をブラケットに組付けるとき給電ケーブルはブラケットに設けられた貫通孔を通り抜ける。そのため、このとき給電ケーブルの外周面が貫通孔の内周面と接触するおそれがある。即ち、充電ポートに給電ケーブルを接続するとき、給電ケーブルが摩耗したり損傷したりするおそれがある。
【0005】
このような課題を解決するためには、例えばブラケットに、ブラケットをその厚み方向に貫通するとともに一部がブラケットの外周縁部において開口する取付用凹部を設けることが考えらえる。この場合は給電ケーブルの一部をブラケットの外周縁部に形成された開口から取付用凹部に挿入できる。そのため給電ケーブルを取付用凹部に挿入する際に、給電ケーブルが取付用凹部によって摩耗したり損傷したりするおそれは小さい。しかしこの場合はブラケットの剛性が取付用凹部の上記開口に起因して低下するおそれがある。給電ポートを支持するブラケットの剛性が小さい場合は、充電ケーブルのコネクタの充電ポートとの脱着作業を円滑に行うのが難しくなる。
【0006】
本発明は上記事実を考慮し、充電ケーブルの端部に設けられたコネクタが着脱可能なポートユニットを支持するブラケットの剛性の低下を抑制しつつ、ポートユニットの給電ケーブルをブラケットに取り付けるときに給電ケーブルが摩耗したり損傷したりするおそれが小さい車両用外部充電ポート支持構造を得ることを目的とする。
【課題を解決するための手段】
【0007】
請求項1の車両用外部充電ポート支持構造は、車両に設けられた支持部材と、本体部、前記本体部に接続されたポート部、及び給電ケーブルを有するポートユニットと、前記支持部材に支持された第1ブラケットと、前記第1ブラケットに、前記第1ブラケットを前記ポート部の軸線方向に貫通するように形成され、正面視において一部が前記第1ブラケットの外周縁部において開口する第1開口部を有する第1取付用凹部と、一部が前記第1ブラケットと前記軸線方向に重ねられたときに下端部が前記第1ブラケットより下方に位置する第2ブラケットと、前記第2ブラケットに、前記第2ブラケットを前記軸線方向に貫通するように形成され、正面視において一部が前記第2ブラケットの外周縁部において開口する第2開口部を有し且つ前記第2ブラケットが前記第1ブラケットと前記軸線方向に重ねられたときに前記第1取付用凹部と共に前記給電ケーブルが貫通する支持孔を構成する第2取付用凹部と、を備える。
【0008】
請求項1の車両用外部充電ポート支持構造では、第1ブラケットと第2ブラケットがポート部の軸線方向に重ねられていないときは、給電ケーブルの第1開口部を介した第1取付用凹部への移動及び第2開口部を介した第2取付用凹部への移動が可能である。そのため給電ケーブルを、支持孔を構成する第1取付用凹部及び第2取付用凹部の内部に配置するときに、給電ケーブルが第1ブラケット又は第2ブラケットによって摩耗したり損傷したりするおそれは小さい。さらに第1ブラケットと第2ブラケットがポート部の軸線方向に重ねられたときは、給電ケーブルが第1開口部及び第2開口部を介して外周縁部側へ移動することが規制される。
【0009】
さらに請求項1の車両用外部充電ポート支持構造では、第1ブラケットに第1ブラケットの外周縁部において開口する第1開口部を有する第1取付用凹部が設けられ、第2ブラケットに第2ブラケットの外周縁部において開口する第2開口部を有する第2取付用凹部が設けられているものの、互いに重ねられた第1ブラケット及び第2ブラケットの剛性が第1開口部及び第2開口部に起因して低下し難い。そのため請求項1の車両用外部充電ポート支持構造は、ポートユニットを支持する第1ブラケット及び第2ブラケットの剛性の低下を抑制可能である。
【0010】
請求項2の車両用外部充電ポート支持構造は、請求項1において、前記第1ブラケットが、前記支持部材に支持される被支持部と、前記被支持部に接続された基部と、正面視において前記基部から下方に延びると共に前記第1取付用凹部の周縁部の一部を構成する第1突出部と、を有し、前記第2ブラケットが前記第1ブラケットに重ねられたときに少なくとも一部が前記第1ブラケットより下方に位置する下部構成部と、正面視において前記下部構成部から上方に延びると共に前記第2取付用凹部の周縁部の一部を構成する第2突出部と、を有する。
(【0011】以降は省略されています)
この特許をJ-PlatPat(特許庁公式サイト)で参照する
関連特許
ダイハツ工業株式会社
制御装置
1か月前
ダイハツ工業株式会社
発電装置
10日前
ダイハツ工業株式会社
溶接装置
1か月前
ダイハツ工業株式会社
塗布装置
1か月前
ダイハツ工業株式会社
移動支援装置
1か月前
ダイハツ工業株式会社
3Dプリンタ
1か月前
ダイハツ工業株式会社
車両制御装置
15日前
ダイハツ工業株式会社
剪断穴あけ装置
1か月前
ダイハツ工業株式会社
車両用制御装置
22日前
ダイハツ工業株式会社
電線温度推定装置
1か月前
ダイハツ工業株式会社
溶接電極の研磨装置
1か月前
ダイハツ工業株式会社
副燃焼室付きエンジン
1日前
ダイハツ工業株式会社
車両用外部充電ポート支持構造
1日前
ダイハツ工業株式会社
車両用外部充電ポート支持構造
1日前
ダイハツ工業株式会社
ハイブリッド車両駆動用ユニット
1か月前
ダイハツ工業株式会社
落雷予測システム及び落雷予測方法
25日前
ダイハツ工業株式会社
車両用灯具
1か月前
トヨタ自動車株式会社
車両、蓄電装置および温度調整装置
1か月前
個人
タイヤレバー
4か月前
個人
前輪キャスター
3か月前
個人
上部一体型自動車
1か月前
個人
ホイルのボルト締結
5か月前
個人
ルーフ付きトライク
3か月前
個人
タイヤ脱落防止構造
3か月前
個人
空間形成装置
1か月前
個人
マスタシリンダ
2か月前
日本精機株式会社
照明装置
25日前
日本精機株式会社
表示装置
3か月前
日本精機株式会社
表示装置
4か月前
個人
車両通過構造物
4か月前
日本精機株式会社
表示装置
4か月前
日本精機株式会社
表示装置
4か月前
個人
乗合路線バスの客室装置
4か月前
個人
アクセルのソフトウェア
5か月前
個人
常設収納型サンバイザー
1か月前
日本精機株式会社
画像投映装置
1か月前
続きを見る
他の特許を見る