TOP
|
特許
|
意匠
|
商標
特許ウォッチ
Twitter
他の特許を見る
公開番号
2025160640
公報種別
公開特許公報(A)
公開日
2025-10-23
出願番号
2024063308
出願日
2024-04-10
発明の名称
塗布装置
出願人
ダイハツ工業株式会社
代理人
個人
,
個人
,
個人
主分類
B05C
5/00 20060101AFI20251016BHJP(霧化または噴霧一般;液体または他の流動性材料の表面への適用一般)
要約
【課題】ノズルの外側に残留する塗布材料の量を低減する。
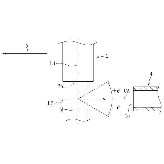
【解決手段】塗布装置1は、ノズル2と、アシストエア噴射部3と、カットエア噴射部4と、を備える。アシストエア噴射部3は、ノズル2の移動方向Xに対してノズル2の後方から塗布材料Mに向かってアシストエアAAを噴射する。カットエア噴射部4は、ノズル2の移動方向Xに対してノズル2の後方から塗布材料Mに向かってカットエアCAを噴射する。
【選択図】図1
特許請求の範囲
【請求項1】
下方に塗布材料を吐出しながら所定の方向に移動するノズルを備える塗布装置において、
前記ノズルから吐出される前記塗布材料の軸線に対して傾斜する方向にアシストエアを噴射するアシストエア噴射部と、前記ノズルから吐出される前記塗布材料の軸線に対して所定の角度でカットエアを噴射することで、前記塗布材料を切断するカットエア噴射部と、を備え、
前記アシストエア噴射部は、前記ノズルの移動方向に対して前記ノズルの後方から前記塗布材料に向かって前記アシストエアを噴射し、
前記カットエア噴射部は、前記ノズルの移動方向に対して前記ノズルの後方から前記塗布材料に向かって前記カットエアを噴射することを特徴とする塗布装置。
発明の詳細な説明
【技術分野】
【0001】
本発明は、塗布材料を吐出するノズルを備える塗布装置に関する。
続きを表示(約 1,300 文字)
【背景技術】
【0002】
一般的に、自動車の外装には厚さが0.55mm~0.7mm程度の鋼板が用いられる。また、その外装は意匠性を有しており商品としての価値に対して非常に重要である。この外装に鋼板の加工工程、車両の生産過程で歪が発生すると、外観悪化やドアの開閉時の振動、或いは金属部品同士の接触を誘発するなどして、製品の品質低下を招き、価値を棄損するおそれがある。
【0003】
このため、製品の品質低下を防止すべく、鋼板の剛性確保が必要となる。しかし、剛性確保のために板厚を上げると、歪を抑制できても重量増による燃費悪化といった走行性能の低下や原価上昇の要因となる。このような事態を防ぐために、鋼板の一部に補強材を塗布するといった部分的な補強措置が施されている。
【0004】
例えば特許文献1には、自動車用鋼板等の塗布対象物に、高粘度液により構成される補強材等の塗布材料(流動物)を塗布する装置が開示されている。この塗布装置は、塗布材料の供給装置と、塗布材料を吐出するノズルとを備えている。供給装置は、ノズルに対して塗布材料を供給するためのポンプを備えている。ノズルは、供給装置によって供給されてきた塗布材料を帯状に吐出して塗布対象物に塗布する(同文献の段落0047~0049参照)。
【0005】
ノズルは、吐出手段と、定着手段と、切断手段とを備えている(同文献の段落0049参照)。吐出手段は、塗布材料を吐出する吐出口を有する。定着手段は、吐出手段の吐出口から塗布対象物に向けて吐出された塗布材料に対して圧縮気体を吹き付けることで、塗布材料を塗布対象物に定着させる。
【0006】
切断手段は、吐出手段の吐出口から吐出された塗布材料を切断するためのものである。切断手段としては、ワイヤや圧縮気体が使用される。
【0007】
ワイヤを用いる切断手段は、ワイヤを移動可能に保持するスライド構造体と、ワイヤを移動させる駆動機構としてのエアシリンダ機構と、を備えている(同文献の段落0064~0067参照)。
【0008】
切断手段は、塗布対象物に対する塗布材料の塗布が完了した後に、スライド構造体及び駆動機構の作用によってワイヤを所定の方向に移動させることで、吐出手段の吐出口から吐出されている塗布材料を直接切断する(同文献の段落0075、0076参照)。
【0009】
切断手段に圧縮気体を用いる場合において、ノズルは、定着手段用の圧縮気体の流路(定着用気体流路)の他に、切断手段用の圧縮気体の流路(切断用気体流路)を備える。切断用気体流路は、切断用の圧縮気体を鉛直方向下方に噴出させ、塗布対象物に塗布されている塗布材料を切断することがある(同文献の段落0085及び図13(a)参照)。
【先行技術文献】
【特許文献】
【0010】
特開2015-139751号公報
【発明の概要】
【発明が解決しようとする課題】
(【0011】以降は省略されています)
この特許をJ-PlatPat(特許庁公式サイト)で参照する
関連特許
ダイハツ工業株式会社
溶接装置
18日前
ダイハツ工業株式会社
塗布装置
25日前
ダイハツ工業株式会社
制御装置
26日前
ダイハツ工業株式会社
車両制御装置
3日前
ダイハツ工業株式会社
3Dプリンタ
26日前
ダイハツ工業株式会社
移動支援装置
1か月前
ダイハツ工業株式会社
車両用制御装置
10日前
ダイハツ工業株式会社
剪断穴あけ装置
19日前
ダイハツ工業株式会社
電線温度推定装置
24日前
ダイハツ工業株式会社
溶接電極の研磨装置
19日前
ダイハツ工業株式会社
樹脂製品及びその製造方法
1か月前
ダイハツ工業株式会社
ハイブリッド車両駆動用ユニット
26日前
ダイハツ工業株式会社
落雷予測システム及び落雷予測方法
13日前
ダイハツ工業株式会社
車両用灯具
24日前
トヨタ自動車株式会社
車両、蓄電装置および温度調整装置
19日前
個人
微細霧発生装置
10日前
ベック株式会社
被膜形成方法
5か月前
ベック株式会社
被膜形成方法
5日前
ベック株式会社
被膜形成方法
5日前
ベック株式会社
被膜形成方法
5日前
ベック株式会社
被膜形成方法
5日前
ベック株式会社
被膜形成方法
5日前
ベック株式会社
被膜形成方法
1か月前
有限会社 芦屋ドレス
湯噴霧器
26日前
株式会社吉野工業所
キャップ
4か月前
アイカ工業株式会社
塗料仕上げ工法
2か月前
スズカファイン株式会社
多色性塗膜
1か月前
ベック株式会社
装飾被膜の形成方法
3か月前
株式会社カネカ
塗布装置
1か月前
日本ライナー株式会社
塗装装置
2か月前
プルガティオ株式会社
噴霧装置
4か月前
能美防災株式会社
水噴霧ヘッド
1か月前
プルガティオ株式会社
噴霧装置
4か月前
個人
スプレー缶高所対応携帯ホルダー
2か月前
プルガティオ株式会社
噴霧装置
4か月前
トヨタ自動車株式会社
塗布装置
1か月前
続きを見る
他の特許を見る