TOP
|
特許
|
意匠
|
商標
特許ウォッチ
Twitter
他の特許を見る
公開番号
2025168837
公報種別
公開特許公報(A)
公開日
2025-11-12
出願番号
2024073636
出願日
2024-04-30
発明の名称
ノズル部材
出願人
株式会社吉野工業所
代理人
個人
,
個人
,
個人
主分類
B05B
11/10 20230101AFI20251105BHJP(霧化または噴霧一般;液体または他の流動性材料の表面への適用一般)
要約
【課題】液体を直流状に遠くまで噴出できるノズル部材を提供する。
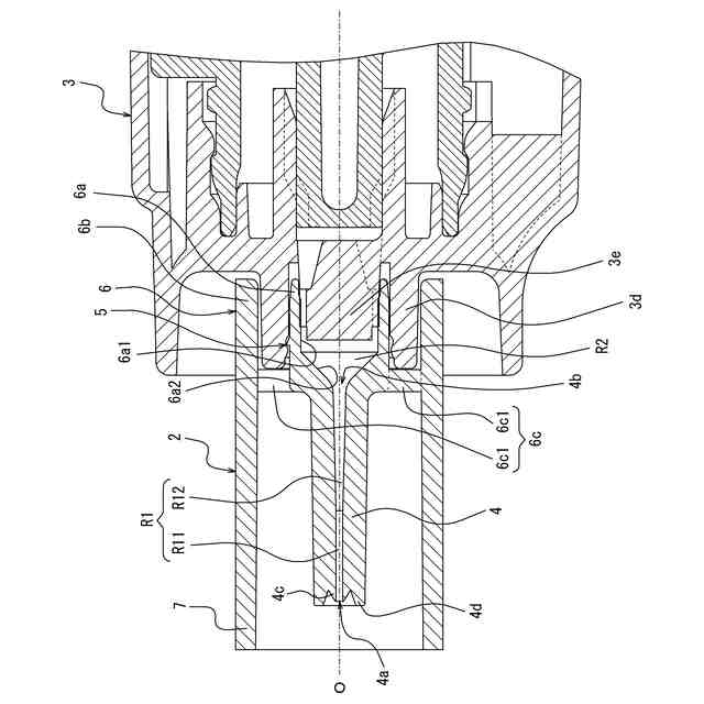
【解決手段】容器本体の口部に装着され操作に応じてポンプ室を拡縮させて容器本体内の液体をポンプ室を通して外部へ噴出する噴出器1のノズル部材2であって、液体を外部へ直流状に噴出する噴出口となる先端開口4aまで長尺に延びる長尺流路R1と、先端開口4aを頂点として先端側に突出し先端側に向けて徐々に縮径する円錐状の突出部4cとを有し、長尺流路R1は、先端開口4aまで長尺に延びる柱体形状のストレート流路R11と、先端側に向けて徐々に縮径しながらストレート流路R11の基端まで長尺に延びる錐台形状の縮径流路R12とを有する、ノズル部材2。
【選択図】図1
特許請求の範囲
【請求項1】
容器本体の口部に装着され操作に応じて前記容器本体内の液体を外部へ噴出する噴出器のノズル部材であって、
前記液体を前記外部へ直流状に噴出する噴出口となる先端開口まで長尺に延びる長尺流路と、前記先端開口を頂点として先端側に突出し前記先端側に向けて徐々に縮径する突出部とを有し、
前記長尺流路は、前記先端開口まで長尺に延びる柱体形状のストレート流路と、前記先端側に向けて徐々に縮径しながら前記ストレート流路の基端まで長尺に延びる錐台形状の縮径流路とを有する、ノズル部材。
続きを表示(約 390 文字)
【請求項2】
前記噴出器は嵌合周壁を有し、
前記ノズル部材は、前記長尺流路を有する噴出筒部と、前記噴出筒部の基端部に連なり前記嵌合周壁に嵌合することで装着される装着部とを有し、
前記装着部は、前記嵌合周壁の内周面に沿って配置される内筒部と、前記嵌合周壁の外周面に沿って配置される外筒部と、前記嵌合周壁の先端面に沿って配置され、前記内筒部と前記外筒部とを連ねる連結部とを有し、
前記内筒部の内周面は、前記長尺流路の基端開口に連通する連通流路を区画し、
前記ノズル部材は、前記外筒部の先端部から前記先端側に延びて前記噴出筒部の先端部の外周を覆う保護筒部を有する、請求項1に記載のノズル部材。
【請求項3】
容器本体の口部に装着され操作に応じて前記容器本体内の液体を外部へ噴出する噴出器であって、請求項1に記載のノズル部材を有する噴出器。
発明の詳細な説明
【技術分野】
【0001】
本発明はノズル部材に関する。
続きを表示(約 1,200 文字)
【背景技術】
【0002】
容器本体の口部に装着され操作に応じて容器本体内の液体を外部へ噴出する噴出器のノズル部材が知られている(例えば特許文献1参照)。
【先行技術文献】
【特許文献】
【0003】
特開2023-51052号公報
【発明の概要】
【発明が解決しようとする課題】
【0004】
本発明の目的は、液体を直流状に遠くまで噴出できるノズル部材を提供することにある。
【課題を解決するための手段】
【0005】
本発明の一態様は以下のとおりである。
【0006】
[1]
容器本体の口部に装着され操作に応じて前記容器本体内の液体を外部へ噴出する噴出器のノズル部材であって、
前記液体を前記外部へ直流状に噴出する噴出口となる先端開口まで長尺に延びる長尺流路と、前記先端開口を頂点として先端側に突出し前記先端側に向けて徐々に縮径する突出部とを有し、
前記長尺流路は、前記先端開口まで長尺に延びる柱体形状のストレート流路と、前記先端側に向けて徐々に縮径しながら前記ストレート流路の基端まで長尺に延びる錐台形状の縮径流路とを有する、ノズル部材。
【0007】
[2]
前記噴出器は嵌合周壁を有し、
前記ノズル部材は、前記長尺流路を有する噴出筒部と、前記噴出筒部の基端部に連なり前記嵌合周壁に嵌合することで装着される装着部とを有し、
前記装着部は、前記嵌合周壁の内周面に沿って配置される内筒部と、前記嵌合周壁の外周面に沿って配置される外筒部と、前記嵌合周壁の先端面に沿って配置され、前記内筒部と前記外筒部とを連ねる連結部とを有し、
前記内筒部の内周面は、前記長尺流路の基端開口に連通する連通流路を区画し、
前記ノズル部材は、前記外筒部の先端部から前記先端側に延びて前記噴出筒部の先端部の外周を覆う保護筒部を有する、[1]に記載のノズル部材。
【0008】
[3]
容器本体の口部に装着され操作に応じて前記容器本体内の液体を外部へ噴出する噴出器であって、[1]又は[2]に記載のノズル部材を有する噴出器。
【発明の効果】
【0009】
本発明によれば、液体を直流状に遠くまで噴出できるノズル部材を提供することができる。
【図面の簡単な説明】
【0010】
本発明の一実施形態における噴出器を示す一部断面外観図である。
図1の部分拡大図である。
図2に示すノズル部材の断面図である。
図3に示すノズル部材を基端側から見た時の外観図である。
【発明を実施するための形態】
(【0011】以降は省略されています)
この特許をJ-PlatPat(特許庁公式サイト)で参照する
関連特許
株式会社吉野工業所
蓋体
9日前
株式会社吉野工業所
吐出器
4日前
株式会社吉野工業所
吐出器
9日前
株式会社吉野工業所
歯ブラシ
9日前
株式会社吉野工業所
吐出容器
4日前
株式会社吉野工業所
吐出容器
4日前
株式会社吉野工業所
繰出容器
4日前
株式会社吉野工業所
ノズル部材
4日前
株式会社吉野工業所
計量注出容器
4日前
株式会社吉野工業所
吐出キャップ
5日前
株式会社吉野工業所
スパウト容器
9日前
株式会社吉野工業所
計量注出容器
9日前
株式会社吉野工業所
ねじキャップ
4日前
株式会社吉野工業所
スポイト容器
9日前
株式会社吉野工業所
計量注出容器
10日前
株式会社吉野工業所
パウダー容器
4日前
株式会社吉野工業所
ポンプ式吐出器
9日前
株式会社吉野工業所
フォーマポンプ
9日前
株式会社吉野工業所
合成樹脂製容器
4日前
株式会社吉野工業所
把手付きボトル
4日前
株式会社吉野工業所
ブラシ型塗布具
4日前
株式会社吉野工業所
ねじキャップ容器
4日前
株式会社吉野工業所
ポンプ式泡吐出容器
4日前
株式会社吉野工業所
ポンプ携帯ホルダー
4日前
株式会社吉野工業所
トリガー式液体噴出器
4日前
株式会社吉野工業所
トリガー式液体噴出器
4日前
株式会社吉野工業所
携帯補助具を備えた容器
9日前
株式会社吉野工業所
圧縮ばね部材及び吐出器
9日前
花王株式会社
吐出容器
1か月前
花王株式会社
吐出容器
1か月前
株式会社吉野工業所
樹脂製品製造方法及び樹脂製品
4日前
株式会社吉野工業所
リフィル容器、および蓋付き容器
9日前
株式会社吉野工業所
容器、容器の製造方法、及び積層シートのオーバーラップ部の検出方法
4日前
個人
微細霧発生装置
9日前
ベック株式会社
被膜形成方法
4日前
ベック株式会社
被膜形成方法
4日前
続きを見る
他の特許を見る