TOP
|
特許
|
意匠
|
商標
特許ウォッチ
Twitter
他の特許を見る
10個以上の画像は省略されています。
公開番号
2025167740
公報種別
公開特許公報(A)
公開日
2025-11-07
出願番号
2024072612
出願日
2024-04-26
発明の名称
スポイト容器
出願人
株式会社吉野工業所
代理人
個人
,
個人
,
個人
,
個人
主分類
B65D
47/20 20060101AFI20251030BHJP(運搬;包装;貯蔵;薄板状または線条材料の取扱い)
要約
【課題】部品を設計変更して新規に作製しなくても、スポイト管の下端開口から吸い上げられる容器本体の内容物の量を変更する。
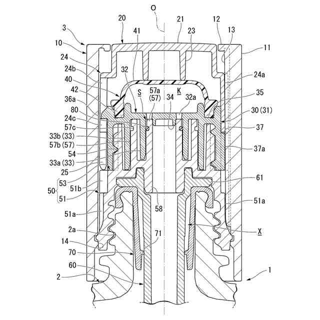
【解決手段】容器本体2、内キャップ50、スポイト管60、外キャップ10、作動部材30、および操作部材40を備え、内キャップおよび作動部材のうち、いずれか一方には、内側がスポイト管の上端開口に連通する作動空間Sとされた摺動筒部33が設けられるとともに、いずれか他方には、作動部材が内キャップに対して上下動するのに伴い、摺動筒部を摺動して作動空間を拡縮する摺動リング80が設けられ、摺動リングは、摺動筒部との間に径方向の隙間を設けた状態で設けられた保持筒部57に固定され、摺動筒部および保持筒部は複数組設けられ、摺動リングは、複数の保持筒部のうちの1つに固定され、かつ複数の摺動筒部のうちの1つを摺動する。
【選択図】図1
特許請求の範囲
【請求項1】
内容物を収容する有底筒状の容器本体と、
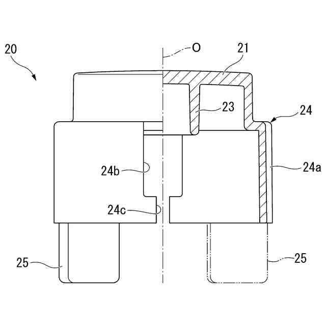
前記容器本体の口部に着脱可能に外装され、容器軸回りの回転に伴い前記口部に着脱される内キャップと、
前記内キャップから下方に向けて延び、下端開口が前記容器本体内に位置するスポイト管と、
前記内キャップに、所定量以上の容器軸回りの回転が規制された状態で、容器軸回りに回転可能に外装された外キャップと、
前記外キャップ内に設けられ、前記外キャップに対する容器軸回りの回転が規制されるとともに、前記内キャップに対して容器軸回りに回転することで前記内キャップに対して上下動する作動部材と、
前記作動部材に取付けられ、前記作動部材との間に、前記スポイト管の上端開口に連通する拡縮空間を画成する操作部材と、を備え、
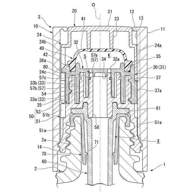
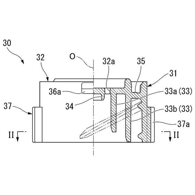
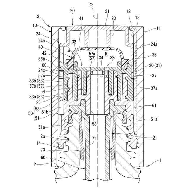
前記内キャップおよび前記作動部材のうちのいずれか一方には、内側が前記スポイト管の上端開口に連通する作動空間とされた摺動筒部が設けられるとともに、前記内キャップおよび前記作動部材のうちのいずれか他方には、前記作動部材が前記内キャップに対して上下動するのに伴い、前記摺動筒部を摺動して前記作動空間を拡縮する摺動リングが設けられ、
前記摺動リングは、前記摺動筒部との間に径方向の隙間を設けた状態で設けられた保持筒部に固定され、
前記摺動筒部および前記保持筒部は複数組設けられ、
前記摺動リングは、複数の前記保持筒部のうちの1つに固定され、かつ複数の前記摺動筒部のうちの1つを摺動する、スポイト容器。
続きを表示(約 87 文字)
【請求項2】
前記保持筒部には周溝が形成され、
前記摺動リングは、Oリングとされるとともに、前記周溝に嵌合されている、請求項1に記載のスポイト容器。
発明の詳細な説明
【技術分野】
【0001】
本発明は、スポイト容器に関する。
続きを表示(約 2,500 文字)
【背景技術】
【0002】
従来から、特許文献1に示されるように、内容物を収容する有底筒状の容器本体と、容器本体の口部に着脱可能に外装され、容器軸回りの回転に伴い口部に着脱される内キャップと、内キャップから下方に向けて延び、下端開口が容器本体内に位置するスポイト管と、内キャップに、所定量以上の容器軸回りの回転が規制された状態で、容器軸回りに回転可能に外装された外キャップと、外キャップ内に設けられ、外キャップに対する容器軸回りの回転が規制されるとともに、内キャップに対して容器軸回りに回転することで内キャップに対して上下動する作動部材と、作動部材に取付けられ、作動部材との間に、スポイト管の上端開口に連通する拡縮空間を画成する操作部材と、を備え、作動部材には、内側がスポイト管の上端開口に連通する作動空間とされた摺動筒部が設けられ、内キャップには、作動部材が内キャップに対して上下動するのに伴い、摺動筒部の内周面を摺動して作動空間を拡縮する摺動リングが設けられ、摺動リングは、摺動筒部内に径方向の隙間を設けた状態で挿入された保持筒部に外嵌されて固定されている、スポイト容器が知られている。
このスポイト容器では、まず、容器本体に対して外キャップを容器軸回りに回転させると、所定量の範囲内で外キャップが内キャップに対して回転する。このとき、外キャップに対する回転が規制された作動部材も、内キャップに対して回転しながら上昇する。これにより、摺動リングおよび摺動筒部が互いに摺接し、作動空間の容積の増大に伴って作動空間内が負圧となる。したがって、作動空間に連通しているスポイト管内も負圧となり、スポイト管の下端開口から容器本体の内容物を吸い上げることができる。この際、作動空間の容積の増大量は、摺動リングに対する摺動筒部の上昇量に基づいて決まるため、外キャップを内キャップに対して所定量回転させる操作により、スポイト管内に略定量の内容物を吸い上げることができる。
その後、外キャップの回転をさらに継続すると、外キャップおよび内キャップが一体に容器本体に対して回転することとなり、内キャップが容器本体の口部から離脱され、スポイト管が容器本体内から引き出される。
【先行技術文献】
【特許文献】
【0003】
特開2024-41402号公報
【発明の概要】
【発明が解決しようとする課題】
【0004】
上記した従来のスポイト容器では、スポイト管の下端開口から吸い上げられる容器本体の内容物の量が、摺動リングに対する摺動筒部の上昇量に基づいて決まるため、吸い上げる内容物の量が異なるスポイト容器を得るためには、内キャップ、外キャップ、および作動部材等といった多くの部品を設計変更して新規に作製する必要があった。
【0005】
本発明は、部品を設計変更して新規に作製しなくても、スポイト管の下端開口から吸い上げられる容器本体の内容物の量を変更することができるスポイト容器を提供する。
【課題を解決するための手段】
【0006】
本発明の一態様に係るスポイト容器は、内容物を収容する有底筒状の容器本体と、前記容器本体の口部に着脱可能に外装され、容器軸回りの回転に伴い前記口部に着脱される内キャップと、前記内キャップから下方に向けて延び、下端開口が前記容器本体内に位置するスポイト管と、前記内キャップに、所定量以上の容器軸回りの回転が規制された状態で、容器軸回りに回転可能に外装された外キャップと、前記外キャップ内に設けられ、前記外キャップに対する容器軸回りの回転が規制されるとともに、前記内キャップに対して容器軸回りに回転することで前記内キャップに対して上下動する作動部材と、前記作動部材に取付けられ、前記作動部材との間に、前記スポイト管の上端開口に連通する拡縮空間を画成する操作部材と、を備え、前記内キャップおよび前記作動部材のうちのいずれか一方には、内側が前記スポイト管の上端開口に連通する作動空間とされた摺動筒部が設けられるとともに、前記内キャップおよび前記作動部材のうちのいずれか他方には、前記作動部材が前記内キャップに対して上下動するのに伴い、前記摺動筒部を摺動して前記作動空間を拡縮する摺動リングが設けられ、前記摺動リングは、前記摺動筒部との間に径方向の隙間を設けた状態で設けられた保持筒部に固定され、前記摺動筒部および前記保持筒部は複数組設けられ、前記摺動リングは、複数の前記保持筒部のうちの1つに固定され、かつ複数の前記摺動筒部のうちの1つを摺動する。
【0007】
上記態様によれば、摺動筒部および保持筒部が複数組設けられ、摺動リングが、複数の保持筒部のうちの1つに固定され、かつ複数の前記摺動筒部のうちの1つを摺動する。したがって、摺動リングを固定する保持筒部を複数の保持筒部の中から選択し、かつ摺動リングが摺動する摺動筒部を複数の摺動筒部の中から選択することによって、作動空間の広さを変更することが可能になり、摺動リングに対する摺動筒部の上下方向の移動量を変更しなくても、スポイト管の下端開口から吸い上げられる容器本体の内容物を変更することができる。これにより、部品を設計変更して新規に作製しなくても、スポイト管の下端開口から吸い上げられる容器本体の内容物の量を変更することができる。
【0008】
前記保持筒部には周溝が形成され、前記摺動リングは、Oリングとされるとともに、前記周溝に嵌合されてもよい。
【0009】
摺動リングが、Oリングとされるとともに、保持筒部に形成された周溝に嵌合されているので、保持筒部からの径方向の突出量を抑えつつ、摺動リングを保持筒部に容易かつ確実に固定することができる。
【発明の効果】
【0010】
本発明の上記態様によれば、部品を設計変更して新規に作製しなくても、スポイト管の下端開口から吸い上げられる容器本体の内容物の量を変更することができる。
【図面の簡単な説明】
(【0011】以降は省略されています)
この特許をJ-PlatPat(特許庁公式サイト)で参照する
関連特許
株式会社吉野工業所
蓋体
1か月前
株式会社吉野工業所
吐出器
1か月前
株式会社吉野工業所
吐出器
26日前
株式会社吉野工業所
歯ブラシ
1か月前
株式会社吉野工業所
吐出容器
26日前
株式会社吉野工業所
吐出容器
26日前
株式会社吉野工業所
繰出容器
26日前
株式会社吉野工業所
ノズル部材
26日前
株式会社吉野工業所
パウダー容器
26日前
株式会社吉野工業所
スポイト容器
1か月前
株式会社吉野工業所
計量注出容器
1か月前
株式会社吉野工業所
計量注出容器
26日前
株式会社吉野工業所
スパウト容器
1か月前
株式会社吉野工業所
ねじキャップ
26日前
株式会社吉野工業所
計量注出容器
1か月前
株式会社吉野工業所
吐出キャップ
27日前
株式会社吉野工業所
ポンプ式吐出器
1か月前
株式会社吉野工業所
フォーマポンプ
1か月前
株式会社吉野工業所
ポンプ式吐出器
1か月前
株式会社吉野工業所
合成樹脂製容器
26日前
株式会社吉野工業所
把手付きボトル
26日前
株式会社吉野工業所
ブラシ型塗布具
26日前
株式会社吉野工業所
ねじキャップ容器
26日前
株式会社吉野工業所
ポンプ式泡吐出容器
26日前
株式会社吉野工業所
ポンプ携帯ホルダー
26日前
株式会社吉野工業所
トリガー式液体噴出器
26日前
株式会社吉野工業所
トリガー式液体噴出器
26日前
株式会社吉野工業所
携帯補助具を備えた容器
1か月前
株式会社吉野工業所
圧縮ばね部材及び吐出器
1か月前
花王株式会社
吐出容器
1か月前
花王株式会社
吐出容器
1か月前
株式会社吉野工業所
樹脂製品製造方法及び樹脂製品
26日前
株式会社吉野工業所
リフィル容器、および蓋付き容器
1か月前
ホーユー株式会社
エアゾール容器用吐出具
18日前
株式会社吉野工業所
容器、容器の製造方法、及び積層シートのオーバーラップ部の検出方法
26日前
個人
束ね具
27日前
続きを見る
他の特許を見る