TOP
|
特許
|
意匠
|
商標
特許ウォッチ
Twitter
他の特許を見る
公開番号
2025153178
公報種別
公開特許公報(A)
公開日
2025-10-10
出願番号
2024055514
出願日
2024-03-29
発明の名称
スポイト容器
出願人
株式会社吉野工業所
代理人
個人
,
個人
,
個人
,
個人
主分類
B65D
47/18 20060101AFI20251002BHJP(運搬;包装;貯蔵;薄板状または線条材料の取扱い)
要約
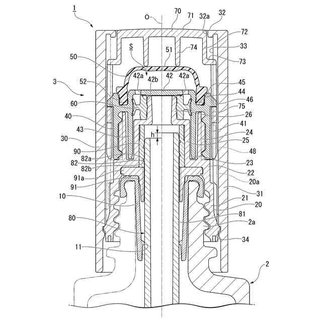
【課題】内容物の残量を確実に低減できるスポイト容器を提供する。
【解決手段】スポイト容器1は、内容物を収容する有底筒状の容器本体2と、容器本体2の口部2aに着脱可能に装着されたスポイト3と、を備え、スポイト3は、容器本体2の底面2bに向かって延びるスポイト管80と、スポイト管80の上端開口と連通する拡縮空間Sを画成する操作部材50と、を備え、スポイト管80は、容器本体2の底面2bとの接触によって、操作部材50に対して上方に移動可能に設けられ、スポイト管80の下端及び容器本体2の底面2bの少なくとも一方には、スポイト管80の内側と外側とを連通させる吸上げ流路81が形成されている。
【選択図】図1
特許請求の範囲
【請求項1】
内容物を収容する有底筒状の容器本体と、
前記容器本体の口部に着脱可能に装着されたスポイトと、を備え、
前記スポイトは、
前記容器本体の底面に向かって延びるスポイト管と、
前記スポイト管の上端開口と連通する拡縮空間を画成する操作部材と、を備え、
前記スポイト管は、前記容器本体の底面との接触によって、前記操作部材に対して上方に移動可能に設けられ、
前記スポイト管の下端及び前記容器本体の底面の少なくとも一方には、前記スポイト管の内側と外側とを連通させる吸上げ流路が形成されている、
スポイト容器。
続きを表示(約 220 文字)
【請求項2】
前記スポイトは、前記操作部材側に設けられ、前記スポイト管よりも柔らかい軟質筒部を有し、
前記スポイト管の外周面には、前記軟質筒部の内周面に係合する係合爪部が設けられ、
前記係合爪部の上向き面は、上方に向かうに従って前記スポイト管の径方向内側に向かう傾斜形状を有し、
前記係合爪部の下向き面は、前記スポイト管の径方向外側に真直ぐ延びる平面形状を有する、
請求項1に記載のスポイト容器。
発明の詳細な説明
【技術分野】
【0001】
本発明は、スポイト容器に関する。
続きを表示(約 1,500 文字)
【背景技術】
【0002】
従来から、特許文献1に示されるように、スポイトを有するスポイト容器が用いられている。このスポイト容器は、口部を備えた容器本体と、前記口部に着脱自在に装着されるキャップと、前記キャップに取り付けられたスポイトと、を有する。
【先行技術文献】
【特許文献】
【0003】
特開2022-184186号公報
【発明の概要】
【発明が解決しようとする課題】
【0004】
ところで、上記従来のスポイト容器では、容器本体及びスポイト管の成形時の寸法バラツキ等の対策として、スポイト管の下端部と容器本体の底面との間に、隙間が設けられている。このため、上記スポイト容器は、スポイト管を下方に移動させる機構を備えているが、下方に移動させる操作の程度によっては、スポイト管の下端が容器本体の底面に達しない場合があるため、内容物を最後まで吸い上げることができない懸念があった。
【0005】
本発明は、このような事情に鑑みてなされたものであって、その目的は、内容物の残量を確実に低減できるスポイト容器を提供することである。
【課題を解決するための手段】
【0006】
(1)本発明に係るスポイト容器は、内容物を収容する有底筒状の容器本体と、前記容器本体の口部に着脱可能に装着されたスポイトと、を備え、前記スポイトは、前記容器本体の底面に向かって延びるスポイト管と、前記スポイト管の上端開口と連通する拡縮空間を画成する操作部材と、を備え、前記スポイト管は、前記容器本体の底面との接触によって、前記操作部材に対して上方に移動可能に設けられ、前記スポイト管の下端及び前記容器本体の底面の少なくとも一方には、前記スポイト管の内側と外側とを連通させる吸上げ流路が形成されている。
【0007】
本発明に係るスポイト容器によれば、スポイト管の下端が容器本体の底面に接触すると、スポイト管が操作部材に対して上方に移動する。したがって、スポイト管の下端と容器本体の底面の距離がゼロとなるように、スポイト管の露出長さを自動調整することができる。このスポイト管の上方移動が可能であるため、容器本体及びスポイト管の寸法バラツキを考慮した上で、初期状態(スポイトの装着前)でスポイト管の下端が容器本体の底面に必ず接触するように設計することができる。そして、スポイト管の下端及び容器本体の底面の少なくとも一方には、スポイト管の内側と外側とを連通させる吸上げ流路が形成されているため、スポイト管の下端が容器本体の底面に接触した状態で、内容物を吸い上げることができる。このため、容器本体の内容物の残量を確実に低減することができる。
【0008】
(2)前記スポイトは、前記操作部材側に設けられ、前記スポイト管よりも柔らかい軟質筒部を有し、前記スポイト管の外周面には、前記軟質筒部の内周面に係合する係合爪部が設けられ、前記係合爪部の上向き面は、上方に向かうに従って前記スポイト管の径方向内側に向かう傾斜形状を有し、前記係合爪部の下向き面は、前記スポイト管の径方向外側に真直ぐ延びる平面形状を有してもよい。
【0009】
この場合には、スポイト管が上方移動するときに、係合爪部の上向き面の傾斜形状によって、スポイト管が軟質筒部に対して摺動し易くなる。また、係合爪部の下向き面は平面形状であるため、スポイト管が軟質筒部から下方に抜け難くなる。
【発明の効果】
【0010】
本発明に係るスポイト容器によれば、内容物の残量を確実に低減できる。
【図面の簡単な説明】
(【0011】以降は省略されています)
この特許をJ-PlatPat(特許庁公式サイト)で参照する
関連特許
株式会社吉野工業所
蓋体
1か月前
株式会社吉野工業所
吐出器
1か月前
株式会社吉野工業所
吐出器
25日前
株式会社吉野工業所
歯ブラシ
1か月前
株式会社吉野工業所
塗布容器
1か月前
株式会社吉野工業所
吐出容器
1か月前
株式会社吉野工業所
塗布容器
1か月前
株式会社吉野工業所
繰出容器
25日前
株式会社吉野工業所
吐出容器
25日前
株式会社吉野工業所
吐出容器
25日前
株式会社吉野工業所
ノズル部材
25日前
株式会社吉野工業所
吐出ポンプ
1か月前
株式会社吉野工業所
ねじキャップ
25日前
株式会社吉野工業所
吐出キャップ
26日前
株式会社吉野工業所
計量注出容器
1か月前
株式会社吉野工業所
計量注出容器
1か月前
株式会社吉野工業所
スポイト容器
1か月前
株式会社吉野工業所
パウダー容器
25日前
株式会社吉野工業所
スポイト容器
1か月前
株式会社吉野工業所
削り出し容器
1か月前
株式会社吉野工業所
計量注出容器
25日前
株式会社吉野工業所
スパウト容器
1か月前
株式会社吉野工業所
ポンプ式吐出器
1か月前
株式会社吉野工業所
ポンプ式吐出器
1か月前
株式会社吉野工業所
合成樹脂製壜体
1か月前
株式会社吉野工業所
コンパクト容器
1か月前
株式会社吉野工業所
ポンプ式吐出器
1か月前
株式会社吉野工業所
ポンプ式吐出器
1か月前
株式会社吉野工業所
フォーマポンプ
1か月前
株式会社吉野工業所
ブラシ型塗布具
25日前
株式会社吉野工業所
把手付きボトル
25日前
株式会社吉野工業所
合成樹脂製容器
25日前
株式会社吉野工業所
ポンプ式吐出容器
1か月前
株式会社吉野工業所
ねじキャップ容器
25日前
株式会社吉野工業所
キャップ付き吐出栓
1か月前
株式会社吉野工業所
ポンプ式泡吐出容器
25日前
続きを見る
他の特許を見る