TOP
|
特許
|
意匠
|
商標
特許ウォッチ
Twitter
他の特許を見る
公開番号
2025168722
公報種別
公開特許公報(A)
公開日
2025-11-12
出願番号
2024073410
出願日
2024-04-30
発明の名称
ポンプ式泡吐出容器
出願人
株式会社吉野工業所
代理人
個人
主分類
B65D
47/34 20060101AFI20251105BHJP(運搬;包装;貯蔵;薄板状または線条材料の取扱い)
要約
【課題】従来と同じようにして泡状の内容液を吐出することが可能であって、さらにリサイクル性にも優れるポンプ式泡吐出容器を提案する。
【解決手段】ポンプ式泡吐出容器1は、収容空間S1が形成された容器本体2と、キャップ3と、を備え、キャップ3は、押下ヘッド10と、圧力空間S2が形成され、弾性変形可能な第一変形壁部32と、圧力空間S2から収容空間S1に空気を送給する第一流路R1と、内容液Lと空気とを合流させる合流空間S4が形成された中壁部と、連結空間S5が形成され、弾性変形可能な第二変形壁部76bと、合流空間S4及び連結空間S5を含んで構成され、吐出口10hに向けて内容液Lを送給する第二流路R2と、第二流路R2に設けられた発泡部材75と、を有し、第一変形壁部32及び第二変形壁部76bは、合成樹脂材料によって形成されている。
【選択図】図1
特許請求の範囲
【請求項1】
内容液を収容するための収容空間が形成された本体部と、前記本体部の一端に設けられた口部と、を有する容器本体と、
前記口部に装着されるキャップと、を備え、
前記キャップは、
前記容器本体に向けて押下操作可能であって、内容液を外部空間へ吐出するための吐出口と前記吐出口に通じる内部通路とが設けられた押下ヘッドと、
内側に圧力空間が形成され、前記押下ヘッドの押下操作によって弾性変形可能な第一変形壁部と、
前記外部空間と前記圧力空間とを連通させ、前記外部空間の空気を前記圧力空間に導入する導入口と、
前記導入口を通過する空気の流れを規制可能であって、前記外部空間から前記圧力空間への空気の流入を許容する一方で、前記圧力空間から前記外部空間への空気の流出を遮断する第一逆止弁と、
前記圧力空間と前記収容空間とを連通させ、前記圧力空間から前記収容空間に向けて空気を送給する第一流路と、
内側に内容液と空気とを合流させる合流空間が形成され、前記合流空間に前記収容空間の空気を取り込む空気通過口が設けられた中壁部と、
前記合流空間よりも下流において内側に連結空間が形成され、前記押下ヘッドの押下操作によって弾性変形可能な第二変形壁部と、
前記合流空間及び前記連結空間を含んで構成され、前記収容空間と前記内部通路とを連通させ、前記収容空間から前記内部通路に向けて内容液を送給する第二流路と、
前記第二流路を通過する内容液の流れを規制可能であって、前記収容空間から前記内部通路への内容液の流出を許容する一方で、前記内部通路から前記収容空間への内容液の流入を遮断する第二逆止弁と、
前記第二流路又は前記内部通路に設けられる発泡部材と、を有し、
前記第一変形壁部及び前記第二変形壁部は、合成樹脂材料によって形成されている、ポンプ式泡吐出容器。
続きを表示(約 1,400 文字)
【請求項2】
前記キャップは、
前記第二流路の上流側を構成し、前記収容空間内を延在する送給筒と、
前記第二流路を通過する内容液及び空気の流れを規制可能であって、前記送給筒内から前記合流空間への内容液の流出を許容する一方で、前記合流空間から前記送給筒内への空気の流入を遮断する第三逆止弁と、をさらに有する、請求項1に記載のポンプ式泡吐出容器。
【請求項3】
前記キャップは、
前記第二変形壁部の上端側において前記第二変形壁部と繋がる上壁部と、
前記第二変形壁部の下端側において前記第二変形壁部と繋がる下壁部と、をさらに有し、
前記第二逆止弁は、
前記第二流路内において前記上壁部よりも上方に位置する上端部と、
前記第二流路内において前記下壁部よりも下方に位置する下端部と、
前記上端部及び前記下端部を接続する接続部と、を含み、
前記押下ヘッドが上昇限に移動した状態において、前記上端部が前記上壁部に接触するとともに前記下端部が前記下壁部に接触し、
前記上壁部と前記上端部との接触、及び、前記下壁部と前記下端部との接触のうち少なくとも一方によって前記第二流路が閉鎖される、請求項1又は2に記載のポンプ式泡吐出容器。
【請求項4】
前記キャップは、内容液通過口が設けられた隔壁部をさらに有し、
前記上端部は、
前記押下ヘッドが上昇限に移動した状態において、前記上壁部に接触する底壁部と、
前記底壁部に立設され、前記押下ヘッドが下降限に移動した状態において、前記隔壁部に接する側壁部と、を含み、
前記側壁部には、該側壁部が前記隔壁部に接した状態においても内容液を通過させる切り欠き部が設けられている、請求項3に記載のポンプ式泡吐出容器。
【請求項5】
前記キャップは、
前記圧力空間と前記収容空間とを隔てる中栓と、
前記押下ヘッドに固定され、前記第二変形壁部を囲むように前記圧力空間を延在する中筒部と、をさらに有し、
前記中栓は、
前記口部を覆う板状部と、
前記板状部に設けられ、前記中筒部を支持するとともに前記圧力空間と前記収容空間とに亘って延在する案内筒と、を含み、
前記中筒部の一端部が前記押下ヘッドに連結されるとともに前記中筒部の他端部が前記案内筒に支持されており、
前記中筒部と前記案内筒との間の隙間によって前記第一流路が形成されている、請求項1又は2に記載のポンプ式泡吐出容器。
【請求項6】
前記中筒部及び前記案内筒のいずれか一方には、前記中筒部及び前記案内筒のいずれか他方に向けて全周に亘って突出する突出部が形成されており、
前記中筒部及び前記案内筒のいずれか他方には、前記中筒部及び前記案内筒の延在方向に前記突出部を全周に亘って係止する係止部が形成されており、
使用開始前の状態において前記第一流路が前記突出部及び前記係止部によって封止される一方で、前記押下ヘッドが押下操作された状態において前記突出部と前記係止部との係止が解除されることによって前記中筒部及び前記案内筒の隙間に前記第一流路が形成される、請求項5に記載のポンプ式泡吐出容器。
発明の詳細な説明
【技術分野】
【0001】
本発明は、ポンプ式泡吐出容器に関する。
続きを表示(約 2,200 文字)
【背景技術】
【0002】
ポンプ式泡吐出容器として、容器本体と、容器の口部に装着されるキャップと、キャップにより口部に保持されステムが進退移動することによって駆動するフォーマーポンプと、ステムに連結する吐出ヘッドとを備え、吐出ヘッドをキャップに向けて移動させることによって容器本体内の内容液と空気とを混合・起泡させ、吐出ヘッドの吐出口から泡として吐出させるものが既知である(例えば特許文献1参照)。
【0003】
このようなポンプ式泡吐出容器の内部には、特許文献1に示されているように、キャップに向けて移動させた吐出ヘッドを初期位置に復帰させるためにコイルスプリングが設けられている。
【先行技術文献】
【特許文献】
【0004】
特開2013-133138号公報
【発明の概要】
【発明が解決しようとする課題】
【0005】
ところで、このようなポンプ式泡吐出容器において、大部分の部材は合成樹脂製であるものの、コイルスプリングは金属製である。このため使用後に廃棄するにあたって、このままの状態では樹脂品としてリサイクルすることができない。また一般にこの種のポンプ式泡吐出容器では、通常の使用時において部材が外れてしまうことを避けるべく、例えば嵌合等によって部材同士は強固に固定されている。したがって、ポンプ式泡吐出容器を分解してコイルスプリングと他の部材とに分別するにも手間を要することとなる。
【0006】
本発明はこのような問題点を解決することを課題とするものであって、従来と同じようにして泡状の内容液を吐出することが可能であって、さらにリサイクル性にも優れるポンプ式泡吐出容器を提案することを目的とする。
【課題を解決するための手段】
【0007】
本発明は、内容液を収容するための収容空間が形成された本体部と、前記本体部の一端に設けられた口部と、を有する容器本体と、前記口部に装着されるキャップと、を備え、前記キャップは、前記容器本体に向けて押下操作可能であって、内容液を外部空間へ吐出するための吐出口と前記吐出口に通じる内部通路とが設けられた押下ヘッドと、内側に圧力空間が形成され、前記押下ヘッドの押下操作によって弾性変形可能な第一変形壁部と、前記外部空間と前記圧力空間とを連通させ、前記外部空間の空気を前記圧力空間に導入する導入口と、前記導入口を通過する空気の流れを規制可能であって、前記外部空間から前記圧力空間への空気の流入を許容する一方で、前記圧力空間から前記外部空間への空気の流出を遮断する第一逆止弁と、前記圧力空間と前記収容空間とを連通させ、前記圧力空間から前記収容空間に向けて空気を送給する第一流路と、内側に内容液と空気とを合流させる合流空間が形成され、前記合流空間に前記収容空間の空気を取り込む空気通過口が設けられた中壁部と、前記合流空間よりも下流において内側に連結空間が形成され、前記押下ヘッドの押下操作によって弾性変形可能な第二変形壁部と、前記合流空間及び前記連結空間を含んで構成され、前記収容空間と前記内部通路とを連通させ、前記収容空間から前記内部通路に向けて内容液を送給する第二流路と、前記第二流路を通過する内容液の流れを規制可能であって、前記収容空間から前記内部通路への内容液の流出を許容する一方で、前記内部通路から前記収容空間への内容液の流入を遮断する第二逆止弁と、前記第二流路又は前記内部通路に設けられる発泡部材と、を有し、前記第一変形壁部及び前記第二変形壁部は、合成樹脂材料によって形成されている、ポンプ式泡吐出容器である。
【発明の効果】
【0008】
本発明によれば、従来と同じようにして泡状の内容液を吐出することが可能であって、さらにリサイクル性にも優れるポンプ式泡吐出容器を提供することができる。
【図面の簡単な説明】
【0009】
図1は、本発明に係るポンプ式泡吐出容器の一実施形態における使用開始前の状態を示す側面視での断面図である。
図2は、図1に示したポンプ式泡吐出容器の一部を拡大して示す断面図である。
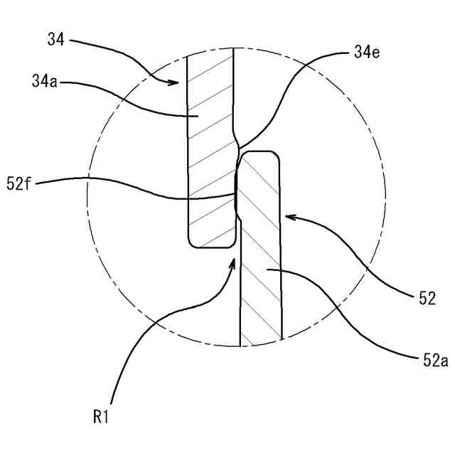
図3Aは、図1に示したポンプ式泡吐出容器の第一流路を説明するための図であり、第一流路が封止された状態を示すIII部分の拡大断面図である。
図3Bは、図1に示したポンプ式泡吐出容器の第一流路を説明するための図であり、第一流路が封止解除された状態を示すIII部分の拡大断面図である。
図4は、図1に示したポンプ式泡吐出容器に関し、押下操作された状態を説明するための断面図である。
【発明を実施するための形態】
【0010】
以下、本発明の実施形態について、図面を参照して詳細に説明する。説明において、同一の要素又は相当する要素には同一の符号を用い、重複する説明を省略する場合がある。説明の便宜上、ポンプ式泡吐出容器の正立姿勢を基準として、鉛直方向上側を示す「上」、鉛直方向下側を示す「下」の用語を用いる。また、ポンプ式泡吐出容器の口部(後述)の軸心を「軸心O」と称し、軸心Oに対して垂直な面内で軸心Oと直交する方向を「径方向」と称し、この面内で軸心Oを中心として周回する方向を「周方向」と称する。
(【0011】以降は省略されています)
この特許をJ-PlatPat(特許庁公式サイト)で参照する
関連特許
株式会社吉野工業所
蓋体
1か月前
株式会社吉野工業所
吐出器
1か月前
株式会社吉野工業所
吐出器
25日前
株式会社吉野工業所
吐出容器
25日前
株式会社吉野工業所
吐出容器
1か月前
株式会社吉野工業所
歯ブラシ
1か月前
株式会社吉野工業所
塗布容器
1か月前
株式会社吉野工業所
吐出容器
25日前
株式会社吉野工業所
塗布容器
1か月前
株式会社吉野工業所
二重容器
1か月前
株式会社吉野工業所
塗布容器
1か月前
株式会社吉野工業所
繰出容器
25日前
株式会社吉野工業所
ノズル部材
25日前
株式会社吉野工業所
化粧用容器
2か月前
株式会社吉野工業所
吐出ポンプ
1か月前
株式会社吉野工業所
スパウト容器
1か月前
株式会社吉野工業所
スポイト容器
1か月前
株式会社吉野工業所
計量注出容器
1か月前
株式会社吉野工業所
計量注出容器
1か月前
株式会社吉野工業所
ねじキャップ
25日前
株式会社吉野工業所
吐出キャップ
26日前
株式会社吉野工業所
スポイト容器
1か月前
株式会社吉野工業所
削り出し容器
1か月前
株式会社吉野工業所
パウダー容器
25日前
株式会社吉野工業所
計量注出容器
25日前
株式会社吉野工業所
合成樹脂製容器
25日前
株式会社吉野工業所
ポンプ式吐出器
1か月前
株式会社吉野工業所
ポンプ式吐出器
1か月前
株式会社吉野工業所
ポンプ式吐出器
1か月前
株式会社吉野工業所
フォーマポンプ
1か月前
株式会社吉野工業所
ポンプ式吐出器
1か月前
株式会社吉野工業所
把手付きボトル
1か月前
株式会社吉野工業所
合成樹脂製壜体
1か月前
株式会社吉野工業所
把手付きボトル
25日前
株式会社吉野工業所
ブラシ型塗布具
25日前
株式会社吉野工業所
コンパクト容器
1か月前
続きを見る
他の特許を見る