TOP
|
特許
|
意匠
|
商標
特許ウォッチ
Twitter
他の特許を見る
10個以上の画像は省略されています。
公開番号
2025154235
公報種別
公開特許公報(A)
公開日
2025-10-10
出願番号
2024057123
出願日
2024-03-29
発明の名称
削り出し容器
出願人
株式会社吉野工業所
代理人
個人
,
個人
,
個人
,
個人
主分類
B65D
83/00 20060101AFI20251002BHJP(運搬;包装;貯蔵;薄板状または線条材料の取扱い)
要約
【課題】安定且つ精度良く固形物を削り出すこと。
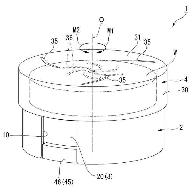
【解決手段】本体筒2と、固形物Wを支持する受皿21を有する可動部材3と、本体筒に対して容器軸O回りに回転可能に組み合わされた操作筒4と、本体筒に対して組み合わされた台座部材5と、受皿を上方に向けて押し上げる付勢部材70とを備え、可動部材は台座部材に対して回転が規制された状態で上方移動可能に組み合わされ、台座部材は、本体筒に対して周方向への移動が規制された操作部45と、径方向の内側に向けた操作部の変位を許容した状態で操作部を径方向の外側に向けて付勢する弾性連結片と、本体筒に対する台座部材の下方移動を規制すると共に操作部が径方向の内側に向けて変位したときに台座部材の上下移動を許容する規制部とを備え、操作筒の頂壁には固形物を切削する切削刃と、切削刃で切削した固形物を外部に排出する排出孔とが形成されている削り出し容器1を提供する。
【選択図】図2
特許請求の範囲
【請求項1】
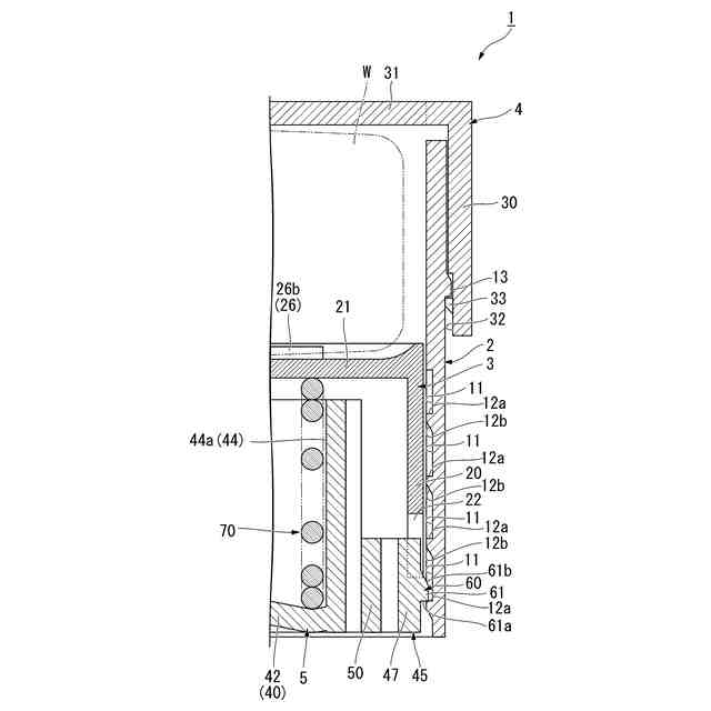
容器軸を中心として配置され、上下方向に延びる本体筒と、
前記本体筒内に上方移動可能に配置され、上面に固形物を支持する受皿を有する有頂筒状の可動部材と、
前記受皿の上方に配置されると共に前記受皿との間で前記固形物を上下方向に挟み込む頂壁を有し、前記本体筒に対して前記容器軸回りに相対回転可能に組み合わされた有頂筒状の操作筒と、
前記受皿よりも下方に配置された底壁を有し、前記本体筒に対して組み合わされた台座部材と、
前記受皿と前記底壁との間に配置され、前記受皿を上方に向けて押し上げる付勢部材と、を備え、
前記可動部材は、前記台座部材に対して、前記容器軸回りを周回する周方向への回転が規制された状態で上方移動可能に組み合わされ、
前記台座部材は、
前記底壁よりも前記容器軸に対して交差する径方向の外側に配置され、前記本体筒に対して前記周方向への移動が規制された操作部と、
前記底壁と前記操作部とを前記径方向に弾性変位可能に連結すると共に、前記径方向の内側に向けた前記操作部の変位を許容した状態で、前記操作部を前記径方向の外側に向けて付勢する弾性連結片と、
前記本体筒と協働して前記本体筒に対する前記台座部材の下方移動を規制すると共に、前記操作部が前記径方向の内側に向けて変位したときに前記台座部材の上下移動を許容する規制部と、を備え、
前記操作筒の前記頂壁には、
下方に向けて突出すると共に、前記操作筒の回転に伴って前記固形物の上面を切削する切削刃と、
前記切削刃に沿って前記頂壁を上下方向に貫通するように形成され、前記切削刃で切削した前記固形物を外部に排出する排出孔と、が形成されていることを特徴とする、削り出し容器。
続きを表示(約 790 文字)
【請求項2】
請求項1に記載の削り出し容器において、
前記本体筒の内周面には、前記径方向の外側に向けて窪むと共に、上下方向に間隔をあけて配置された複数の係合溝が形成され、
前記規制部は、前記径方向の外側に向かって突出すると共に、複数の前記係合溝のそれぞれに係合する係合突起を有し、
前記係合突起は、前記係合溝における下壁面に対して上方から係止する係止面を有すると共に、前記操作部が前記径方向の内側に向けて変位したときに、前記係合溝内から離脱して前記下壁面に対する前記係止面の係止が解除される、削り出し容器。
【請求項3】
請求項1に記載の削り出し容器において、
前記操作筒の前記頂壁の中心部には、下方に向けて突出すると共に、前記周方向に間隔をあけて配置された複数の中央刃が形成され、
複数の前記中央刃は、前記操作筒の回転に伴って前記固形物の上面を切削しながら、前記径方向の外側に押し出し、
前記切削刃及び前記排出孔は、前記容器軸方向から見た平面視で、複数の中央刃の回転軌跡よりも前記径方向の外側に配置されている、削り出し容器。
【請求項4】
請求項1に記載の削り出し容器において、
前記受皿の上面には、上方に向けて突出すると共に、前記固形物に対して係止することで前記受皿に対する前記固形物の相対回転を規制する複数の係止突起が形成され、
複数の前記係止突起の突出高さは、前記切削刃の突出高さよりも高く形成されている、削り出し容器。
【請求項5】
請求項1に記載の削り出し容器において、
前記受皿には、該受皿を上下方向に貫通する第1逃がし孔が形成され、
前記底壁には、該底壁を上下方向に貫通する第2逃がし孔が形成されている、削り出し容器。
発明の詳細な説明
【技術分野】
【0001】
本発明は、削り出し容器に関する。
続きを表示(約 3,000 文字)
【背景技術】
【0002】
石鹸等の固形物を使用するにあたって、固形物を使用したい量だけ簡便な操作で削り出すことができ、さらには容易に詰め替えを行うことができるような削り出し容器が求められている。
この種の削り出し容器として、例えば下記特許文献1に示されるように、固形物が収容される収容部と、収容部内において昇降可能な上昇底と、収容部を回転可能に格納する外側ケースと、切削手段及び切削された固形物を排出する排出口を有する回転蓋と、を具備する削り出し容器が知られている。
この削り出し容器では、回転蓋と収容部とが回転不能に組み合わされ、回転蓋と外側ケースとを相対的に回転させることで上昇底を上昇させることができ、切削手段によって固形物を削り出すことが可能とされている。
【先行技術文献】
【特許文献】
【0003】
特開2021-17249号公報
【発明の概要】
【発明が解決しようとする課題】
【0004】
しかしながら、上記従来の削り出し容器では、固形物の削り出しの初期段階から終了段階にわたって、固形物を安定して精度良く削り出すことが難しい場合があり、改善の余地がある。
【0005】
本発明は、このような事情に鑑みてなされたものであって、その目的は、安定且つ精度良く固形物を削り出すことができる削り出し容器を提供することである。
【課題を解決するための手段】
【0006】
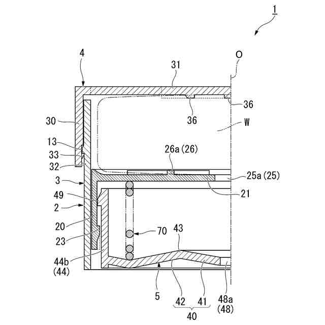
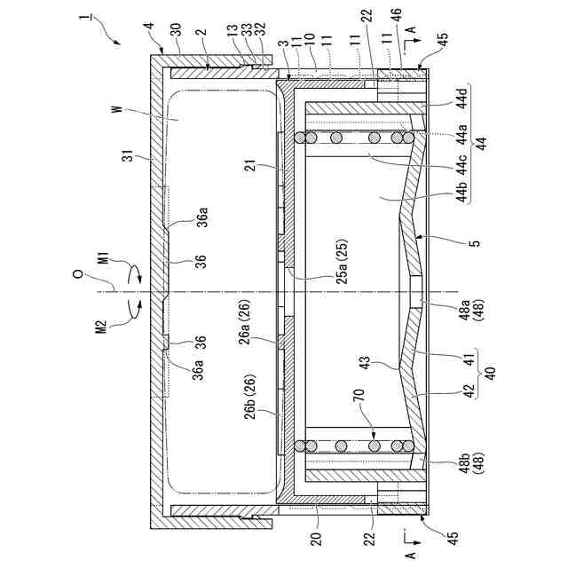
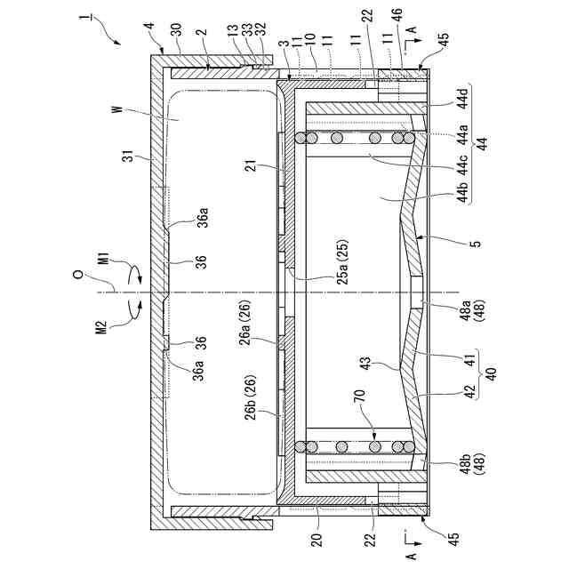
(1)本発明に係る削り出し容器は、容器軸を中心として配置され、上下方向に延びる本体筒と、前記本体筒内に上方移動可能に配置され、上面に固形物を支持する受皿を有する有頂筒状の可動部材と、前記受皿の上方に配置されると共に前記受皿との間で前記固形物を上下方向に挟み込む頂壁を有し、前記本体筒に対して前記容器軸回りに相対回転可能に組み合わされた有頂筒状の操作筒と、前記受皿よりも下方に配置された底壁を有し、前記本体筒に対して組み合わされた台座部材と、前記受皿と前記底壁との間に配置され、前記受皿を上方に向けて押し上げる付勢部材と、を備え、前記可動部材は、前記台座部材に対して、前記容器軸回りを周回する周方向への回転が規制された状態で上方移動可能に組み合わされ、前記台座部材は、前記底壁よりも前記容器軸に対して交差する径方向の外側に配置され、前記本体筒に対して前記周方向への移動が規制された操作部と、前記底壁と前記操作部とを前記径方向に弾性変位可能に連結すると共に、前記径方向の内側に向けた前記操作部の変位を許容した状態で、前記操作部を前記径方向の外側に向けて付勢する弾性連結片と、前記本体筒と協働して前記本体筒に対する前記台座部材の下方移動を規制すると共に、前記操作部が前記径方向の内側に向けて変位したときに前記台座部材の上下移動を許容する規制部と、を備え、前記操作筒の前記頂壁には、下方に向けて突出すると共に、前記操作筒の回転に伴って前記固形物の上面を切削する切削刃と、前記切削刃に沿って前記頂壁を上下方向に貫通するように形成され、前記切削刃で切削した前記固形物を外部に排出する排出孔と、が形成されていることを特徴とする。
【0007】
本発明に係る削り出し容器によれば、操作部を介して本体筒に対して台座部材の全体が周方向に移動が規制された状態で組み合わされている。さらに固形物を支持する受皿を有する可動部材が、台座部材に対して周方向に移動が規制された状態で組み合わされている。これにより、本体筒に対して操作筒を容器軸回りに回転させることで、受皿に支持されている固形物に対して切削刃を回転させることができ、固形物の上面を切削することができる。従って、切削によって削り出した固形物の切削片を、切削刃に沿って形成されている排出孔を通じて速やかに外部に排出して使用することができる。
特に固形物を支持する受皿は、付勢部材によって上方に向けて押し上げられているので、固形物を頂壁に対して所定の付勢力で押し付けることができる。しかも、規制部によって本体筒に対する台座部材の下方移動が規制されているので、台座部材を位置決めすることができ、付勢部材を利用して受皿を適切に押し上げることができる。従って、切削刃を利用して固形物を安定且つ精度良く削り出すことができる。また使用によって固形物の厚さが薄くなった場合であっても、付勢部材による付勢力によって、台座部材に対して可動部材を上昇させることができる。従って、固形物の減少に追従するように可動部材を上昇させることができ、固形物を頂壁に対して依然として押し付けることができる。従って、安定且つ精度の良い固形物の削り出しを引き続き行うことができる。
【0008】
ところで、使用によって固形物の厚さがさらに薄くなる場合には、受皿と底壁との上下方向の間隔が大きくなってしまう。この場合には、例えば操作部を径方向の内側に向けて押し込み操作する。これにより、弾性連結片を弾性変位させながら操作部を径方向の内側に向けて変位させることができ、規制部によって下方移動が規制されていた台座部材の上下移動を許容することができる。従って、操作部を押し込み操作したまま、本体筒に対して台座部材の全体を上方に向けて引き上げるように移動させることができる。これにより、受皿と底壁との上下方向の間隔を狭めることができ、例えば初期の位置関係に戻すことができる。従って、付勢部材を利用して、固形物を頂壁に対して再び所定の付勢力で押し付けることができるので、引き続き切削刃を利用して固形物を安定且つ精度良く削り出すことが可能である。
なお、操作部の押し込み操作を解除することで、弾性連結片が弾性復元変形するので、操作部を元の位置に復帰させることができると共に、本体筒と規制部との協働によって台座部材の下方移動を規制して、所定の高さに位置決めすることができる。
【0009】
このように、使用に伴う固形物の減少に応じて、台座部材を段階的に上昇移動させることができるので、固形物を初期段階から終了段階にわたって安定且つ精度良く削り出すことができる。さらに台座部材の上昇移動については手動で行うため、上昇移動に関連する構成をできるだけ簡便にすることができ、構成の簡略化及び部品点数の削減化を図り易い。そのため、樹脂量を抑制した状態で削り出し容器を作製することができ、環境負荷の低減についても貢献することができる。
【0010】
さらに固形物を最後まで使い切った場合には、操作部を径方向の内側に向けて再び押し込み操作することで、台座部材の上下移動を許容することができる。これにより、本体筒に対して台座部材を下方に向けて移動させることができ、台座部材を本体筒から取り外すことも可能である。そのため、付勢部材及び可動部材を、本体筒内から続いて取り外すことができる。従って、新たな固形物を受皿にセットすることができ、新しい固形物によって、削り出し容器を再度使用状態にすることができる。このように、固形物のセット(交換)についても容易に行うことができ、固形物の詰め替えを適宜行いながら繰り返し使用し続けることができる。
(【0011】以降は省略されています)
この特許をJ-PlatPat(特許庁公式サイト)で参照する
関連特許
株式会社吉野工業所
蓋体
1か月前
株式会社吉野工業所
吐出器
1か月前
株式会社吉野工業所
吐出器
26日前
株式会社吉野工業所
歯ブラシ
1か月前
株式会社吉野工業所
吐出容器
26日前
株式会社吉野工業所
吐出容器
26日前
株式会社吉野工業所
繰出容器
26日前
株式会社吉野工業所
ノズル部材
26日前
株式会社吉野工業所
パウダー容器
26日前
株式会社吉野工業所
スポイト容器
1か月前
株式会社吉野工業所
計量注出容器
1か月前
株式会社吉野工業所
計量注出容器
26日前
株式会社吉野工業所
スパウト容器
1か月前
株式会社吉野工業所
ねじキャップ
26日前
株式会社吉野工業所
計量注出容器
1か月前
株式会社吉野工業所
吐出キャップ
27日前
株式会社吉野工業所
ポンプ式吐出器
1か月前
株式会社吉野工業所
フォーマポンプ
1か月前
株式会社吉野工業所
ポンプ式吐出器
1か月前
株式会社吉野工業所
合成樹脂製容器
26日前
株式会社吉野工業所
把手付きボトル
26日前
株式会社吉野工業所
ブラシ型塗布具
26日前
株式会社吉野工業所
ねじキャップ容器
26日前
株式会社吉野工業所
ポンプ式泡吐出容器
26日前
株式会社吉野工業所
ポンプ携帯ホルダー
26日前
株式会社吉野工業所
トリガー式液体噴出器
26日前
株式会社吉野工業所
トリガー式液体噴出器
26日前
株式会社吉野工業所
携帯補助具を備えた容器
1か月前
株式会社吉野工業所
圧縮ばね部材及び吐出器
1か月前
花王株式会社
吐出容器
1か月前
花王株式会社
吐出容器
1か月前
株式会社吉野工業所
樹脂製品製造方法及び樹脂製品
26日前
株式会社吉野工業所
リフィル容器、および蓋付き容器
1か月前
ホーユー株式会社
エアゾール容器用吐出具
18日前
株式会社吉野工業所
容器、容器の製造方法、及び積層シートのオーバーラップ部の検出方法
26日前
個人
束ね具
27日前
続きを見る
他の特許を見る