TOP
|
特許
|
意匠
|
商標
特許ウォッチ
Twitter
他の特許を見る
公開番号
2025167949
公報種別
公開特許公報(A)
公開日
2025-11-07
出願番号
2024072985
出願日
2024-04-26
発明の名称
フォーマポンプ
出願人
株式会社吉野工業所
代理人
個人
,
個人
,
個人
,
個人
主分類
B65D
47/34 20060101AFI20251030BHJP(運搬;包装;貯蔵;薄板状または線条材料の取扱い)
要約
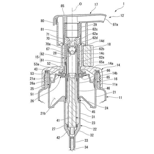
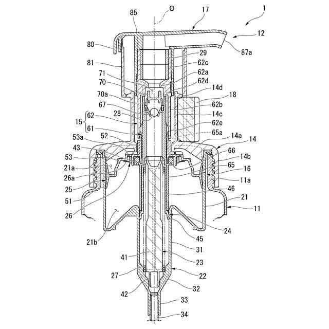
【課題】外装体をヘッド本体に強固に取り付けることができるフォーマポンプを提供する。
【解決手段】本発明に係る態様のフォーマポンプは、上方付勢状態で下方移動可能に配設されるステムを有するポンプと、ステムに上下動可能に設けられた押下ヘッドと、を備えている。押下ヘッドは、取付壁、被覆壁、及び装着筒部を有し、装着筒部を介してステムに組み付けられたヘッド本体と、装着筒部を取り囲む囲繞筒を有し、取付壁に取り付けられた外装体と、を備えている。外装体は、囲繞筒の上端部から径方向に延びるとともに、取付壁を径方向に貫通する貫通孔内に挿入されて貫通孔の下端開口縁に係止された係止部と、囲繞筒から上方に延びるとともに、頂壁部との間に介在することで外装体を下方に付勢する弾性片と、を備えている。
【選択図】図1
特許請求の範囲
【請求項1】
内容液が収容される容器本体の口部に、上方付勢状態で下方移動可能に配設されるステムを有するポンプと、
内容液を吐出するノズル孔を有し、前記ステムに上下動可能に設けられた押下ヘッドと、
前記ポンプを前記口部に取り付ける装着キャップと、を備え、
前記ポンプは、
前記ステムに連係する液用ピストンが内部に上下摺動可能に設けられた液用シリンダと、
前記ステムに連係する空気用ピストンが内部に上下摺動可能に設けられた空気用シリンダと、
前記液用シリンダから移送される内容液と前記空気用シリンダから移送される空気とを混合させ、内容液を発泡させる気液混合室と、を備え、
前記押下ヘッドは、
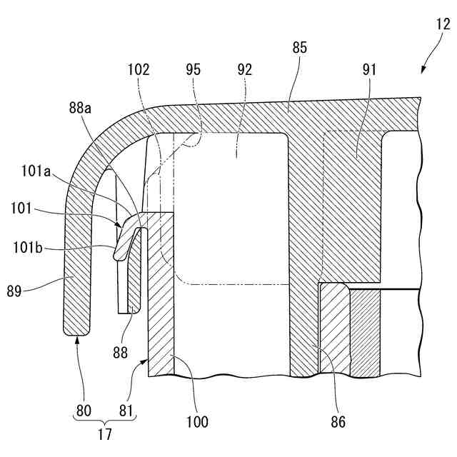
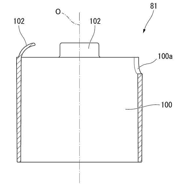
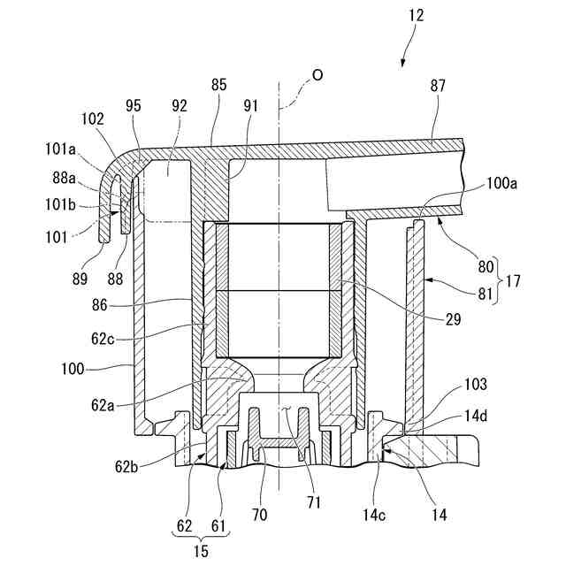
頂壁部、前記頂壁部から下方に延びる取付壁、前記頂壁部のうち前記取付壁に対して径方向の外側に位置する部分から下方に延びる被覆壁、及び前記頂壁部のうち前記取付壁に対して径方向の内側に位置する部分から下方に延びる装着筒部を有し、前記装着筒部を介して前記ステムに組み付けられたヘッド本体と、
前記装着筒部を取り囲む囲繞筒を有し、前記取付壁に取り付けられた外装体と、を備え、
前記外装体は、
前記囲繞筒の上端部から径方向に延びるとともに、前記取付壁を径方向に貫通する貫通孔内に挿入されて前記貫通孔の下端開口縁に係止された係止部と、
前記囲繞筒から上方に延びるとともに、前記頂壁部との間に介在することで前記外装体を下方に付勢する弾性片と、を備えているフォーマポンプ。
続きを表示(約 190 文字)
【請求項2】
前記係止部及び前記弾性片は、前記囲繞筒のうち周方向で異なる位置に複数ずつ配置されている請求項1に記載のフォーマポンプ。
【請求項3】
前記係止部の先端部には、前記係止部から下方に延びるとともに、前記取付壁に対して前記囲繞筒とは径方向の反対側において前記取付壁と径方向で向かい合う規制部が形成されている請求項1又は請求項2に記載のフォーマポンプ。
発明の詳細な説明
【技術分野】
【0001】
本発明は、フォーマポンプに関する。
続きを表示(約 2,000 文字)
【背景技術】
【0002】
内容液を泡状にして吐出するフォーマポンプとして、上方付勢状態で下方移動可能に構成されたステムと、ステムに連係する液用ピストンが内部に上下摺動可能に設けられた液用シリンダと、ステムに連係する空気用ピストンが内部に上下摺動可能に設けられた空気用シリンダと、液用シリンダから移送される内容液と空気用シリンダから移送される空気とを混合させ、内容液を発泡させる気液混合室と、を備えた構成が知られている。
この種のフォーマポンプでは、押下ヘッドを押下することで、ステムの下降に伴い液用ピストン及び空気用ピストンが下降する。これにより、液用シリンダから内容液が、空気用シリンダから空気が、それぞれ気液混合室に供給される。内容液は、気液混合室において空気と混合されることで発泡した後、押下ヘッドに形成されたノズル孔を通じて吐出される。
【0003】
例えば下記特許文献1には、押下ヘッドが、ステムに組み付けられた装着筒部を有する有頂筒状のヘッド本体と、ヘッド本体に組み付けられて装着筒部の周囲を取り囲む外装体と、を備えた構成が開示されている。
【先行技術文献】
【特許文献】
【0004】
特開2015-020764号公報
【発明の概要】
【発明が解決しようとする課題】
【0005】
しかしながら、従来技術にあっては、外装体をヘッド本体に強固に取り付ける点について未だ改善の余地があった。
【0006】
本発明は、外装体をヘッド本体に強固に取り付けることができるフォーマポンプを提供する。
【課題を解決するための手段】
【0007】
上記課題を解決するために、本発明は以下の態様を採用した。
本発明の一態様に係るフォーマポンプは、内容液が収容される容器本体の口部に、上方付勢状態で下方移動可能に配設されるステムを有するポンプと、内容液を吐出するノズル孔を有し、前記ステムに上下動可能に設けられた押下ヘッドと、前記ポンプを前記口部に取り付ける装着キャップと、を備え、前記ポンプは、前記ステムに連係する液用ピストンが内部に上下摺動可能に設けられた液用シリンダと、前記ステムに連係する空気用ピストンが内部に上下摺動可能に設けられた空気用シリンダと、前記液用シリンダから移送される内容液と前記空気用シリンダから移送される空気とを混合させ、内容液を発泡させる気液混合室と、を備え、前記押下ヘッドは、頂壁部、前記頂壁部から下方に延びる取付壁、前記頂壁部のうち前記取付壁に対して径方向の外側に位置する部分から下方に延びる被覆壁、及び前記頂壁部のうち前記取付壁に対して径方向の内側に位置する部分から下方に延びる装着筒部を有し、前記装着筒部を介して前記ステムに組み付けられたヘッド本体と、前記装着筒部を取り囲む囲繞筒を有し、前記取付壁に取り付けられた外装体と、を備え、前記外装体は、前記囲繞筒の上端部から径方向に延びるとともに、前記取付壁を径方向に貫通する貫通孔内に挿入されて前記貫通孔の下端開口縁に係止された係止部と、前記囲繞筒から上方に延びるとともに、前記頂壁部との間に介在することで前記外装体を下方に付勢する弾性片と、を備えている。
【0008】
本態様によれば、係止部が貫通孔の下端開口縁に係止された状態で、外装体が弾性片によって下方(ヘッド本体から離れる向き)に付勢される。これにより、製造誤差等による寸法ばらつきに関わらず、係止部と貫通孔の下端開口縁との間に作用する摩擦力を確保し易い。その結果、外装体をヘッド本体に強固に取り付けることができ、落下等の衝撃によって外装体がヘッド本体から外れることを抑制できる。また、ヘッド本体に対する外装体のがたつきを抑制できるので、商品性を向上させることができる。
【0009】
上記態様に係るフォーマポンプにおいて、前記係止部及び前記弾性片は、前記囲繞筒のうち周方向で異なる位置に複数ずつ配置されていることが好ましい。
本態様によれば、外装体の成形するにあたり、係止部及び弾性片の設計自由度を向上させることができる。また、係止部及び弾性片が、周方向で異なる位置で複数ずつ設けられているので、外装体の組付状態を安定させることができる。
【0010】
上記態様に係るフォーマポンプにおいて、前記係止部の先端部には、前記係止部から下方に延びるとともに、前記取付壁に対して前記囲繞筒とは径方向の反対側において前記取付壁と径方向で向かい合う規制部が形成されていることが好ましい。
本態様によれば、規制部と取付壁とが径方向に当接することで、ヘッド本体に対する外装体の径方向のがたつきを規制できる。これにより、商品性の更なる向上を図ることができる。
【発明の効果】
(【0011】以降は省略されています)
この特許をJ-PlatPat(特許庁公式サイト)で参照する
関連特許
株式会社吉野工業所
蓋体
1か月前
株式会社吉野工業所
吐出器
25日前
株式会社吉野工業所
吐出器
1か月前
株式会社吉野工業所
塗布容器
1か月前
株式会社吉野工業所
二重容器
1か月前
株式会社吉野工業所
吐出容器
25日前
株式会社吉野工業所
吐出容器
25日前
株式会社吉野工業所
吐出容器
1か月前
株式会社吉野工業所
繰出容器
25日前
株式会社吉野工業所
塗布容器
1か月前
株式会社吉野工業所
塗布容器
1か月前
株式会社吉野工業所
歯ブラシ
1か月前
株式会社吉野工業所
ノズル部材
25日前
株式会社吉野工業所
吐出ポンプ
1か月前
株式会社吉野工業所
化粧用容器
2か月前
株式会社吉野工業所
スパウト容器
1か月前
株式会社吉野工業所
スポイト容器
1か月前
株式会社吉野工業所
計量注出容器
1か月前
株式会社吉野工業所
スポイト容器
1か月前
株式会社吉野工業所
計量注出容器
1か月前
株式会社吉野工業所
吐出キャップ
26日前
株式会社吉野工業所
削り出し容器
1か月前
株式会社吉野工業所
パウダー容器
25日前
株式会社吉野工業所
ねじキャップ
25日前
株式会社吉野工業所
計量注出容器
25日前
株式会社吉野工業所
コンパクト容器
1か月前
株式会社吉野工業所
ポンプ式吐出器
1か月前
株式会社吉野工業所
合成樹脂製容器
25日前
株式会社吉野工業所
把手付きボトル
1か月前
株式会社吉野工業所
フォーマポンプ
1か月前
株式会社吉野工業所
ブラシ型塗布具
25日前
株式会社吉野工業所
把手付きボトル
25日前
株式会社吉野工業所
ポンプ式吐出器
1か月前
株式会社吉野工業所
合成樹脂製壜体
1か月前
株式会社吉野工業所
ポンプ式吐出器
1か月前
株式会社吉野工業所
ポンプ式吐出器
1か月前
続きを見る
他の特許を見る