TOP
|
特許
|
意匠
|
商標
特許ウォッチ
Twitter
他の特許を見る
公開番号
2025167179
公報種別
公開特許公報(A)
公開日
2025-11-07
出願番号
2024071558
出願日
2024-04-25
発明の名称
スパウト容器
出願人
株式会社吉野工業所
代理人
個人
主分類
B65D
33/38 20060101AFI20251030BHJP(運搬;包装;貯蔵;薄板状または線条材料の取扱い)
要約
【課題】流量調整が可能であり、大量吐出と少量吐出との使い分けが容易であるスパウト容器スパウト容器を提供する。
【解決手段】流動物収納用の柔軟な袋体2と、この袋体2の上辺7に装着されたスパウト10と、を具備する。袋体2は、厚み方向Tに比べて幅方向Wに大きい形態を有する。スパウト10は、前記上辺7に液密に挿着され、かつ、袋体2の内外を連通させる縦向きの貫通孔14を有するシール部11と、貫通孔14に連続させて前記シール部11の上側に配備された吐出部15と、厚み方向Tの貫通孔14の両側から袋体2内へ垂設された一対の脚部20とからなる。一対の脚部20は、厚み方向Tの内側へ押し込む操作により、一対の脚部20の間に大面積通路P1が画成される第1位置S1から、一対の脚部20の間に小面積通路P2が画成される第2位置S2へ変位する。
【選択図】図1
特許請求の範囲
【請求項1】
流動物収納用の柔軟な袋体(2)と、
この袋体(2)の上辺(7)に装着されたスパウト(10)と、を具備し、
前記袋体(2)は、厚み方向(T)に比べて幅方向(W)に大きい形態を有し、
前記スパウト(10)は、前記上辺(7)に液密に挿着され、かつ、前記袋体(2)の内外を連通させる縦向きの貫通孔(14)を有するシール部(11)と、
前記貫通孔(14)に連続させて前記シール部(11)の上側に配備された吐出部(15)と、
前記厚み方向(T)の前記貫通孔(14)の両側から前記袋体(2)内へ垂設された一対の脚部(20)とからなり、
これら一対の脚部(20)は、前記袋体(2)の外側から前記厚み方向(T)の内側へ押し込む操作により、前記一対の脚部(20)の間に大面積通路(P1)が画成される第1位置(S1)から、前記一対の脚部(20)の間に小面積通路(P2)が画成される第2位置(S2)へ変位することが可能に構成したことを特徴とする、スパウト容器。
続きを表示(約 460 文字)
【請求項2】
前記一対の脚部(20)は、前記貫通孔(14)の周囲から垂設される脚筒(18)に一対の切割り(19)を穿設することにより、下方から見て弧状の形態に形成されたことを特徴とする、請求項1に記載のスパウト容器。
【請求項3】
前記一対の脚部(20)は、前記厚み方向(T)への押込み操作により、前記小面積通路(P2)をさらに狭める一対の邪魔手段(24)を有しており、
各邪魔手段(24)は、前記脚部(20)の一部であって、その脚部(20)の輪郭(C)に沿った状態から、前記押込み操作によって内側に撓むことで前記小面積通路(P2)に突入することが可能に形成されたことを特徴とする、請求項1又は請求項2に記載のスパウト容器。
【請求項4】
前記各邪魔手段(24)は、前記各脚部(20)に複数のスリット(22)を穿設することにより、これらスリット(22)の間に形成されかつ長手方向の両端側で支持させた可撓片(24)であることを特徴とする、請求項3に記載のスパウト容器。
発明の詳細な説明
【技術分野】
【0001】
本発明は、スパウト容器に関する。
続きを表示(約 1,500 文字)
【背景技術】
【0002】
この種の容器として、流動物収納用の袋体の上辺に、この袋体の内外を連通させる縦筒形のスパウトの筒軸方向中間部分を溶着させたものが知られている(特許文献1)。
【先行技術文献】
【特許文献】
【0003】
特許第2934611号
【発明の概要】
【発明が解決しようとする課題】
【0004】
特許文献1の容器のスパウトは、袋体に溶着した中間部分が小さく(短く)、吐出量を調整できないため、内容物を過剰にかけ過ぎてしまうおそれがあった。
【0005】
本発明の目的は、流量調整が可能であり、大量吐出と少量吐出との使い分けが容易であるスパウト容器を提供することである。
【課題を解決するための手段】
【0006】
第1の手段は、流動物収納用の柔軟な袋体2と、
この袋体2の上辺7に装着されたスパウト10と、を具備し、
前記袋体2は、厚み方向Tに比べて幅方向Wに大きい形態を有し、
前記スパウト10は、前記上辺7に液密に挿着され、かつ、前記袋体2の内外を連通させる縦向きの貫通孔14を有するシール部11と、
前記貫通孔14に連続させて前記シール部11の上側に配備された吐出部15と、
前記厚み方向Tの前記貫通孔14の両側から前記袋体2内へ垂設された一対の脚部20とからなり、
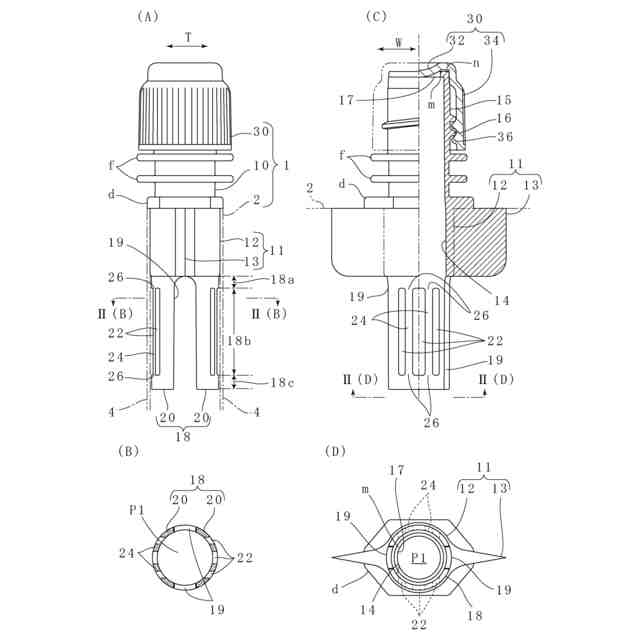
これら一対の脚部20は、前記袋体2の外側から前記厚み方向Tの内側へ押し込む操作により、前記一対の脚部20の間に大面積通路P1が画成される第1位置S1から、前記一対の脚部20の間に小面積通路P2が画成される第2位置S2へ変位することが可能に構成した。
【0007】
本手段では、図1に示す如く、柔軟な袋体2の上辺7に装着されたスパウト10のシール部11に袋体2の内外を連通させる貫通孔14を設け、かつ、図2(A)に示す如く、その厚み方向Tの貫通孔14の両側から一対の脚部20を垂設させている。
これら一対の脚部20は、袋体2の外側から厚み方向Tの内側へ押し込む操作により、一対の脚部20の間に大面積通路P1が画成される第1位置S1(図3(A)及び図3(B)参照)から、一対の脚部20の間に小面積通路P2が画成される第2位置S2(図3(C)及び図3(D)参照)へ変位することが可能に構成した。
この構造によれば、貫通孔14に至る通路の面積を絞ることで、適切に流量を調整することができる。
【0008】
第2の手段は、第1の手段を有し、かつ前記一対の脚部20は、前記貫通孔14の周囲から垂設される脚筒18に一対の切割り19を穿設することにより、下方から見て弧状の形態に形成された。
【0009】
本手段では、図2(B)に示す如く、一対の脚部20は、貫通孔14の周囲から垂設される脚筒18に一対の切割り19を穿設することにより、下方から見て弧状の形態に形成された。
この構造によれば、図3(B)に示す円形の大面積通路P1から図3(D)に示す紡錘形の小面積通路P2への変形が可能となり、流量を確実に調整できる。
【0010】
第3の手段は、第1の手段又は第2の手段を有し、かつ前記一対の脚部20は、前記厚み方向Tへの押込み操作により、前記小面積通路P2をさらに狭める一対の邪魔手段24を有しており、
各邪魔手段24は、前記脚部20の一部であって、その脚部20の輪郭Cに沿った状態から、前記押込み操作によって内側に撓むことで前記小面積通路P2に突入することが可能に形成された。
(【0011】以降は省略されています)
この特許をJ-PlatPat(特許庁公式サイト)で参照する
関連特許
個人
束ね具
26日前
個人
収容箱
4か月前
個人
コンベア
6か月前
個人
段ボール箱
8か月前
個人
段ボール箱
8か月前
個人
容器
10か月前
個人
ゴミ収集器
8か月前
個人
バンド
3か月前
個人
土嚢運搬器具
9か月前
個人
角筒状構造体
6か月前
個人
宅配システム
8か月前
個人
楽ちんハンド
6か月前
個人
テープ引出機
26日前
個人
包装容器
2か月前
個人
お薬の締結装置
7か月前
個人
閉塞装置
11か月前
個人
コード類収納具
9か月前
個人
棒状体収容容器
1か月前
個人
廃棄物収容容器
4か月前
個人
積み重ね用補助具
4か月前
株式会社和気
包装用箱
1か月前
個人
蓋閉止構造
5か月前
個人
蓋閉止構造
5か月前
個人
ゴミ処理機
10か月前
株式会社コロナ
梱包材
6か月前
個人
貯蔵サイロ
8か月前
株式会社和気
包装用箱
10か月前
個人
把手付米袋
6か月前
株式会社バンダイ
物品
2か月前
株式会社ナベル
検査装置
1か月前
個人
袋入り即席麺
8か月前
三甲株式会社
蓋体
9か月前
三甲株式会社
容器
3か月前
個人
介護用コップ
3か月前
個人
包装箱
11か月前
個人
コード折り畳み器具
5か月前
続きを見る
他の特許を見る