TOP
|
特許
|
意匠
|
商標
特許ウォッチ
Twitter
他の特許を見る
10個以上の画像は省略されています。
公開番号
2025168721
公報種別
公開特許公報(A)
公開日
2025-11-12
出願番号
2024073409
出願日
2024-04-30
発明の名称
パウダー容器
出願人
株式会社吉野工業所
代理人
個人
主分類
B65D
47/04 20060101AFI20251105BHJP(運搬;包装;貯蔵;薄板状または線条材料の取扱い)
要約
【課題】パウダーのこぼれを抑制でき、且つ、パウダーの吐出量を容易に調整可能なパウダー容器を提供する。
【解決手段】パウダー容器は、粉末状の内容物(P)を収納する収納空間(11d)を有する容器本体(11)と、容器本体(11)の口部(11c)を塞ぐ中蓋(30)と、外部に内容物(P)を吐出する吐出口(19)を備えるとともに外側から(30)を覆うカバー(13)と、カバー(13)と中蓋(30)との間に形成される前室(15)とを備え、中蓋(30)は、収納空間(11d)と前室(15)とを連通させる通路(37)を開閉可能に塞ぎ、中蓋(30)が通路(37)を閉じるように中蓋(30)を付勢する付勢部材(31)が設けられ、押圧操作により弾性変形したカバー(13)によって中蓋(30)が付勢部材(31)の付勢力に抗して移動させられると、通路(37)が開かれる。
【選択図】図1
特許請求の範囲
【請求項1】
粉末状の内容物を収納する収納空間を有する容器本体と、前記容器本体の口部を塞ぐ中蓋と、外部に前記内容物を吐出する吐出口を備えるとともに外側から前記中蓋を覆うカバーと、前記カバーと前記中蓋との間に形成される前室とを備え、
前記中蓋は、前記収納空間と前記前室とを連通させる通路を開閉可能に塞ぎ、
前記中蓋が前記通路を閉じるように前記中蓋を付勢する付勢部材が設けられ、
押圧操作により弾性変形した前記カバーによって前記中蓋が前記付勢部材の付勢力に抗して移動させられると、前記通路が開かれるパウダー容器。
続きを表示(約 640 文字)
【請求項2】
前記吐出口は、前記カバーが変形していない状態では口が閉じたスリット状であり、押圧操作により前記カバーが弾性変形すると口が開く請求項1に記載のパウダー容器。
【請求項3】
前記カバーはドーム状に形成され、
前記カバーは、前記カバーの内面から前記中蓋に向けて突出する突起を有し、前記突起を介して前記中蓋を押圧する請求項1に記載のパウダー容器。
【請求項4】
前記突起は、前記カバーの中央部に設けられる中央側突起と、前記中央側突起に対し前記カバーの外周側に配置される外周側突起とを備える請求項3に記載のパウダー容器。
【請求項5】
前記中蓋の上面には、前記突起の先端部に当接して前記中蓋上での前記突起の滑りを規制するリブが設けられる請求項3または4に記載のパウダー容器。
【請求項6】
前記カバーは、前記中蓋の周縁部に沿う環状の受け部を備え、
前記通路は、前記受け部と前記中蓋の前記周縁部との間に形成される隙間であり、前記受け部に前記周縁部が当接することで閉じられる請求項1に記載のパウダー容器。
【請求項7】
前記口部の内側に取り付けられる環状のベース部と、前記付勢部材と、前記中蓋とを備える中蓋部材が設けられ、
前記付勢部材は、前記ベース部から上方に延びて前記中蓋に接続される弾性片であり、前記中蓋の周方向に間隔をあけて複数設けられる請求項6に記載のパウダー容器。
発明の詳細な説明
【技術分野】
【0001】
本発明は、パウダー容器に関する。
続きを表示(約 1,600 文字)
【背景技術】
【0002】
従来、パウダー容器では、パウダーを塗布するためのパフをパウダー容器の内側に収納する構造が多く採用されている(例えば、特許文献1参照)。
また、パウダー容器において、パウダーの吐出量を調整可能なものが知られている(例えば、特許文献2参照)。特許文献2では、容器本体内に設けた中皿に対し、パフを収納するパフ皿を回動可能に嵌合させている。そして、中皿に設けた孔とパフ皿に設けた孔との連通面積を、パフ皿を回動させて変更することで、パウダーの吐出量を調整することができる。
【先行技術文献】
【特許文献】
【0003】
特開2018-89013号公報
特開2005-21213号公報
【発明の概要】
【発明が解決しようとする課題】
【0004】
しかし、特許文献1のようなパウダー容器では、パウダー容器を移動させる際などに、パウダーが中皿を越えてパフに付着したり、パフに付着していたパウダーがこぼれたりすることがあり、パウダー容器を移動させる際に不便な場合がある。
また、特許文献2のようなパウダー容器では、パウダーの吐出量を調整するために特別な操作をする必要があり、パウダーの吐出量の調整に手間がかかっていた。
【0005】
このような点に鑑み、本発明は、パウダーのこぼれを抑制でき、且つ、パウダーの吐出量を容易に調整可能なパウダー容器を提供することを目的とする。
【課題を解決するための手段】
【0006】
パウダー容器は、粉末状の内容物を収納する収納空間を有する容器本体と、前記容器本体の口部を塞ぐ中蓋と、外部に前記内容物を吐出する吐出口を備えるとともに外側から前記中蓋を覆うカバーと、前記カバーと前記中蓋との間に形成される前室とを備え、前記中蓋は、前記収納空間と前記前室とを連通させる通路を開閉可能に塞ぎ、前記中蓋が前記通路を閉じるように前記中蓋を付勢する付勢部材が設けられ、押圧操作により弾性変形した前記カバーによって前記中蓋が前記付勢部材の付勢力に抗して移動させられると、前記通路が開かれる。
【発明の効果】
【0007】
本発明によれば、パウダーのこぼれを抑制でき、且つ、パウダーの吐出量を容易に調整可能なパウダー容器を提供できる。
【図面の簡単な説明】
【0008】
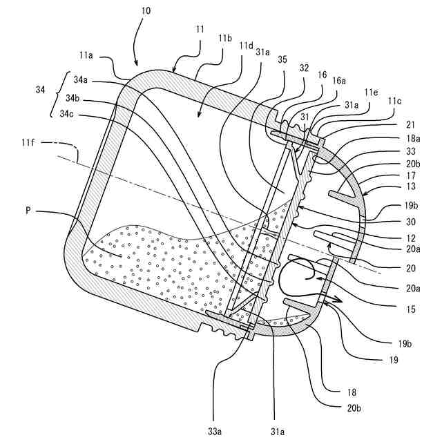
本発明の実施の形態に係るパウダー容器10を示す部分断面図である。
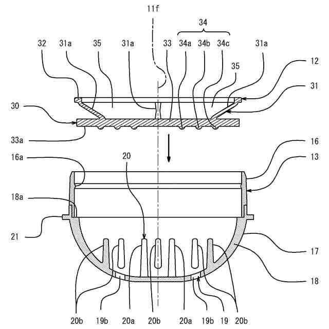
中蓋部材及びカバーを示す断面図である。
カバーを容器本体の内側から見た底面図である。
カバーが真下に押圧操作されている状態が右半分に図示されている断面図である。
カバーが斜め下方に押圧操作されている状態が右半分に図示されている断面図である。
カバーが押圧操作されていない状態における中蓋部材の周辺部の状態を示す拡大図である。
カバーが押圧操作された状態における中蓋部材の周辺部の状態を示す拡大図である。
通路を開いて内容物を吐出させる状態を示す断面図である。
通路を閉じた状態で内容物を吐出させる状態を示す断面図である。
【発明を実施するための形態】
【0009】
以下、図面を参照しながら、本発明に従うパウダー容器の実施形態について説明する。
図1は、本発明の実施の形態に係るパウダー容器10を示す部分断面図である。
【0010】
パウダー容器10は、内容物Pを収納する容器本体11と、容器本体11の上面を塞ぐ中蓋部材12と、中蓋部材12を上方から覆うカバー13と、カバー13を上方から覆うキャップ14とを備える。
また、パウダー容器10は、カバー13と中蓋部材12との間に形成される前室15を備える。
(【0011】以降は省略されています)
この特許をJ-PlatPat(特許庁公式サイト)で参照する
関連特許
株式会社吉野工業所
蓋体
1か月前
株式会社吉野工業所
吐出器
1か月前
株式会社吉野工業所
吐出器
25日前
株式会社吉野工業所
塗布容器
1か月前
株式会社吉野工業所
吐出容器
25日前
株式会社吉野工業所
吐出容器
25日前
株式会社吉野工業所
塗布容器
1か月前
株式会社吉野工業所
吐出容器
1か月前
株式会社吉野工業所
繰出容器
25日前
株式会社吉野工業所
歯ブラシ
1か月前
株式会社吉野工業所
二重容器
1か月前
株式会社吉野工業所
塗布容器
1か月前
株式会社吉野工業所
吐出ポンプ
1か月前
株式会社吉野工業所
化粧用容器
2か月前
株式会社吉野工業所
ノズル部材
25日前
株式会社吉野工業所
計量注出容器
1か月前
株式会社吉野工業所
スパウト容器
1か月前
株式会社吉野工業所
ねじキャップ
25日前
株式会社吉野工業所
計量注出容器
1か月前
株式会社吉野工業所
削り出し容器
1か月前
株式会社吉野工業所
計量注出容器
25日前
株式会社吉野工業所
スポイト容器
1か月前
株式会社吉野工業所
スポイト容器
1か月前
株式会社吉野工業所
吐出キャップ
26日前
株式会社吉野工業所
パウダー容器
25日前
株式会社吉野工業所
ポンプ式吐出器
1か月前
株式会社吉野工業所
ポンプ式吐出器
1か月前
株式会社吉野工業所
合成樹脂製壜体
1か月前
株式会社吉野工業所
コンパクト容器
1か月前
株式会社吉野工業所
把手付きボトル
1か月前
株式会社吉野工業所
ポンプ式吐出器
1か月前
株式会社吉野工業所
ポンプ式吐出器
1か月前
株式会社吉野工業所
ブラシ型塗布具
25日前
株式会社吉野工業所
合成樹脂製容器
25日前
株式会社吉野工業所
フォーマポンプ
1か月前
株式会社吉野工業所
把手付きボトル
25日前
続きを見る
他の特許を見る