TOP
|
特許
|
意匠
|
商標
特許ウォッチ
Twitter
他の特許を見る
10個以上の画像は省略されています。
公開番号
2025152171
公報種別
公開特許公報(A)
公開日
2025-10-09
出願番号
2024053948
出願日
2024-03-28
発明の名称
ポンプ式吐出器
出願人
株式会社吉野工業所
代理人
個人
主分類
B65D
47/34 20060101AFI20251002BHJP(運搬;包装;貯蔵;薄板状または線条材料の取扱い)
要約
【課題】従来と同じようにして内容液を吐出することが可能であって、更にリサイクル性にも優れるポンプ式吐出器を提案する。
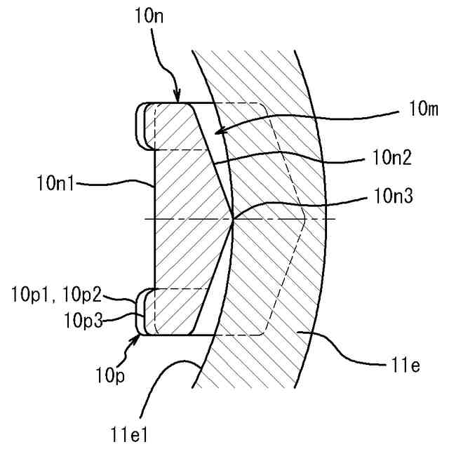
【解決手段】ポンプ式吐出器100は、ヘッド11及びキャップ10の何れか一方に、ヘッド11及びキャップ10の何れか他方に向けて延出された延出部11eが設けられ、ヘッド11及びキャップ10の何れか他方に、ヘッド11をキャップ10に向けて前進させた際に延出部11eによってステム7aの中心軸線Oに近づく向きに撓む弾性片10mが設けられ、延出部11eにおける弾性片10mに接触する内周面11e1の横断面形状は、中心軸線Oを中心とする円弧状であって、弾性片10mにおける延出部11eに接触する外周面10n2の横断面形状は、頂点10n3が径方向外側に位置して頂点10n3が延出部11eにおける内周面11e1に接触するV字状である。
【選択図】図1
特許請求の範囲
【請求項1】
内容液を収容する容器の口部に装着されるキャップと、該キャップにより該口部に保持されステムが進退移動することによって駆動するポンプと、内容液を外界に吐出させる吐出口を有するとともに該ステムに連結するヘッドと、を備え、該ヘッドを該キャップに向けて移動させることによって該容器内の内容液を該吐出口から吐出させるポンプ式吐出器において、
前記ヘッド及び前記キャップの何れか一方に、該ヘッド及び該キャップの何れか他方に向けて延出された延出部が設けられ、
前記ヘッド及び前記キャップの何れか他方に、該ヘッドを該キャップに向けて前進させた際に前記延出部によって前記ステムの中心軸線に近づく向きに撓む弾性片が設けられ、
前記延出部における前記弾性片に接触する内周面の横断面形状は、前記中心軸線を中心とする円弧状であって、
前記弾性片における前記延出部に接触する外周面の横断面形状は、頂点が径方向外側に位置して該頂点が前記延出部における前記内周面に接触するV字状であるポンプ式吐出器。
続きを表示(約 85 文字)
【請求項2】
前記ヘッド及び前記キャップの何れか他方に、前記弾性片が、前記中心軸線を周回する向きに等間隔で複数設けられた請求項1に記載のポンプ式吐出器。
発明の詳細な説明
【技術分野】
【0001】
本発明は、ポンプ式吐出器に関する。
続きを表示(約 2,300 文字)
【背景技術】
【0002】
ポンプ式吐出器として、容器の口部に装着されるキャップと、キャップにより口部に保持されステムが進退移動することによって駆動するポンプと、ステムに連結するヘッドとを備え、ヘッドをキャップに向けて移動させることによって容器内の内容液をヘッドの吐出口から吐出させるものが既知である(例えば特許文献1参照)。
【0003】
このようなポンプ式吐出器の内部には、特許文献1に示されているように、キャップに向けて前進させたヘッドを初期位置に向けて復帰させるためにコイルスプリングが設けられている。
【先行技術文献】
【特許文献】
【0004】
特開2011-31950号公報
【発明の概要】
【発明が解決しようとする課題】
【0005】
ところでこのようなポンプ式吐出器は、大部分の部材は合成樹脂製であるものの、コイルスプリングは金属製である。このため使用後に廃棄するにあたって、このままの状態では樹脂品としてリサイクルすることができない。また一般にこの種のポンプ式吐出器は、通常の使用時において部材が外れてしまうことを避けるべく、例えば嵌合等によって部材同士は強固に固定されている。従って、ポンプ式吐出器を分解してコイルスプリングと他の部材とに分別するにも手間を要することとなる。
【0006】
本発明はこのような問題点を解決することを課題とするものであって、従来と同じようにして内容液を吐出することが可能であって、更にリサイクル性にも優れるポンプ式吐出器を提案することを目的とする。
【課題を解決するための手段】
【0007】
本発明のポンプ式吐出器は、内容液を収容する容器の口部に装着されるキャップと、該キャップにより該口部に保持されステムが進退移動することによって駆動するポンプと、内容液を外界に吐出させる吐出口を有するとともに該ステムに連結するヘッドと、を備え、該ヘッドを該キャップに向けて移動させることによって該容器内の内容液を該吐出口から吐出させるものであり、前記ヘッド及び前記キャップの何れか一方に、該ヘッド及び該キャップの何れか他方に向けて延出された延出部が設けられ、前記ヘッド及び前記キャップの何れか他方に、該ヘッドを該キャップに向けて前進させた際に前記延出部によって前記ステムの中心軸線に近づく向きに撓む弾性片が設けられ、前記延出部における前記弾性片に接触する内周面の横断面形状は、前記中心軸線を中心とする円弧状であって、前記弾性片における前記延出部に接触する外周面の横断面形状は、頂点が径方向外側に位置して該頂点が前記延出部における前記内周面に接触するV字状である。
【発明の効果】
【0008】
本発明のポンプ式吐出器によれば、ヘッドをキャップに向けて前進させた際、延出部によって弾性片がステムの中心軸線に近づく向きに撓むため、撓んだ弾性片が復元する際にヘッドを初期位置に向けて復帰させることができる。また金属製のコイルスプリングに換えて上記のような弾性片を用いているため、使用後は、従来のポンプ式吐出器で行っていた金属部品を分別する作業は必要がなく、またそのまま樹脂品として再利用することができるためリサイクル性にも優れる。ところでヘッドを前進させる際、延出部が弾性片に対して摺動しているため、種々の原因によって摺動抵抗が大きくなったり変動したりするおそれがあり、このような場合は操作性が損なわれることになる。ここで本願発明者が検討を重ねたところ、上記のように延出部の内周面の横断面形状を、中心軸線を中心とする円弧状とし、弾性片の外周面の横断面形状を、頂点が径方向外側に位置してこの頂点が延出部の内周面に接触するV字状とする場合は、摺動抵抗を低減させ、また摺動抵抗の変動を抑制することが可能であることが認められた。すなわち本発明のポンプ式吐出器によれば、摺動抵抗に関する不具合が抑制されて従来と同じような操作性を得ることができる。
【図面の簡単な説明】
【0009】
本発明に係るポンプ式吐出器の一実施形態に関し、ヘッドが後退限に位置する状態での側面視における断面図である。
図1に示したポンプ式吐出器の平面図である。
図1に示したポンプ式吐出器に関し、ヘッドが前進限に位置する状態での側面視における断面図である。
図3のA-Aに沿う断面図である。
図4AのB部における部分拡大図である。
弾性片の初期状態における側面視での断面図である。
比較例のポンプ式吐出器に関し、図4Aに対応する断面図である。
図5AのC部における部分拡大図である。
ヘッドを押圧した際のヘッドの移動距離と押圧力との関係を示した図である。
【発明を実施するための形態】
【0010】
以下、図面を参照しながら本発明に係るポンプ式吐出器の一実施形態であるポンプ式吐出器100について説明する。なお、本明細書等において上下方向とは、図示した中心軸線O(後述するステム7aの中心軸線)に沿う向きであって、パイプ4が位置する側が「下」であり、ヘッド11が位置する側が「上」である。また径方向とは、中心軸線Oに対して垂直な面内で中心軸線Oと直交する方向であり、周方向とは、この面内で中心軸線Oを中心として周回する方向である。
(【0011】以降は省略されています)
この特許をJ-PlatPat(特許庁公式サイト)で参照する
関連特許
株式会社吉野工業所
吐出器
1か月前
株式会社吉野工業所
塗布容器
27日前
株式会社吉野工業所
塗布容器
28日前
株式会社吉野工業所
吐出容器
27日前
株式会社吉野工業所
二重容器
28日前
株式会社吉野工業所
塗布容器
27日前
株式会社吉野工業所
化粧用容器
29日前
株式会社吉野工業所
吐出ポンプ
27日前
株式会社吉野工業所
計量注出容器
今日
株式会社吉野工業所
削り出し容器
27日前
株式会社吉野工業所
スポイト容器
27日前
株式会社吉野工業所
合成樹脂製壜体
27日前
株式会社吉野工業所
ポンプ式吐出器
27日前
株式会社吉野工業所
把手付きボトル
28日前
株式会社吉野工業所
コンパクト容器
27日前
株式会社吉野工業所
ポンプ式吐出器
28日前
株式会社吉野工業所
ポンプ式吐出器
28日前
株式会社吉野工業所
ポンプ式吐出容器
27日前
株式会社吉野工業所
キャップ付き容器
29日前
株式会社吉野工業所
中蓋付きキャップ
1か月前
株式会社吉野工業所
キャップ付き吐出栓
27日前
株式会社吉野工業所
トリガー式液体噴出器
28日前
株式会社吉野工業所
トリガー式液体噴出器
29日前
株式会社吉野工業所
トリガー式液体噴出器
27日前
花王株式会社
吐出容器
20日前
株式会社吉野工業所
泡吐出具及び泡吐出容器
27日前
株式会社吉野工業所
移行栓キャップ付き容器
27日前
花王株式会社
吐出容器
20日前
株式会社吉野工業所
オーバーキャップ付き容器
27日前
株式会社吉野工業所
フォーマーディスペンサー
28日前
株式会社吉野工業所
ポンプ式吐出具及びポンプ式吐出容器
27日前
株式会社吉野工業所
ノズル部材、ポンプ式吐出器、及び吐出器付き容器
27日前
個人
収容箱
3か月前
個人
コンベア
5か月前
個人
容器
9か月前
個人
ゴミ収集器
7か月前
続きを見る
他の特許を見る