TOP
|
特許
|
意匠
|
商標
特許ウォッチ
Twitter
他の特許を見る
公開番号
2025151066
公報種別
公開特許公報(A)
公開日
2025-10-09
出願番号
2024052297
出願日
2024-03-27
発明の名称
フォーマーディスペンサー
出願人
株式会社吉野工業所
代理人
個人
,
個人
,
個人
主分類
B65D
83/00 20060101AFI20251002BHJP(運搬;包装;貯蔵;薄板状または線条材料の取扱い)
要約
【課題】内容液の吐出量を複数種類に設定可能なフォーマーディスペンサーを低コストで提供することである。
【解決手段】ベースキャップ10、ステム20、ノズルヘッド30、空気用シリンダ部材40、空気用シリンダ部材40の内部に空気用シリンダ室47を区画形成する空気用ピストン50、液体用シリンダ部材60、液体用シリンダ部材60の内部に液体用シリンダ室73を区画形成する液体用ピストン70と、を有し、液体用シリンダ部材60が、空気用シリンダ部材40とは別体に形成されて空気用シリンダ部材40に装着されており、液体用シリンダ部材60として内径dcが相違する複数種類の何れかのものを用いるとともに液体用ピストン70として装着された液体用シリンダ部材60の液体用シリンダ壁61に対応したものを用いることで内容液の吐出量を複数種類に設定可能に構成されているフォーマーディスペンサー1。
【選択図】図1
特許請求の範囲
【請求項1】
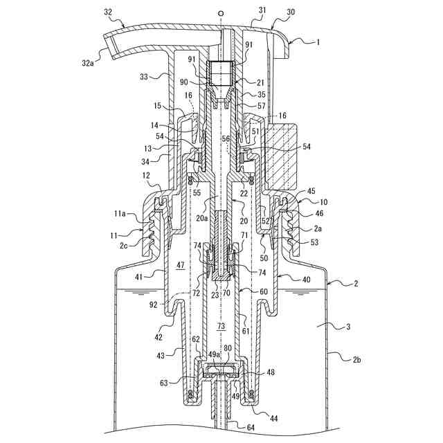
容器本体の口部に取り付けられるベースキャップと、
前記ベースキャップに対して上下動自在のステムと、
ノズルを備え、前記ステムの上端に取り付けられたノズルヘッドと、
円筒状の空気用シリンダ壁を備え、前記ベースキャップに固定された空気用シリンダ部材と、
前記ステムに装着され、前記空気用シリンダ壁に接して前記空気用シリンダ部材の内部に空気用シリンダ室を区画形成する空気用ピストンと、
円筒状の液体用シリンダ壁を備え、前記空気用シリンダ壁の内側に同軸に配置された液体用シリンダ部材と、
前記ステムに装着され、前記液体用シリンダ壁に接して前記液体用シリンダ部材の内部に液体用シリンダ室を区画形成する液体用ピストンと、を有し、
前記ノズルヘッドが押下げ操作されると、前記空気用ピストン及び前記液体用ピストンが作動して、前記液体用シリンダ室から前記ノズルに向けて圧送された内容液を前記空気用シリンダ室から前記ノズルに向けて圧送された空気と混合して泡状に吐出するように構成されたフォーマーディスペンサーであって、
前記液体用シリンダ部材が、前記空気用シリンダ部材とは別体に形成されて前記空気用シリンダ部材に装着されており、
前記液体用シリンダ部材として、前記液体用シリンダ壁の内径が相違する複数種類の何れかのものを用いるとともに前記液体用ピストンとして装着された前記液体用シリンダ部材の前記液体用シリンダ壁の内径に対応したものを用いることで内容液の吐出量を複数種類に設定可能に構成されていることを特徴とするフォーマーディスペンサー。
続きを表示(約 260 文字)
【請求項2】
前記空気用シリンダ部材が、前記空気用シリンダ壁よりも下方側に嵌合筒部を一体に備え、
前記液体用シリンダ部材が、前記液体用シリンダ壁の下端に一体に連なる被嵌合筒部を備え、
前記被嵌合筒部が前記嵌合筒部の外側に嵌合することで前記液体用シリンダ部材が前記空気用シリンダ部材に着脱自在に装着されている、請求項1に記載のフォーマーディスペンサー。
【請求項3】
前記空気と前記内容液との混合比が、20:1~5:1である、請求項1または2に記載のフォーマーディスペンサー。
発明の詳細な説明
【技術分野】
【0001】
本発明は、容器本体に収納された内容液を空気と混合して泡状に吐出するフォーマーディスペンサーに関する。
続きを表示(約 2,000 文字)
【背景技術】
【0002】
シャンプー、ボディソープ、ハンドソープ、洗顔料等を充填した容器では、内容液の泡立て動作を省略して簡便な使用を図る観点から、容器内の内容液を空気と混合して泡状に吐出することができるフォーマーディスペンサーを装備したものが多用されている。
【0003】
例えば特許文献1には、容器本体の口部に取り付けられるベースキャップと、ベースキャップに対して上下動自在のステムと、ステムの上端に取り付けられたノズルヘッドと、円筒状の空気用シリンダ壁を備え、ベースキャップに固定された空気用シリンダ部材と、ステムに装着され、空気用シリンダ壁に接して空気用シリンダ部材の内部に空気用シリンダ室を区画形成する空気用ピストンと、空気用シリンダ壁の内側に同軸に配置された円筒状の液体用シリンダと、ステムに装着され、液体用シリンダに接して液体用シリンダとともに液体用シリンダ室を区画形成する液体用ピストンと、を有し、ノズルヘッドが押下げ操作されると、空気用ピストン及び液体用ピストンが作動して、液体用シリンダ室からノズルに向けて圧送された内容液を空気用シリンダ室からノズルに向けて圧送された空気と混合して泡状に吐出するように構成されたフォーマーディスペンサーが記載されている。
【先行技術文献】
【特許文献】
【0004】
特開2022-39844号公報
【発明の概要】
【発明が解決しようとする課題】
【0005】
上記従来のフォーマーディスペンサーでは、液体用シリンダが空気用シリンダ部材の底壁に一体に設けられた構成とされているので、内容液の吐出量を変更する場合、あるいは互いに内容液の吐出量が相違する複数種類のフォーマーディスペンサーを製造する場合には、液体用シリンダの内径が相違する複数種類の空気用シリンダ部材を製造する必要がある。
【0006】
しかし、液体用シリンダが一体に形成された空気用シリンダ部材は、比較的サイズが大きく、また形状が複雑であるので、空気用シリンダ部材を製造するための金型の作成費用や作成期間が比較的多くかかってしまい、フォーマーディスペンサーのコストが増加してしまうという問題点があった。
【0007】
本発明は、このような問題点を解決することを課題とするものであり、その目的は、内容液の吐出量を複数種類に設定可能なフォーマーディスペンサーを低コストで提供することにある。
【課題を解決するための手段】
【0008】
本発明のフォーマーディスペンサーは、容器本体の口部に取り付けられるベースキャップと、前記ベースキャップに対して上下動自在のステムと、ノズルを備え、前記ステムの上端に取り付けられたノズルヘッドと、円筒状の空気用シリンダ壁を備え、前記ベースキャップに固定された空気用シリンダ部材と、前記ステムに装着され、前記空気用シリンダ壁に接して前記空気用シリンダ部材の内部に空気用シリンダ室を区画形成する空気用ピストンと、円筒状の液体用シリンダ壁を備え、前記空気用シリンダ壁の内側に同軸に配置された液体用シリンダ部材と、前記ステムに装着され、前記液体用シリンダ壁に接して前記液体用シリンダ部材の内部に液体用シリンダ室を区画形成する液体用ピストンと、を有し、前記ノズルヘッドが押下げ操作されると、前記空気用ピストン及び前記液体用ピストンが作動して、前記液体用シリンダ室から前記ノズルに向けて圧送された内容液を前記空気用シリンダ室から前記ノズルに向けて圧送された空気と混合して泡状に吐出するように構成されたフォーマーディスペンサーであって、前記液体用シリンダ部材が、前記空気用シリンダ部材とは別体に形成されて前記空気用シリンダ部材にており、前記液体用シリンダ部材として、前記液体用シリンダ壁の内径が相違する複数種類の複数種類の何れかのものを用いるとともに前記液体用ピストンとして装着された前記液体用シリンダ部材の前記液体用シリンダ壁の内径に対応したものを用いることで内容液の吐出量を複数種類に設定可能に構成されていることを特徴とする。
【0009】
本発明のフォーマーディスペンサーは、上記構成において、前記空気用シリンダ部材が、前記空気用シリンダ壁よりも下方側に嵌合筒部を一体に備え、前記液体用シリンダ部材が、前記液体用シリンダ壁の下端に一体に連なる被嵌合筒部を備え、前記被嵌合筒部が前記嵌合筒部の外側に嵌合することで前記液体用シリンダ部材が前記空気用シリンダ部材に着脱自在に装着されているのが好ましい。
【0010】
本発明のフォーマーディスペンサーは、上記構成において、前記空気と前記内容液との混合比が、20:1~5:1であるのが好ましい。
【発明の効果】
(【0011】以降は省略されています)
この特許をJ-PlatPat(特許庁公式サイト)で参照する
関連特許
個人
収容箱
3か月前
個人
コンベア
5か月前
個人
容器
9か月前
個人
ゴミ収集器
7か月前
個人
段ボール箱
7か月前
個人
段ボール箱
7か月前
個人
土嚢運搬器具
8か月前
個人
バンド
2か月前
個人
楽ちんハンド
5か月前
個人
角筒状構造体
5か月前
個人
宅配システム
7か月前
個人
コード類収納具
8か月前
個人
閉塞装置
10か月前
個人
廃棄物収容容器
3か月前
個人
お薬の締結装置
6か月前
個人
包装容器
1か月前
株式会社和気
包装用箱
9か月前
個人
ゴミ処理機
9か月前
個人
蓋閉止構造
4か月前
株式会社コロナ
梱包材
5か月前
株式会社和気
包装用箱
9日前
株式会社バンダイ
物品
29日前
個人
貯蔵サイロ
7か月前
個人
積み重ね用補助具
3か月前
個人
把手付米袋
4か月前
個人
蓋閉止構造
4か月前
株式会社ナベル
検査装置
7日前
個人
介護用コップ
2か月前
株式会社新弘
容器
3か月前
個人
袋入り即席麺
7か月前
三甲株式会社
蓋体
9か月前
株式会社イシダ
搬送装置
6か月前
三甲株式会社
容器
2か月前
株式会社KY7
封止装置
3か月前
個人
輸送積荷用動吸振器
6か月前
個人
包装箱
10か月前
続きを見る
他の特許を見る