TOP
|
特許
|
意匠
|
商標
特許ウォッチ
Twitter
他の特許を見る
公開番号
2025149390
公報種別
公開特許公報(A)
公開日
2025-10-08
出願番号
2024050010
出願日
2024-03-26
発明の名称
化粧用容器
出願人
株式会社吉野工業所
代理人
個人
,
個人
,
個人
,
個人
主分類
A45D
33/00 20060101AFI20251001BHJP(手持品または旅行用品)
要約
【課題】製造コストを抑えつつ、メッシュ体に、平面視で文字、図形、若しくは記号等の模様として視認可能な部分を設ける。
【解決手段】内容物が収容される有底筒状の容器体と、容器体内に挿入されて固定される枠体と、枠体に固定され、枠体の内側を覆い、容器体の底部との間に内容物の収容空間を画成する伸縮性を有するメッシュ体13と、を備え、メッシュ体には、平面視で文字、図形、若しくは記号として視認可能な圧潰部22が形成されている。
【選択図】図2
特許請求の範囲
【請求項1】
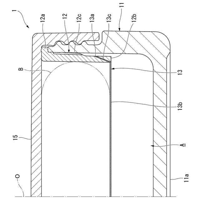
内容物が収容される有底筒状の容器体と、
前記容器体内に挿入されて固定される枠体と、
前記枠体に固定され、前記枠体の内側を覆い、前記容器体の底部との間に内容物の収容空間を画成する伸縮性を有するメッシュ体と、を備え、
前記メッシュ体には、平面視で文字、図形、若しくは記号として視認可能な圧潰部が形成されている、化粧用容器。
続きを表示(約 260 文字)
【請求項2】
前記メッシュ体のうち、前記圧潰部から離れた非圧潰部分に位置する網目一辺の長さは、前記非圧潰部分の厚さの50%以上、かつ前記非圧潰部分の厚さより小さい、請求項1に記載の化粧用容器。
【請求項3】
前記圧潰部の厚さは、前記メッシュ体のうち、前記圧潰部から離れた非圧潰部分の厚さの20%以上50%以下となっている、請求項1または2に記載の化粧用容器。
【請求項4】
前記圧潰部は、平面視で線状に延びて文字、図形、若しくは記号を構成している、請求項1または2に記載の化粧用容器。
発明の詳細な説明
【技術分野】
【0001】
本発明は、化粧用容器に関する。
続きを表示(約 1,700 文字)
【背景技術】
【0002】
内容物が収容される有底筒状の容器体と、容器体内の内容物の収容空間の上端開口を覆う伸縮性を有するメッシュ体と、を備えた化粧用容器が知られている。この種の化粧用容器として、例えば下記特許文献1~4に示されるように、メッシュ体に対して、例えばフロック加工、刺繍、ステッチ、捺染、若しくはプリント等を施して、メッシュ体に、平面視で文字、図形、若しくは記号として視認可能な部分を設けた構成が知られている。
【先行技術文献】
【特許文献】
【0003】
特開2018-064742号公報
特表2019-511274号公報
特表2021-529021号公報
特表2021-528146号公報
【発明の概要】
【発明が解決しようとする課題】
【0004】
従来、この種の化粧用容器を製造するには、前述したフロック加工等といった追加の工程が必要となり、製造コストを抑えることが困難であるという問題がある。
【0005】
本発明は、製造コストを抑えつつ、メッシュ体に、平面視で文字、図形、若しくは記号等の模様として視認可能な部分を設けることができる化粧用容器を提供する。
【課題を解決するための手段】
【0006】
本発明の一態様に係る化粧用容器は、内容物が収容される有底筒状の容器体と、前記容器体内に挿入されて固定される枠体と、前記枠体に固定され、前記枠体の内側を覆い、前記容器体の底部との間に内容物の収容空間を画成する伸縮性を有するメッシュ体と、を備え、前記メッシュ体には、平面視で文字、図形、若しくは記号として視認可能な圧潰部が形成されている。
【0007】
メッシュ体に、平面視で文字、図形、若しくは記号として視認可能な圧潰部が形成されているので、全域にわたって同じ大きさの多数の網目が設けられているメッシュ体のうちの所期した位置を厚さ方向に圧潰して、この部分に位置するメッシュ体の網目を潰す、若しくは開口を絞ることで、平面視で文字等の模様として視認可能となる圧潰部を形成することができる。したがって、互いに接近、離反可能に支持された少なくとも上下一対の金型を有する金型装置を用い、メッシュ体をインサート品として枠体を射出成形する際に、前述した金型装置が有する複数の金型のうち、枠体が成形されるキャビティ部分に対して径方向の内側に張り出す内側金型に、メッシュ体に圧潰部を成形する凹凸部を形成しておくことで、内側金型によりメッシュ体を厚さ方向に挟んだときに、凹凸部によってメッシュ体が厚さ方向に押圧され、メッシュ体に圧潰部が形成される。これにより、メッシュ体をインサート品として枠体を射出成形するのと同時に、メッシュ体に圧潰部を形成することが可能になり、製造コストを抑えつつ、メッシュ体に、平面視で文字等の模様として視認可能な部分を設けることができる。
【0008】
前記メッシュ体のうち、前記圧潰部から離れた非圧潰部分に位置する網目一辺の長さは、前記非圧潰部分の厚さの50%以上、かつ前記非圧潰部分の厚さより小さくてもよい。
【0009】
メッシュ体の非圧潰部分に位置する網目一辺の長さが、非圧潰部分の厚さの50%以上となっているので、メッシュ体に圧潰部を形成するときに、メッシュ体のうちの所期した位置の網目だけでなく、この位置に隣接する網目も潰れてしまうのを抑制することができる。
メッシュ体の非圧潰部分に位置する網目一辺の長さが、非圧潰部分の厚さより小さくなっているので、メッシュ体に圧潰部を形成するときに、メッシュ体のうちの所期した位置の網目を潰したり、この網目の開口を絞ったりすることができなくなるのを抑制することが可能になり、メッシュ体に、平面視で文字、図形、若しくは記号として視認可能な部分を確実に設けることができる。
【0010】
前記圧潰部の厚さは、前記メッシュ体のうち、前記圧潰部から離れた非圧潰部分の厚さの20%以上50%以下となっていてもよい。
(【0011】以降は省略されています)
この特許をJ-PlatPat(特許庁公式サイト)で参照する
関連特許
株式会社吉野工業所
吐出器
17日前
株式会社吉野工業所
塗布容器
8日前
株式会社吉野工業所
吐出容器
8日前
株式会社吉野工業所
塗布容器
9日前
株式会社吉野工業所
二重容器
9日前
株式会社吉野工業所
塗布容器
8日前
株式会社吉野工業所
化粧用容器
10日前
株式会社吉野工業所
吐出ポンプ
8日前
株式会社吉野工業所
スポイト容器
8日前
株式会社吉野工業所
削り出し容器
8日前
株式会社吉野工業所
ポンプ式吐出器
8日前
株式会社吉野工業所
把手付きボトル
9日前
株式会社吉野工業所
コンパクト容器
8日前
株式会社吉野工業所
合成樹脂製壜体
8日前
株式会社吉野工業所
ポンプ式吐出器
9日前
株式会社吉野工業所
ポンプ式吐出器
9日前
株式会社吉野工業所
中蓋付きキャップ
15日前
株式会社吉野工業所
キャップ付き容器
10日前
株式会社吉野工業所
ポンプ式吐出容器
8日前
株式会社吉野工業所
キャップ付き吐出栓
8日前
株式会社吉野工業所
トリガー式液体噴出器
9日前
株式会社吉野工業所
トリガー式液体噴出器
10日前
株式会社吉野工業所
トリガー式液体噴出器
8日前
株式会社吉野工業所
泡吐出具及び泡吐出容器
8日前
花王株式会社
吐出容器
1日前
株式会社吉野工業所
移行栓キャップ付き容器
8日前
花王株式会社
吐出容器
1日前
株式会社吉野工業所
フォーマーディスペンサー
9日前
株式会社吉野工業所
オーバーキャップ付き容器
8日前
株式会社吉野工業所
ポンプ式吐出具及びポンプ式吐出容器
8日前
株式会社吉野工業所
ノズル部材、ポンプ式吐出器、及び吐出器付き容器
8日前
個人
包み箱
1か月前
個人
杖
3か月前
個人
傘
1か月前
個人
傘
6か月前
個人
折り畳み傘
3か月前
続きを見る
他の特許を見る