TOP
|
特許
|
意匠
|
商標
特許ウォッチ
Twitter
他の特許を見る
公開番号
2025168891
公報種別
公開特許公報(A)
公開日
2025-11-12
出願番号
2024073729
出願日
2024-04-30
発明の名称
ねじキャップ
出願人
株式会社吉野工業所
代理人
個人
主分類
B65D
41/34 20060101AFI20251105BHJP(運搬;包装;貯蔵;薄板状または線条材料の取扱い)
要約
【課題】 TEリングを備えるねじキャップにおいて、開蓋時に、TEリングが破断しなくても容器本体から取り外すことができるとともに、不正な開蓋を判別できるねじキャップを提供すること。
【解決手段】 容器本体Aに螺着されるキャップ体Cと、キャップ体の下端に複数のTEブリッジ17を介して連結されるTEリングDとを備えるねじキャップBであって、容器本体は、口部1の外周に形成されるストッパー突部4を備え、キャップ体は、頂壁10と、頂壁の外周縁から垂設される外周壁11と、外周壁の下端から垂設される分別ブリッジ16とを備え、TEリングは、分別ブリッジから外周壁に沿って開蓋回転方向に延びる連結帯23と、連結帯の分別ブリッジと反対側の連結部23aに接続されるリング周壁21と、リング周壁の内周に形成され、容器本体のストッパー突部と係合するラチェット突起26とを備え、連結帯は、開蓋時に、径方向外側に湾曲変形することを特徴とする。
【選択図】 図1
特許請求の範囲
【請求項1】
容器本体の口部に螺着されるキャップ体と、キャップ体の下端に破断可能な複数のTEブリッジを介して連結されるTEリングとを備えるねじキャップであって、
容器本体は、口部の外周に形成されるストッパー突部を備え、
キャップ体は、頂壁と、頂壁の外周縁から垂設される外周壁と、外周壁の下端から垂設される分別ブリッジとを備え、
TEリングは、キャップ体の分別ブリッジから外周壁に沿って開蓋回転方向に延びる連結帯と、連結帯の分別ブリッジと反対側の連結部に接続されるリング周壁と、リング周壁の内周に形成され、容器本体のストッパー突部と係合するラチェット突起とを備え、
連結帯は、開蓋時に、径方向外側に湾曲変形することを特徴とするねじキャップ。
続きを表示(約 330 文字)
【請求項2】
キャップ体は、外周壁の下端からTEリングのリング周壁に向けて垂設され、分別ブリッジの閉蓋回転方向側に隣接する分別ブリッジ破断防止リブを備えることを特徴とする請求項1に記載のねじキャップ。
【請求項3】
TEリングは、連結帯より開蓋回転方向側でキャップ体と連結されるTEブリッジの間にリング周壁上端から立設され、キャップ体の外周壁下端と近接する複数の台座を備えることを特徴とする請求項1または2に記載のねじキャップ。
【請求項4】
TEリングは、分別ブリッジ破断防止リブより閉蓋回転方向側に、リング周壁の所定角度範囲だけ台座が存在しない台座なし範囲を設定したことを特徴とする請求項3に記載のねじキャップ。
発明の詳細な説明
【技術分野】
【0001】
本発明は、容器の口部に螺着されるねじキャップに関し、とくに、不正な開蓋を防止するためのTEリングを備えるねじキャップに関するものである。
続きを表示(約 2,600 文字)
【背景技術】
【0002】
TE(タンパーエビデンス)機能を有するねじキャップとして、容器本体の口部に螺着されるキャップ体の下端に、破断可能な複数のTEブリッジを介して、口部外周の係止突条に抜け出し不能に係止するTEリングを連結した不正開蓋を防止するねじキャップが、従来から使用されている。
この種のねじキャップは、開蓋時に、容器本体の口部から螺脱されるにしたがって、TEブリッジが破断され、口部の下部に残るTEリングと、開蓋されるキャップ体とに分離され、これにより、ねじキャップが開蓋されたことを判別できるが、TEリングを容器本体の口部から取り外せないという問題があった。
【0003】
この問題を解決するために、開蓋時のキャップの回転により、まず、キャップ体とTEリングを連結しているTEブリッジを破断し、次に、リング状のTEリングが変形し、TEリングの帯体の両端部を連結する弱化部が破断され、帯状となり、連結弱化片を介してTEリングをキャップ体に連結したまま容器本体からキャップを外すことができるねじキャップは、従来から知られている(例えば、特許文献1参照)。
【先行技術文献】
【特許文献】
【0004】
特開2013-10554号公報
【発明の概要】
【発明が解決しようとする課題】
【0005】
上記特許文献1記載のねじキャップは、連結弱化片を介して封緘帯(TEリング)をキャップ本体(キャップ体)に連結したまま容器本体からねじキャップを外すことができるので、内容物を一回だけ使用する使い切りタイプの容器などのねじキャップとして適しているが、開蓋時、容器本体の係止段部に封緘帯の係止爪片が係止するため、封緘帯の弱化部を破断しないと係止段部から封緘帯を取り外すことが困難となるという問題があった。
また、上記ねじキャップは、開蓋する際に、キャップ本体を少し回転しただけでは、キャップ本体と封緘帯とを連設する弱化片の一部が破断されるだけで、帯体の端部同士を連結する弱化部が破断されないので、開蓋したか否かを判別し難いという問題があった。
【0006】
本発明は、上記問題を解決することを課題とし、TEリングを備えるねじキャップにおいて、開蓋時に、TEリングが破断しなくても容器本体から取り外すことができるとともに、不正な開蓋を判別できるねじキャップを提供することを目的とする。
【課題を解決するための手段】
【0007】
本発明は、上記の課題を解決するため、ねじキャップとして、容器本体の口部に螺着されるキャップ体と、キャップ体の下端に破断可能な複数のTEブリッジを介して連結されるTEリングとを備えるねじキャップであって、容器本体は、口部の外周に形成されるストッパー突部を備え、キャップ体は、頂壁と、頂壁の外周縁から垂設される外周壁と、外周壁の下端から垂設される分別ブリッジとを備え、TEリングは、キャップ体の分別ブリッジから外周壁に沿って開蓋回転方向に延びる連結帯と、連結帯の分別ブリッジと反対側の連結部に接続されるリング周壁と、リング周壁の内周に形成され、容器本体のストッパー突部と係合するラチェット突起とを備え、連結帯は、開蓋時に、径方向外側に湾曲変形することを特徴とする構成を採用する。
【0008】
本発明のねじキャップの実施形態として、キャップ体は、外周壁の下端からTEリングのリング周壁に向けて垂設され、分別ブリッジの閉蓋回転方向側に隣接する分別ブリッジ破断防止リブを備えることを特徴とする構成を採用し、また、TEリングは、連結帯より開蓋回転方向側でキャップ体と連結されるTEブリッジの間にリング周壁上端から立設され、キャップ体の外周壁下端と近接する複数の台座を備えることを特徴とする構成を採用し、また、TEリングは、分別ブリッジ破断防止リブより閉蓋回転方向側に、リング周壁の所定角度範囲だけ台座が存在しない台座なし範囲を設定したことを特徴とする構成を採用する。
【発明の効果】
【0009】
本発明のねじキャップは、上記構成を採用することにより、キャップ体を容器本体に対して開蓋方向に回転させると、容器本体のストッパー突部とTEリングのラチェット突起との係合によりTEリングが回転不能となり、キャップ体とTEリングを連結する破断不能な連結帯が径方向外側に湾曲変形しながらTEリングを引っ張り上げるため、TEリングのラチェット突起が容器本体のストッパー突部との係合を外され、TEリングをキャップ体と一緒に容器本体の口部から外すことができるとともに、その後、TEリングのリング周壁に指を掛け、キャップ体に対して引っ張ることにより、分別ブリッジを破断させ、キャップ体からTEリングを分別して廃棄することができる。
また、本発明のねじキャップは、開蓋時の回転を途中で止めた場合であっても、連結帯が径方向外側に湾曲変形して痕跡が残るため、キャップ体を不正に開蓋したか否かを簡単に判別できる。
【図面の簡単な説明】
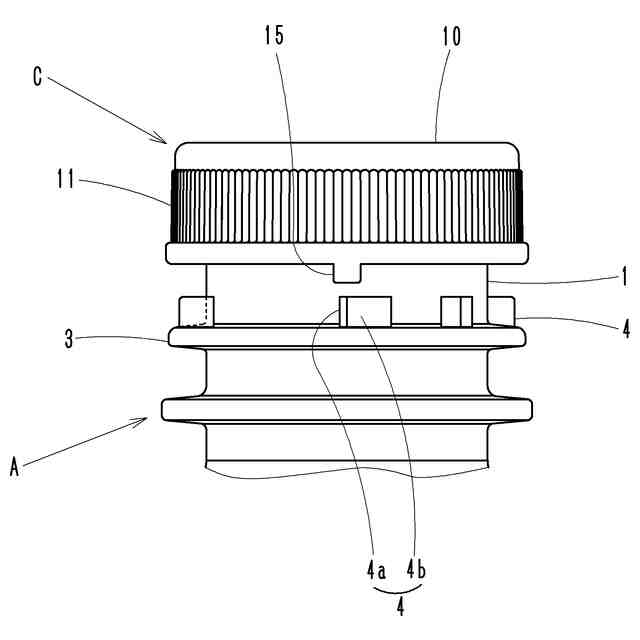
【0010】
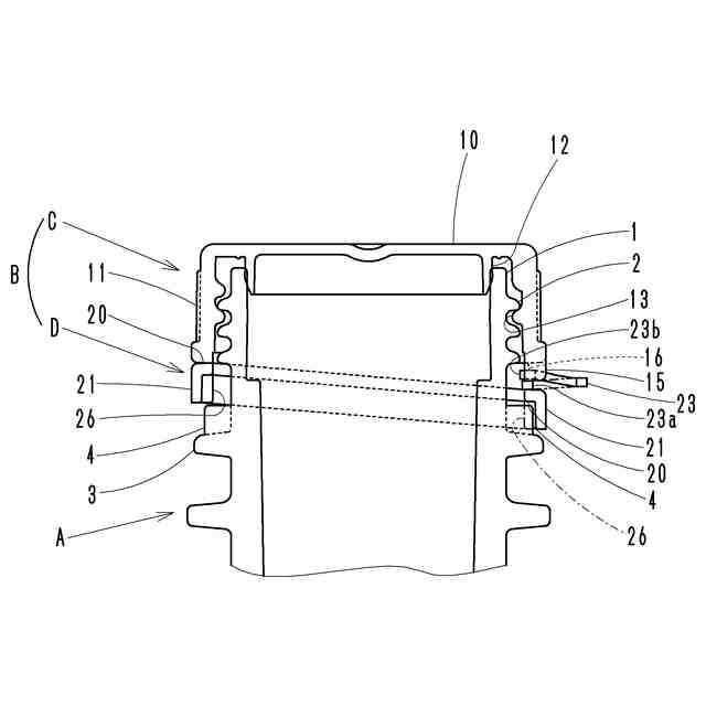
本発明の実施例であるねじキャップを容器本体にセット後の状態を示す図で、(a)は一部側面断面図、(b)は(a)のX-X線切断矢視図である。
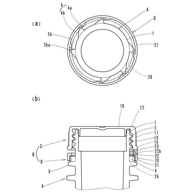
本発明の実施例であるねじキャップを容器本体にセット後の状態を示す図で、(a)は図1(a)のY-Y線切断矢視図、(b)は図1(a)のZ-Z線切断図である。
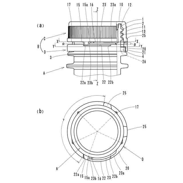
本発明の実施例であるねじキャップのキャップ体回転時の図1(a)のX-X線切断矢視図であり、(a)は回転途中時、(b)は(a)のさらに回転した時の状態図である。
本発明の実施例であるねじキャップのキャップ体回転時を示す図3(b)の状態における側面断面図である。
本発明の実施例であるねじキャップを容器本体から外した時の側面図である。
本発明の実施例であるねじキャップのキャップ体に連結されたTEリングを除去した後、キャップ体を容器本体に閉蓋した時の側面図である。
【発明を実施するための形態】
(【0011】以降は省略されています)
この特許をJ-PlatPat(特許庁公式サイト)で参照する
関連特許
株式会社吉野工業所
蓋体
1か月前
株式会社吉野工業所
吐出器
2か月前
株式会社吉野工業所
吐出器
25日前
株式会社吉野工業所
吐出器
1か月前
株式会社吉野工業所
塗布容器
1か月前
株式会社吉野工業所
吐出容器
25日前
株式会社吉野工業所
吐出容器
25日前
株式会社吉野工業所
歯ブラシ
1か月前
株式会社吉野工業所
繰出容器
25日前
株式会社吉野工業所
塗布容器
1か月前
株式会社吉野工業所
塗布容器
1か月前
株式会社吉野工業所
二重容器
1か月前
株式会社吉野工業所
吐出容器
1か月前
株式会社吉野工業所
化粧用容器
2か月前
株式会社吉野工業所
ノズル部材
25日前
株式会社吉野工業所
吐出ポンプ
1か月前
株式会社吉野工業所
計量注出容器
1か月前
株式会社吉野工業所
削り出し容器
1か月前
株式会社吉野工業所
スパウト容器
1か月前
株式会社吉野工業所
スポイト容器
1か月前
株式会社吉野工業所
繰り出し容器
2か月前
株式会社吉野工業所
計量注出容器
1か月前
株式会社吉野工業所
スポイト容器
1か月前
株式会社吉野工業所
ねじキャップ
25日前
株式会社吉野工業所
計量注出容器
25日前
株式会社吉野工業所
吐出キャップ
26日前
株式会社吉野工業所
パウダー容器
25日前
株式会社吉野工業所
ポンプ式吐出器
1か月前
株式会社吉野工業所
ポンプ式吐出器
1か月前
株式会社吉野工業所
把手付きボトル
1か月前
株式会社吉野工業所
ブラシ型塗布具
25日前
株式会社吉野工業所
フォーマポンプ
1か月前
株式会社吉野工業所
コンパクト容器
1か月前
株式会社吉野工業所
把手付きボトル
25日前
株式会社吉野工業所
ポンプ式吐出器
1か月前
株式会社吉野工業所
合成樹脂製壜体
1か月前
続きを見る
他の特許を見る