TOP
|
特許
|
意匠
|
商標
特許ウォッチ
Twitter
他の特許を見る
10個以上の画像は省略されています。
公開番号
2025133040
公報種別
公開特許公報(A)
公開日
2025-09-10
出願番号
2025015647
出願日
2025-01-31
発明の名称
繰り出し容器
出願人
株式会社吉野工業所
代理人
個人
,
個人
,
個人
主分類
A45D
40/04 20060101AFI20250903BHJP(手持品または旅行用品)
要約
【課題】使用済みのカートリッジを新たなカートリッジに付け替える際の作業性を向上させた、新たな繰り出し容器を提供する。
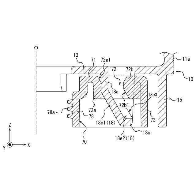
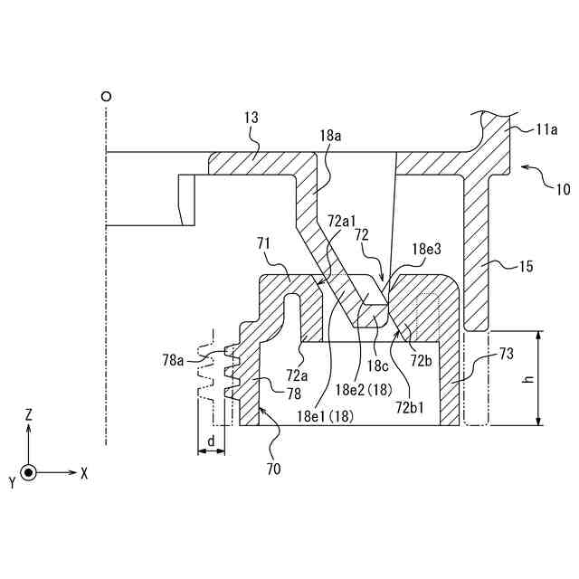
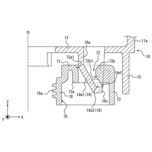
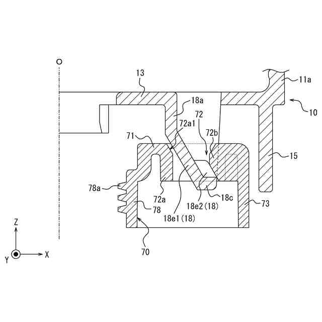
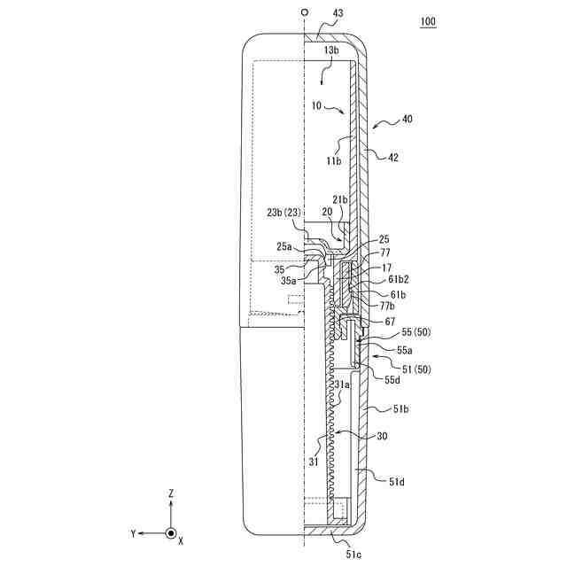
【解決手段】本開示の繰り出し容器100は、平面視において扁平形状を有する容器本体10と、上下方向に移動可能な中皿体20と、中皿体20を上下に駆動可能な回転軸30と、容器本体10が載置される台座60と、台座60に対して扁平形状の長軸方向に移動可能なスライド部材70であって、回転軸30の雄ねじ部31aに係合可能な雌ねじ部78aが設けられた、スライド部材70とを備え、容器本体10には、下方に向かって長軸方向外側に向けて傾斜する傾斜部18が設けられ、スライド部材70は、傾斜部18を上方から受け入れる係合開口72を有し、容器本体10を台座60に載置すると雌ねじ部78aが雄ねじ部31aにねじ係合し、容器本体10を台座60から上方に離隔させると雌ねじ部78aと雄ねじ部31aとのねじ係合が解除されることを特徴とする。
【選択図】図1
特許請求の範囲
【請求項1】
容器本体内の内容物を繰り出す繰り出し容器であって、
平面視において扁平形状を有し、上部に開口を有する有底筒状の容器本体と、
前記容器本体内に配置され、前記容器本体に対して上下方向に移動可能に支持された中皿体と、
上下方向に延び、前記中皿体を上下方向に駆動可能な回転軸と、
平面視において扁平形状を有し、前記容器本体が載置される台座と、
前記台座に対して扁平形状の長軸方向に移動可能なスライド部材であって、前記回転軸の外面に設けられた雄ねじ部にねじ係合可能な雌ねじ部が前記長軸方向内側端に設けられた、該スライド部材と
を備え、
前記容器本体の底部には、下方に向かって前記長軸方向外側に向けて傾斜する傾斜部が設けられ、
前記スライド部材は、前記傾斜部を上方から受け入れる係合開口を有し、
前記容器本体を前記台座に載置すると、前記傾斜部の前記長軸方向内側が前記係合開口の内端部に当接し、前記スライド部材が前記長軸方向内側に移動し、前記雌ねじ部が前記雄ねじ部にねじ係合し、
前記容器本体を前記台座から上方に離隔させると、前記傾斜部の前記長軸方向外側が前記係合開口の外端部に当接し、前記スライド部材が前記長軸方向外側に移動して、前記雌ねじ部と前記雄ねじ部とのねじ係合が解除される、繰り出し容器。
続きを表示(約 1,000 文字)
【請求項2】
前記容器本体を前記台座から上方に離隔させると、前記スライド部材が前記長軸方向外側に移動して前記台座に係止される、請求項1に記載の繰り出し容器。
【請求項3】
前記係合開口の内端部又は外端部の少なくとも一方は、前記傾斜部と略同一角度で傾斜する傾斜面を有する、請求項1又は2に記載の繰り出し容器。
【請求項4】
前記中皿体の下部及び前記回転軸の上部の一方は、他方に対して離脱可能に嵌合し、
前記中皿体の周壁は、前記容器本体の側壁に対して離脱可能に嵌合し、
前記中皿体の周壁と前記容器本体の側壁との嵌合を離脱させるための前記中皿体に対する上方への離脱力は、前記中皿体の下部と前記回転軸の上部とを嵌合させるための前記回転軸に対する上方への嵌合力よりも大きい、請求項1又は2に記載の繰り出し容器。
【請求項5】
前記台座の下方には、平面視において扁平形状を有し、前記回転軸と同期して回転する操作部が設けられている、請求項1又は2に記載の繰り出し容器。
【請求項6】
前記容器本体を側方及び上方から覆う蓋体を更に備え、該蓋体は、平面視において前記操作部と略同一形状を有する、請求項5に記載の繰り出し容器。
【請求項7】
前記回転軸が可動範囲の最下点に位置するときに、前記中皿体を前記容器本体に係合させた状態で前記容器本体を前記台座に係合させると、前記中皿体と前記回転軸とが係合する、請求項1又は2に記載の繰り出し容器。
【請求項8】
前記中皿体は、前記回転軸に対して離脱可能に係合し、
前記中皿体は、前記容器本体に対して離脱可能に係合し、
前記容器本体は、前記台座に対して離脱可能に係合し、
前記容器本体と前記台座との係合を解除するために必要な上下方向の離脱力は、前記中皿体と前記容器本体との係合を解除するために必要な上下方向の離脱力よりも大きく、
前記中皿体と前記容器本体との係合を解除するために必要な上下方向の離脱力は、前記中皿体を前記回転軸に係合させるために必要な上下方向の係合力よりも大きく、
前記中皿体と前記回転軸との係合を解除するために必要な上下方向の離脱力は、前記容器本体に前記中皿体を係合させるために必要な上下方向の係合力よりも大きい、請求項1又は2に記載の繰り出し容器。
発明の詳細な説明
【技術分野】
【0001】
本開示は、繰り出し容器に関するものである。
続きを表示(約 1,700 文字)
【背景技術】
【0002】
従来から、例えば特許文献1に示す繰り出し容器が知られている。この繰り出し容器は、棒状内容物を保持するカートリッジ3がねじ係合によりベース2に着脱可能に取り付けられ、使用済みのカートリッジを新たなカートリッジに付け替えることができるものである。
【先行技術文献】
【特許文献】
【0003】
特開2023-151191号公報
【発明の概要】
【発明が解決しようとする課題】
【0004】
しかし、特許文献1に示す繰り出し容器においては、使用済みのカートリッジを新たなカートリッジに付け替える際に、嵌合突起がカートリッジの係止凸部と第2ねじ部を乗り越える必要があるため、カートリッジの交換作業の容易さという点において、未だ改善の余地があった。
【0005】
本開示の目的とするところは、使用済みのカートリッジを新たなカートリッジに付け替える際の作業性を向上させた、新たな繰り出し容器を提供することにある。
【課題を解決するための手段】
【0006】
本開示は、上記課題を解決するためになされたものであり、本開示の繰り出し容器は、
[1]
容器本体内の内容物を繰り出す繰り出し容器であって、
平面視において扁平形状を有し、上部に開口を有する有底筒状の容器本体と、
前記容器本体内に配置され、前記容器本体に対して上下方向に移動可能に支持された中皿体と、
上下方向に延び、前記中皿体を上下方向に駆動可能な回転軸と、
平面視において扁平形状を有し、前記容器本体が載置される台座と、
前記台座に対して扁平形状の長軸方向に移動可能なスライド部材であって、前記回転軸の外面に設けられた雄ねじ部にねじ係合可能な雌ねじ部が前記長軸方向内側端に設けられた、該スライド部材と
を備え、
前記容器本体の底部には、下方に向かって前記長軸方向外側に向けて傾斜する傾斜部が設けられ、
前記スライド部材は、前記傾斜部を上方から受け入れる係合開口を有し、
前記容器本体を前記台座に載置すると、前記傾斜部の前記長軸方向内側が前記係合開口の内端部に当接し、前記スライド部材が前記長軸方向内側に移動し、前記雌ねじ部が前記雄ねじ部にねじ係合し、
前記容器本体を前記台座から上方に離隔させると、前記傾斜部の前記長軸方向外側が前記係合開口の外端部に当接し、前記スライド部材が前記長軸方向外側に移動して、前記雌ねじ部と前記雄ねじ部とのねじ係合が解除されることを特徴とするものである。
【0007】
また、本開示の繰り出し容器は、
[2]
上記[1]に記載の構成において、前記容器本体を前記台座から上方に離隔させると、前記スライド部材が前記長軸方向外側に移動して前記台座に係止されることが好ましい。
【0008】
また、本開示の繰り出し容器は、
[3]
上記[1]又は[2]に記載の構成において、前記係合開口の内端部又は外端部の少なくとも一方は、前記傾斜部と略同一角度で傾斜する傾斜面を有することが好ましい。
【0009】
また、本開示の繰り出し容器は、
[4]
上記[1]から[3]のいずれかに記載の構成において、前記中皿体の下部及び前記回転軸の上部の一方は、他方に対して離脱可能に嵌合し、前記中皿体の周壁は、前記容器本体の側壁に対して離脱可能に嵌合し、前記中皿体の周壁と前記容器本体の側壁との嵌合を離脱させるための前記中皿体に対する上方への離脱力は、前記中皿体の下部と前記回転軸の上部とを嵌合させるための前記回転軸に対する上方への嵌合力よりも大きいことが好ましい。
【0010】
また、本開示の繰り出し容器は、
[5]
上記[1]から[4]のいずれかに記載の構成において、前記台座の下方には、平面視において扁平形状を有し、前記回転軸と同期して回転する操作部が設けられていることが好ましい。
(【0011】以降は省略されています)
この特許をJ-PlatPat(特許庁公式サイト)で参照する
関連特許
株式会社吉野工業所
蓋体
1か月前
株式会社吉野工業所
吐出器
28日前
株式会社吉野工業所
吐出器
1か月前
株式会社吉野工業所
注出部材
今日
株式会社吉野工業所
吐出容器
28日前
株式会社吉野工業所
吐出容器
28日前
株式会社吉野工業所
歯ブラシ
1か月前
株式会社吉野工業所
繰出容器
28日前
株式会社吉野工業所
ノズル部材
28日前
株式会社吉野工業所
吐出キャップ
29日前
株式会社吉野工業所
スポイト容器
1か月前
株式会社吉野工業所
パウダー容器
今日
株式会社吉野工業所
計量注出容器
28日前
株式会社吉野工業所
パウダー容器
28日前
株式会社吉野工業所
計量注出容器
1か月前
株式会社吉野工業所
スパウト容器
1か月前
株式会社吉野工業所
計量注出容器
1か月前
株式会社吉野工業所
ねじキャップ
28日前
株式会社吉野工業所
フォーマポンプ
1か月前
株式会社吉野工業所
ポンプ式吐出器
1か月前
株式会社吉野工業所
ポンプ式吐出器
2か月前
株式会社吉野工業所
合成樹脂製容器
28日前
株式会社吉野工業所
ブラシ型塗布具
28日前
株式会社吉野工業所
把手付きボトル
28日前
株式会社吉野工業所
ねじキャップ容器
28日前
株式会社吉野工業所
ポンプ携帯ホルダー
28日前
株式会社吉野工業所
ポンプ式泡吐出容器
28日前
株式会社吉野工業所
トリガー式液体噴出器
28日前
株式会社吉野工業所
トリガー式液体噴出器
28日前
株式会社吉野工業所
携帯補助具を備えた容器
1か月前
株式会社吉野工業所
圧縮ばね部材及び吐出器
1か月前
花王株式会社
吐出容器
1か月前
花王株式会社
吐出容器
1か月前
株式会社吉野工業所
詰替え容器及び詰替え方法
1日前
株式会社吉野工業所
樹脂製品製造方法及び樹脂製品
28日前
株式会社吉野工業所
リフィル容器、および蓋付き容器
1か月前
続きを見る
他の特許を見る