TOP
|
特許
|
意匠
|
商標
特許ウォッチ
Twitter
他の特許を見る
10個以上の画像は省略されています。
公開番号
2025059556
公報種別
公開特許公報(A)
公開日
2025-04-10
出願番号
2023169708
出願日
2023-09-29
発明の名称
傘
出願人
個人
代理人
個人
主分類
A45B
9/02 20060101AFI20250403BHJP(手持品または旅行用品)
要約
【課題】傘を畳んでいる状態で持ち運ぶ際に、他の用途に両手が使えて邪魔にならない傘を提供する。
【解決手段】
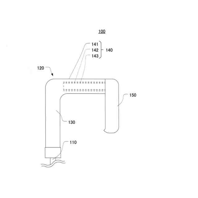
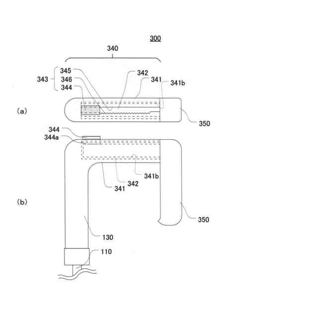
傘100は、生地を支持する骨部と、骨部を開閉可能に支持するシャフト部110と、シャフト部110の先端に設けられるハンドル部120と、を備え、ハンドル部120は、シャフト部110に沿って延設する握り部130と、握り部130に連接され、握り部130の延設方向とは異なる方向に直線的に伸縮する伸縮部140と、伸縮部140に連接され、伸縮部140の伸縮により握り部130との間隔が変わるフック部150と、を備えたことを特徴とする。よって、傘を畳んでいる状態で持ち運ぶ際に、伸縮部を伸ばして肩に掛けられるため、荷物を両手で持ったり、電車のつり革につかまってスマホの操作をしたりなど、他の用途に両手が使えて邪魔にならない傘を提供できる。
【選択図】図1
特許請求の範囲
【請求項1】
生地を支持する骨部と、骨部を開閉可能に支持するシャフト部と、前記シャフト部の先端に設けられるハンドル部と、を備えた傘であって、
前記ハンドル部は、
前記シャフト部に沿って延設する握り部と、
前記握り部に連続して設けられ、前記握り部の延設方向とは異なる方向に直線的に伸縮する伸縮部と、
前記伸縮部に連続して設けられ、前記伸縮部の伸縮により前記握り部との間隔が変わるフック部と、
を備えたことを特徴とする、傘。
続きを表示(約 890 文字)
【請求項2】
前記伸縮部は、
一端が前記握り部及び前記フック部の少なくともいずれか一方に連結され、他端が開口された中空部を備えた中間部と、
前記中間部の開口を介して前記中空部に出没可能に収容される延伸部と、を備えたことを特徴とする、請求項1に記載の傘。
【請求項3】
複数の前記延伸部が径方向に重複して設けられており、複数の前記延伸部が前記中間部の開口から順次突出していくことを特徴とする、請求項2に記載の傘。
【請求項4】
前記中間部の他端には、磁石部が設けられており、
前記延伸部に設けられるスチール部が前記磁石部に吸着して、前記延伸部の前記中間部から突出した状態又は前記中間部に収容された状態が保持されることを特徴とする、請求項2に記載の傘。
【請求項5】
前記延伸部を任意の長さに出没させた位置で前記中間部に固定可能な固定手段が設けられていることを特徴とする、請求項2に記載の傘。
【請求項6】
前記固定手段は、
前記延伸部に設けられ、前記延伸部の出没方向への移動を操作可能な移動ツマミと、
前記中間部に設けられ、前記移動ツマミの移動をガイドするガイド部と、
前記ガイド部に設けられ、前記移動ツマミを係止する係止部と、
を備えたことを特徴とする、請求項5に記載の傘。
【請求項7】
前記固定手段は、
前記延伸部に設けられ、前記延伸部の出没方向への移動を操作可能であるとともに、回転操作によって前記延伸部の移動を規制可能な回転ツマミと、
前記中間部に設けられ、前記回転ツマミの移動をガイドするガイド部と、
を備えたことを特徴とする、請求項5に記載の傘。
【請求項8】
前記固定手段は、
前記中空部の一端から他端の開口まで連続して形成された雌ネジ穴と、
前記延伸部の外周に形成され、前記雌ネジ穴に螺合する雄ネジと、
によって構成されることを特徴とする、請求項5に記載の傘。
発明の詳細な説明
【技術分野】
【0001】
本発明は、傘に係り、特にシャフトの先端に設けられるハンドルに特徴を有する傘に関する。
続きを表示(約 1,400 文字)
【背景技術】
【0002】
従来の傘として、非特許文献1に開示されるものが知られている。同文献に開示される傘は、傘を畳んでいる状態で持ち運ぶ際は、一方の手で持つ必要がある。
【先行技術文献】
【非特許文献】
【0003】
インターネットURL(https://ja.wikipedia.org/wiki/%E5%82%98)
【発明の概要】
【発明が解決しようとする課題】
【0004】
しかしながら、上記非特許文献1に開示されるような従来の傘では、傘を畳んでいる状態において荷物を持ち運ぶ際に、一方の手が傘で塞がる。このため、荷物が両手にあったり、バスや電車のつり革につかまっているときにスマホを操作したりすると、傘の仮置き場所としての適切な置き場所がなく、傘が邪魔になるという問題がある。特にスマホにおいては、電車内等で立っている際にもスマホを見ている姿が多く散見され、いまや、どのような環境であってもスマホは手放せないものとなっている。
【0005】
そこで本発明は、このような問題に鑑みてなされたもので、その目的とするところは、傘を畳んでいる状態で持ち運ぶ際に、他の用途に両手が使えて邪魔にならない傘を提供することにある。
【課題を解決するための手段】
【0006】
上記課題を解決するために、本発明によれば、生地を支持する骨部と、骨部を開閉可能に支持するシャフト部と、前記シャフト部の先端に設けられるハンドル部と、を備えた傘であって、前記ハンドル部は、前記シャフト部に沿って延設する握り部と、前記握り部に連続して設けられ、前記握り部の延設方向とは異なる方向に直線的に伸縮する伸縮部と、前記伸縮部に連続して設けられ、前記伸縮部の伸縮により前記握り部との間隔が変わるフック部と、を備えたことを特徴とする、傘が提供される。
【0007】
かかる構成によれば、傘を畳んでいる状態で持ち運ぶ際に、両手がふさがっている際は、ハンドルの伸縮部を伸ばして傘を肩に掛けておくことができ、他の用途に両手が使えて邪魔にならずに傘を持ち運ぶことができる。
【0008】
本発明は様々な応用が可能である。以下の応用例は、適宜組み合わせて実施できる。
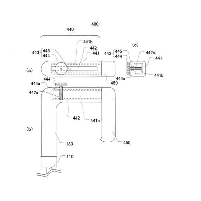
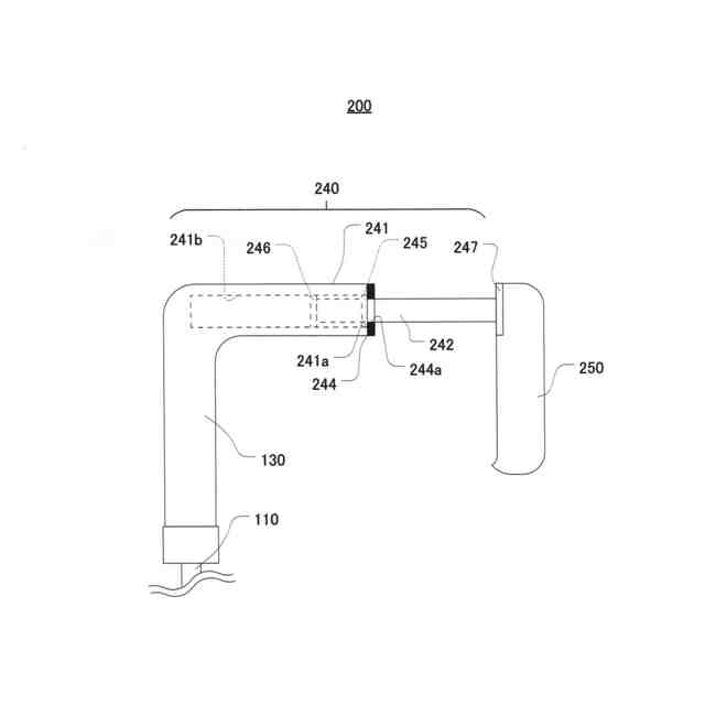
例えば、前記伸縮部は、一端が前記握り部及び前記フック部の少なくともいずれか一方に連結され、他端が開口された中空部を備えた中間部と、前記中間部の開口を介して前記中空部に出没可能に収容される延伸部と、を備えてもよい。
【0009】
前記伸縮部は、前記中間部の一端が前記握り部及び前記フック部の少なくともいずれか一方に連結されて伸縮可能になる点について、伸縮可能な3通りの構成について説明する。
【0010】
1つ目の構成として、前記伸縮部は、前記中間部の一端が前記握り部に連結され、他端が開口された中空部を備えた中間部と、前記中間部の開口を介して前記中空部に出没可能に収容される延伸部と、を備えてもよい。かかる構成により、ハンドル部の前記フック部と前記延伸部が一体となり前記開口から前記伸縮部を直線的に伸縮させることができる。よって、ハンドル部において前記フック部が伸縮方向に移動可能となる。
(【0011】以降は省略されています)
この特許をJ-PlatPat(特許庁公式サイト)で参照する
関連特許
個人
包み箱
3か月前
個人
爪やすり
1か月前
個人
傘
7か月前
個人
杖
5か月前
個人
傘
3か月前
個人
二重把手袋
7か月前
個人
財布
5か月前
個人
折り畳み傘
4か月前
個人
バッグ
4か月前
個人
眼鏡ホルダー
4か月前
個人
シール
7か月前
個人
肩ベルトカバー
3か月前
個人
美容用具
4か月前
個人
シート状パック
7か月前
個人
ゲル状のシート
22日前
個人
補助持ち手付き傘
6か月前
個人
傘の先端キャップ
6か月前
ベス工業株式会社
整髪具
6か月前
株式会社松風
人工爪組成物
6日前
株式会社文殊
巾着袋
4か月前
株式会社イケテイ
袋物
6か月前
株式会社バンビ
長財布
1か月前
コクヨ株式会社
バッグ
7か月前
個人
エクステプレート
3か月前
個人
傘巻き取り補助具
2か月前
株式会社 カワダ
カバン
4か月前
個人
背負い型荷物支え具
1か月前
個人
棒状小物類収納可変ケース
1か月前
個人
牽引の楽なキャリーバッグ
1か月前
クツワ株式会社
書類収容体
6か月前
株式会社A.Y.Judie
財布
3か月前
個人
鞄および鞄の製造方法
1か月前
個人
保冷バッグ
17日前
株式会社吉野工業所
繰出容器
6か月前
三菱鉛筆株式会社
液体塗布具
1か月前
株式会社ツインバード
ヘアドライヤー
2か月前
続きを見る
他の特許を見る