TOP
|
特許
|
意匠
|
商標
特許ウォッチ
Twitter
他の特許を見る
10個以上の画像は省略されています。
公開番号
2025044087
公報種別
公開特許公報(A)
公開日
2025-04-01
出願番号
2023173242
出願日
2023-09-19
発明の名称
折りたたみ式提げ手。
出願人
個人
代理人
主分類
A45C
13/26 20060101AFI20250325BHJP(手持品または旅行用品)
要約
【課題】十分な強度を有する段ボールシート状部材を用いた提げ手であって、使用時の組み立ての容易さと使い方の多様さを両立し展開及び収納が簡単な折りたたみ式提げ手を提供することを目的とする。
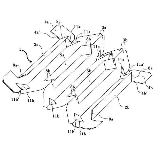
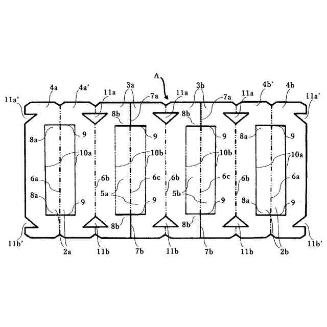
【解決手段】段ボールシートAに設けた山折り線6a及び6b及び6cと谷折り線7a及び7bを折りたたむとともに把持部底面2a及び2bに設けた係止部8aと把持部側面3a及び3bに設けた係止部8bを相互に係着させることにより本提げ手1が組み立てできる。本提げ手の各把持部の頂辺部に切り欠き口11a’及び11aと11b’及び11bが相対して形成されている。使用時はこれら切り欠き口や折り曲げ線10a及び10b部を用いて手荷物及び買い物袋を懸架する。本提げ手は製造コストや工程が低減され安価で且つ組み立ても容易であることからサービス用の提げ手として好適であり脱プラスチックとしても環境負荷が少ない。また使用後の利用価値が高いことも特徴である。
【選択図】図1
特許請求の範囲
【請求項1】
段ボールシートAに設けた山折り線6a及び6b及び6cと谷折り線7a及び7bを折りたたむとともに、把持部底面2a及び2bに設けた係止部8aと把持部側面3a及び3bに設けた係止部8bを相互に係着させることにより提げ手1が組み立てられる。このような構造を特徴とする折りたたみ式提げ手。
続きを表示(約 430 文字)
【請求項2】
各把持部の頂辺部に切り欠き口11a’及び11aと11b’及び11bを設け、それらが相対するように形成されている。このようにすることで、使用時に把持部の頂辺部にかかる負荷が切り欠き口の間で分散され提げ手の強度や耐久性を高めることができる。このような構造を特徴とする折りたたみ式提げ手。
【請求項3】
把持部側面3a及び3bに有する山折り部5a、5bを折りたたむことで、手荷物と提げ手の間に隙間を作りだす。これにより提げ手の握りやすさを向上させるとともに、横方向や捩れ方向の剛性を高め耐久性を更に向上させる効果がある。このような構造を特徴とする折りたたみ式提げ手。
【請求項4】
把持部内折り面4a及び4bを山折り線6aで折り返すことにより、把持部内折り面4a’及び4b’と2枚重ね構造となる。この構造は、横方向や捩れ方向の剛性も高め耐久性を向上させる効果がある。このような構造を特徴とする折りたたみ式提げ手。
発明の詳細な説明
【技術分野】
【0001】
本発明は手荷物を梱包している紐や手提げの付いた買い物袋等を懸架する持ち手として使用することができる提げ手に関するものである。
続きを表示(約 1,400 文字)
【背景技術】
【0002】
買い物した時の重い手荷物や買い物袋等を素手で吊り下げての長時間の持ち歩きは手の平に徐々に食い込む苦痛に耐えなければならない。
【0003】
このようなことから、重い手荷物等で手の平に食い込む苦痛を緩和する提げ手も数多く販売されているが、サービス用としての提げ手は握り部と引掛け部が一体成形された使い捨てプラスチック製のもの等が従来品として知られている。
【先行技術文献】
【特許文献】
【0004】
特許第3598146号公報
【発明の概要】
【発明が解決しようとする課題】
【0005】
上記のサービス用提げ手は、家に持ち帰ると捨ててしまうことが多い。プラスチックの大半がゴミとして燃やされ熱源などに利用されるが二酸化炭素排出の問題も深刻な環境汚染である。また、使い捨てのプラスチック製品は海や河川に流出すると分解されにくく、深刻な環境汚染を引き起す。更にはマイクロプラスチック微粒子となって海洋生物の生態系の破壊も深刻な問題である。
【0006】
本発明の目的は、このような環境汚染を鑑みてなされたものであって、安価で再利用度も高く、脱プラスチックとして環境負荷が少ない提げ手を提供することである。
【課題を解決するための手段】
【0007】
即ち、請求項1に記載の提げ手1は、段ボールシートAに設けた山折り線6a及び6b及び6cと谷折り線7a及び7bを折りたたむとともに、把持部底面2a及び2bに設けた係止部8aと把持部側面3a及び3bに設けた係止部8bを相互に係着させることで、提げ手1が組み立てできる。このように構成したものである。
【0008】
また、請求項2に記載の提げ手1は、各把持部の頂辺部に切り欠き口11a’及び11aと11b’及び11bを設け、それらが相対するように形成されている。このようにすることで、使用時に把持部の頂辺部にかかる負荷が切り欠き口の間で分散され提げ手1の強度や耐久性を高めることができる。また、新たに提げ手を連結させることで、横方向や捩れ方向の剛性を一層高め耐久性も更に向上させる効果がある。このような構造を特徴としたものである。
【0009】
また、請求項3に記載の提げ手1は、把持部側面3a及び3bに有する山折り部5a、5bを折りたたむことで、手荷物と提げ手の間に隙間を作りだし、握りやすさを高めるとともに、横方向やねじれ方向の剛性も高め耐久性も向上させる効果がある。このような構造を特徴としたものである。
【0010】
また、請求項4に記載の提げ手1は、把持部内折り面4a、4bを山折り線6aで折り返すことにより、把持部内折り面4a’及び4b’と2枚重ね構造となる。この2枚重ね構造は、横方向や捩れ方向に対する剛性を高め耐久性も向上させる効果がある。このような構造を特徴としたものである。
【発明の効果】
【】
以上説明したように、本発明は十分な強度を有する段ボールシートAに、手荷物及び買い物袋を懸架する切り欠き口を設け、山折り線及び谷折り線と把持部に有する山折り部を折りたたみ、次に把持部底面に設けた係止部と把持部側面に設けた係止部を相互に係着させることにより提げ手1が組み立てられる。このような構造を特徴とする折りたたみ式提げ手である。
(【0011】以降は省略されています)
この特許をJ-PlatPat(特許庁公式サイト)で参照する
関連特許
個人
包み箱
1か月前
個人
傘
6か月前
個人
爪やすり
8日前
個人
傘
1か月前
個人
杖
3か月前
個人
二重把手袋
6か月前
個人
財布
4か月前
個人
折り畳み傘
3か月前
個人
バッグ
3か月前
個人
眼鏡ホルダー
2か月前
個人
シール
6か月前
個人
刺抜き具
7か月前
個人
美容用具
3か月前
個人
肩ベルトカバー
2か月前
個人
シート状パック
6か月前
個人
傘
9か月前
個人
滑らないヘアピン
9か月前
個人
補助持ち手付き傘
5か月前
個人
傘の先端キャップ
5か月前
個人
電動爪削り器
10か月前
個人
香りカプセル
11か月前
ベス工業株式会社
整髪具
5か月前
大忠株式会社
バッグ
8か月前
個人
スマートフォンカバー
7か月前
株式会社文殊
巾着袋
3か月前
個人
手提げ袋携帯ホルダー
7か月前
個人
リュックサック
10か月前
個人
折りたたみ式提げ手。
7か月前
株式会社バンビ
長財布
8か月前
個人
エクステプレート
1か月前
株式会社イケテイ
袋物
5か月前
コクヨ株式会社
バッグ
6か月前
個人
傘巻き取り補助具
1か月前
個人
傘の折り畳み式滴受け具
11か月前
株式会社バンビ
長財布
21日前
個人
棒状小物類収納可変ケース
23日前
続きを見る
他の特許を見る