TOP
|
特許
|
意匠
|
商標
特許ウォッチ
Twitter
他の特許を見る
10個以上の画像は省略されています。
公開番号
2025059420
公報種別
公開特許公報(A)
公開日
2025-04-10
出願番号
2023169501
出願日
2023-09-29
発明の名称
バッグ
出願人
コクヨ株式会社
代理人
個人
主分類
A45C
5/00 20060101AFI20250403BHJP(手持品または旅行用品)
要約
【課題】物品の出し入れを好適に行うことができるだけでなく型崩れが好適に抑制されたバッグを提供する。
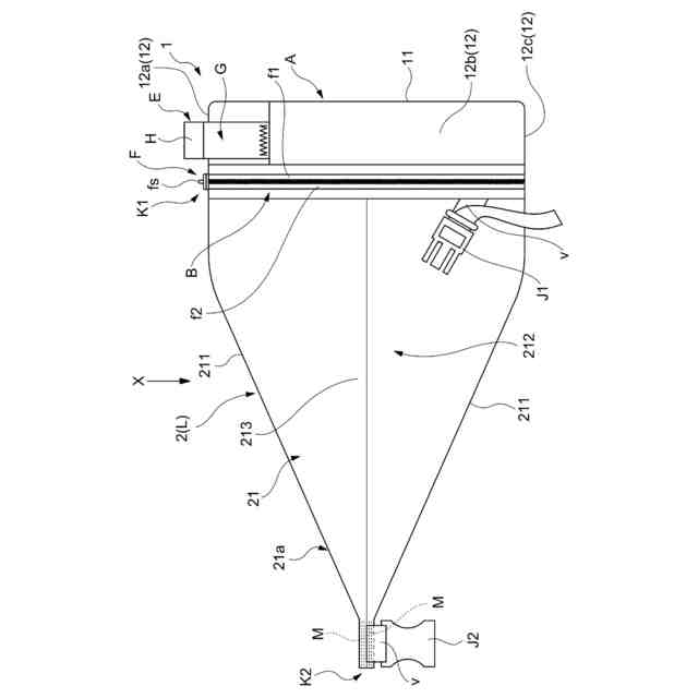
【解決手段】一方側に設けられ第一開口部K1を通じて物品Tを出し入れ可能な第一収納空間S1を有する第一収納部1と、他方側に設けられ第二開口部K2を通じて物品Tを出し入れ可能な第二収納空間S2を有する第二収納部2と、第一収納部1と第二収納部2とを区成する仕切り3とを備えたバッグであって、仕切り3が、仕切本体部31と、仕切本体部31の周囲に接続されるとともに第一の収納部1と第二の収納部2の区成位置を変更させるマチ部32とを含んで構成され、仕切本体部31が、マチ部32よりも硬質のものである。
【選択図】図13
特許請求の範囲
【請求項1】
一方側に設けられ第一開口部を通じて物品を出し入れ可能な第一収納空間を有する第一収納部と、他方側に設けられ第二開口部を通じて物品を出し入れ可能な第二収納空間を有する第二収納部と、前記第一収納空間と前記第二収納空間との間に介設され前記第一収納部と前記第二収納部とを区成する仕切りとを備えたバッグであって、
前記仕切りが、仕切本体部と、この仕切本体部の周囲に接続されるとともに前記第一の収納部と前記第二の収納部の区成位置を変更させるマチ部とを含んで構成されたものであり、
前記仕切本体部が、前記マチ部よりも硬質のものであるバッグ。
続きを表示(約 850 文字)
【請求項2】
前記仕切本体部が、透明又は透光性を有するものである請求項1記載のバッグ。
【請求項3】
前記第一開口部及び前記第二開口部の双方又は何れか一方が、スライドファスナーによって開閉可能に構成されている請求項1記載のバッグ。
【請求項4】
前記第一開口部及び前記第二開口部の双方又は何れか一方が、開口縁に帯状又は棒状に構成された一対の芯材を対向するように配設したものである請求項1記載のバッグ。
【請求項5】
前記第一収納部及び前記第二収納部の双方又は何れか一方の開口縁部分が、前記一対の芯材を巻芯にして巻き込み可能に構成されている請求項4記載のバッグ。
【請求項6】
前記一対の芯材を有する前記第一開口部及び前記第二開口部の双方又は何れか一方の両端部に、前記第一収納部又は第二収納部の外面に設けた一方の係止具に対して係脱可能な他方の係止具が配設されている請求項4記載のバッグ。
【請求項7】
前記第一収納部及び前記第二収納部の双方又は何れか一方が、撥水性又は防水性を有するシート材を主体に構成されている請求項1記載のバッグ。
【請求項8】
物品を収納し得るポケット空間を有するポケットが設けられたものであり、
前記ポケット空間が、第一収納部内又は第二収納部内の双方又は何れか一方に配設されたポケット形成部材と前記仕切りとの間に形成されたものである請求項1記載のバッグ。
【請求項9】
前記仕切りが、前記第一収納部の構成部分と前記第二収納部の構成部分を兼ねたものである請求項1記載のバッグ。
【請求項10】
前記第一開口部がスライドファスナーによって開閉可能に構成されたものであり、
前記第二開口部が、開口縁に帯状又は棒状に構成された一対の芯材を対向するように配設したものである請求項1記載のバッグ。
(【請求項11】以降は省略されています)
発明の詳細な説明
【技術分野】
【0001】
本発明は、物品を収納し得るバッグに関する。
続きを表示(約 1,000 文字)
【背景技術】
【0002】
従来から、物品を収納し得る種々のバッグが知られている。この種のバッグには、収納させるべき物品を整理するために板状をなす仕切りが立設されたものが存在する(例えば、特許文献1を参照)。
【0003】
ところが、従来のものは、立設された仕切りが特定の箇所に固定されたものとなっていたため、仕切りの存在に起因して、所定の空間内に物品を収納できなかったり収納された物品を嵩張らせたりする場合があった。
【先行技術文献】
【特許文献】
【0004】
実開昭62-98591号公報
【発明の概要】
【発明が解決しようとする課題】
【0005】
本発明は、以上のような事情に着目してなされたものであり、少なくとも、物品の出し入れを好適に行うことができるだけでなく物品による型崩れが好適に抑制されたバッグを提供することにある。
【課題を解決するための手段】
【0006】
すなわち、本発明は次の構成をなしている。
【0007】
請求項1に記載の発明は、一方側に設けられ第一開口部を通じて物品を出し入れ可能な第一収納空間を有する第一収納部と、他方側に設けられ第二開口部を通じて物品を出し入れ可能な第二収納空間を有する第二収納部と、前記第一収納空間と前記第二収納空間との間に介設され前記第一収納部と前記第二収納部とを区成する仕切りとを備えたバッグであって、前記仕切りが、仕切本体部と、この仕切本体部の周囲に接続されるとともに前記第一の収納部と前記第二の収納部の区成位置を変更させるマチ部とを含んで構成されたものであり、前記仕切本体部が、前記マチ部よりも硬質のものであるバッグである。
【0008】
請求項2に記載の発明は、前記仕切本体部が、透明又は透光性を有するものである請求項1記載のバッグである。
【0009】
請求項3に記載の発明は、前記第一開口部及び前記第二開口部の双方又は何れか一方が、スライドファスナーによって開閉可能に構成されている請求項1記載のバッグである。
【0010】
請求項4に記載の発明は、前記第一開口部及び前記第二開口部の双方又は何れか一方が、開口縁に帯状又は棒状に構成された一対の芯材を対向するように配設したものである請求項1記載のバッグである。
(【0011】以降は省略されています)
この特許をJ-PlatPat(特許庁公式サイト)で参照する
関連特許
コクヨ株式会社
紐状部材係合体
2か月前
コクヨ株式会社
キャップ係合構造、及び、容器
1か月前
コクヨ株式会社
ブース
22日前
コクヨ株式会社
転写具
1か月前
コクヨ株式会社
ブース家具
1か月前
コクヨ株式会社
ブース家具
1か月前
コクヨ株式会社
ブース家具
1か月前
コクヨ株式会社
ブース家具
1か月前
個人
包み箱
2か月前
個人
傘
7か月前
個人
傘
2か月前
個人
爪やすり
14日前
個人
杖
4か月前
個人
二重把手袋
6か月前
個人
財布
4か月前
個人
折り畳み傘
3か月前
個人
眼鏡ホルダー
3か月前
個人
バッグ
3か月前
個人
シール
6か月前
個人
刺抜き具
7か月前
個人
肩ベルトカバー
2か月前
個人
傘
9か月前
個人
シート状パック
7か月前
個人
美容用具
3か月前
個人
傘の先端キャップ
5か月前
個人
滑らないヘアピン
9か月前
個人
補助持ち手付き傘
5か月前
個人
香りカプセル
11か月前
ベス工業株式会社
整髪具
5か月前
個人
電動爪削り器
10か月前
個人
スマートフォンカバー
7か月前
個人
リュックサック
11か月前
個人
折りたたみ式提げ手。
7か月前
大忠株式会社
バッグ
8か月前
株式会社文殊
巾着袋
3か月前
個人
手提げ袋携帯ホルダー
8か月前
続きを見る
他の特許を見る