TOP
|
特許
|
意匠
|
商標
特許ウォッチ
Twitter
他の特許を見る
公開番号
2025169072
公報種別
公開特許公報(A)
公開日
2025-11-12
出願番号
2024074058
出願日
2024-04-30
発明の名称
ポンプ携帯ホルダー
出願人
株式会社吉野工業所
代理人
個人
,
個人
,
個人
主分類
B65D
23/00 20060101AFI20251105BHJP(運搬;包装;貯蔵;薄板状または線条材料の取扱い)
要約
【課題】低コストのポンプ携帯ホルダーを提供することである。
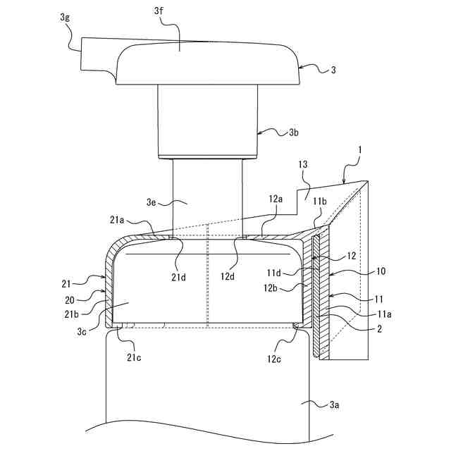
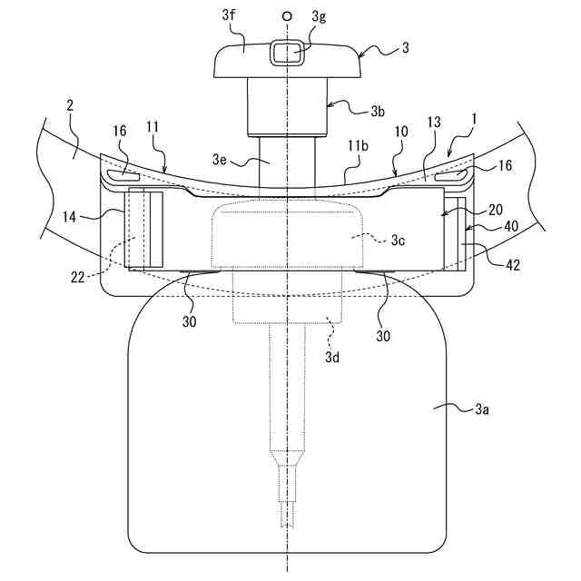
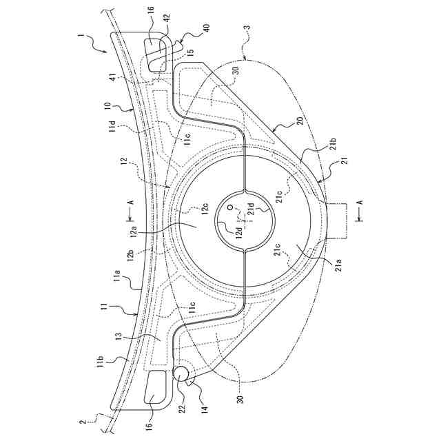
【解決手段】ベルト係合部11と本体側ポンプ嵌合部12とを備えた合成樹脂製の本体部10と、カバー側ポンプ嵌合部21を備え、本体部10に開閉自在に取り付けられた合成樹脂製のカバー部20と、本体部10に設けられ、カバー部21の下端に当接する合成樹脂製の支持壁30と、本体部10及びカバー部20の何れか一方に設けられ、何れか他方に設けられた係止突起15に係合してカバー部20を閉じた状態に保持する爪部41と、押圧されることで爪部41の係止突起15への係合を解除する操作部42と、を備えた合成樹脂製のレバー40と、を有し、本体側ポンプ嵌合部12とカバー側ポンプ嵌合部21との間にキャップ3cを嵌合させてポンプ付きボトル3を保持するように構成されているポンプ携帯ホルダー1。
【選択図】図1
特許請求の範囲
【請求項1】
ポンプ付きボトルを保持するポンプ携帯ホルダーであって、
ベルト係合部と本体側ポンプ嵌合部とを備えた合成樹脂製の本体部と、
カバー側ポンプ嵌合部を備え、前記本体部に開閉自在に取り付けられた合成樹脂製のカバー部と、
前記本体部に設けられ、前記カバー部の下端に当接する合成樹脂製の支持壁と、
前記本体部及び前記カバー部の何れか一方に設けられ、前記本体部及び前記カバー部の何れか他方に設けられた係止突起に係合して前記カバー部を閉じた状態に保持する爪部と、押圧されることで前記爪部の前記係止突起への係合を解除する操作部と、を備えた合成樹脂製のレバーと、を有し、
前記本体側ポンプ嵌合部と前記カバー側ポンプ嵌合部との間に前記ポンプ付きボトルのキャップを嵌合させて前記ポンプ付きボトルを保持するように構成されている、ことを特徴とするポンプ携帯ホルダー。
続きを表示(約 470 文字)
【請求項2】
前記本体側ポンプ嵌合部が、前記キャップの上面の半分に対応するとともに半円状の切欠きを備えた半円弧状の本体側上嵌合壁と、前記本体側上嵌合壁に連なるとともに前記キャップの外周面に対応した半円筒状の本体側周壁と、前記本体側周壁の下端に連なるとともに前記本体側上嵌合壁に間隔を空けて対向する本体側下嵌合壁とを備え、
前記カバー側ポンプ嵌合部が、前記キャップの上面の半分に対応するとともに半円状の切欠きを備えた半円弧状のカバー側上嵌合壁と、前記カバー側上嵌合壁に連なるとともに前記キャップの外周面に対応した半円筒状のカバー側周壁と、前記カバー側周壁の下端に連なるとともに前記カバー側上嵌合壁に間隔を空けて対向するカバー側下嵌合壁とを備え、
前記本体側下嵌合壁の周方向長さが、前記カバー側下嵌合壁の周方向長さよりも長くなっている、請求項1に記載のポンプ携帯ホルダー。
【請求項3】
前記本体部が、両端にショルダーベルトを挿通するための孔を備えている、請求項1または2に記載のポンプ携帯ホルダー。
発明の詳細な説明
【技術分野】
【0001】
本発明は、ポンプ付きボトルを保持するポンプ携帯ホルダーに関する。
続きを表示(約 1,400 文字)
【背景技術】
【0002】
例えば、医療現場(病院)などにおいて、医療従事者は、作業前や病室の入室前に手の消毒を行うために、消毒液を収容したボトルにポンプ式吐出具が装着されたポンプ付きボトルをポンプ携帯ホルダーにセットして携帯して持ち歩くことが求められている。
【0003】
このようなポンプ携帯ホルダーとして、従来、袋状の形態を有し、ポンプ付きボトルを収容するとともにショルダーベルトないし腰ベルトに係合保持されることで身に着けられるようにしたものが知られている(例えば特許文献1参照)。
【先行技術文献】
【特許文献】
【0004】
特開2023-67037号公報
【発明の概要】
【発明が解決しようとする課題】
【0005】
しかし、従来のポンプ携帯ホルダーは布製であるため、高コストであるという問題点があった。
【0006】
本発明は、このような課題に鑑みてなされたものであり、その目的は、低コストのポンプ携帯ホルダーを提供することにある。
【課題を解決するための手段】
【0007】
本発明のポンプ携帯ホルダーは、ポンプ付きボトルを保持するポンプ携帯ホルダーであって、ベルト係合部と本体側ポンプ嵌合部とを備えた合成樹脂製の本体部と、カバー側ポンプ嵌合部を備え、前記本体部に開閉自在に取り付けられた合成樹脂製のカバー部と、前記本体部に設けられ、前記カバー部の下端に当接する合成樹脂製の支持壁と、前記本体部及び前記カバー部の何れか一方に設けられ、前記本体部及び前記カバー部の何れか他方に設けられた係止突起に係合して前記カバー部を閉じた状態に保持する爪部と、押圧されることで前記爪部の前記係止突起への係合を解除する操作部と、を備えた合成樹脂製のレバーと、を有し、前記本体側ポンプ嵌合部と前記カバー側ポンプ嵌合部との間に前記ポンプ付きボトルのキャップを嵌合させて前記ポンプ付きボトルを保持するように構成されている、ことを特徴とする。
【0008】
本発明のポンプ携帯ホルダーは、上記構成において、前記本体側ポンプ嵌合部が、前記キャップの上面の半分に対応するとともに半円状の切欠きを備えた半円弧状の本体側上嵌合壁と、前記本体側上嵌合壁に連なるとともに前記キャップの外周面に対応した半円筒状の本体側周壁と、前記本体側周壁の下端に連なるとともに前記本体側上嵌合壁に間隔を空けて対向する本体側下嵌合壁とを備え、前記カバー側ポンプ嵌合部が、前記キャップの上面の半分に対応するとともに半円状の切欠きを備えた半円弧状のカバー側上嵌合壁と、前記カバー側上嵌合壁に連なるとともに前記キャップの外周面に対応した半円筒状のカバー側周壁と、前記カバー側周壁の下端に連なるとともに前記カバー側上嵌合壁に間隔を空けて対向するカバー側下嵌合壁とを備え、前記本体側下嵌合壁の周方向長さが、前記カバー側下嵌合壁の周方向長さよりも長くなっているのが好ましい。
【0009】
本発明のポンプ携帯ホルダーは、上記構成において、前記本体部が、両端にショルダーベルトを挿通するための孔を備えているのが好ましい。
【発明の効果】
【0010】
本発明によれば、低コストのポンプ携帯ホルダーを提供することができる。
【図面の簡単な説明】
(【0011】以降は省略されています)
この特許をJ-PlatPat(特許庁公式サイト)で参照する
関連特許
株式会社吉野工業所
蓋体
1か月前
株式会社吉野工業所
吐出器
25日前
株式会社吉野工業所
吐出器
1か月前
株式会社吉野工業所
繰出容器
25日前
株式会社吉野工業所
歯ブラシ
1か月前
株式会社吉野工業所
吐出容器
25日前
株式会社吉野工業所
吐出容器
25日前
株式会社吉野工業所
ノズル部材
25日前
株式会社吉野工業所
計量注出容器
1か月前
株式会社吉野工業所
計量注出容器
1か月前
株式会社吉野工業所
吐出キャップ
26日前
株式会社吉野工業所
パウダー容器
25日前
株式会社吉野工業所
スパウト容器
1か月前
株式会社吉野工業所
ねじキャップ
25日前
株式会社吉野工業所
計量注出容器
25日前
株式会社吉野工業所
スポイト容器
1か月前
株式会社吉野工業所
ブラシ型塗布具
25日前
株式会社吉野工業所
把手付きボトル
25日前
株式会社吉野工業所
合成樹脂製容器
25日前
株式会社吉野工業所
ポンプ式吐出器
1か月前
株式会社吉野工業所
フォーマポンプ
1か月前
株式会社吉野工業所
ねじキャップ容器
25日前
株式会社吉野工業所
ポンプ式泡吐出容器
25日前
株式会社吉野工業所
ポンプ携帯ホルダー
25日前
株式会社吉野工業所
トリガー式液体噴出器
25日前
株式会社吉野工業所
トリガー式液体噴出器
25日前
株式会社吉野工業所
圧縮ばね部材及び吐出器
1か月前
花王株式会社
吐出容器
1か月前
株式会社吉野工業所
携帯補助具を備えた容器
1か月前
株式会社吉野工業所
樹脂製品製造方法及び樹脂製品
25日前
株式会社吉野工業所
リフィル容器、および蓋付き容器
1か月前
ホーユー株式会社
エアゾール容器用吐出具
17日前
株式会社吉野工業所
容器、容器の製造方法、及び積層シートのオーバーラップ部の検出方法
25日前
個人
束ね具
26日前
個人
収容箱
4か月前
個人
コンベア
6か月前
続きを見る
他の特許を見る