TOP
|
特許
|
意匠
|
商標
特許ウォッチ
Twitter
他の特許を見る
公開番号
2025168848
公報種別
公開特許公報(A)
公開日
2025-11-12
出願番号
2024073652
出願日
2024-04-30
発明の名称
計量注出容器
出願人
株式会社吉野工業所
代理人
個人
,
個人
,
個人
主分類
B65D
47/20 20060101AFI20251105BHJP(運搬;包装;貯蔵;薄板状または線条材料の取扱い)
要約
【課題】部品数を抑制してコストを抑制できる計量注出容器を提供する。
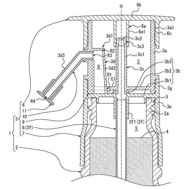
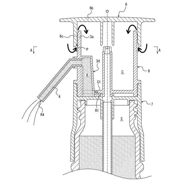
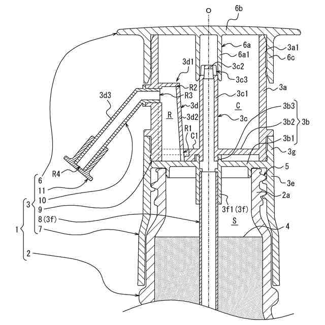
【解決手段】計量注出容器1は、口部2a、胴部及び底部をこの順に連ねて有する容器本体2と、口部2aに装着される計量注出器3とを有し、計量注出器3は、周壁部3a、底壁部3b及び計量筒3cによって形成される計量室Cと、注出流路Rとを有し、計量室Cは、容器本体2のスクイズ操作に応じて容器本体2内の内容液4を計量筒3cを通して所定の液面レベルLまで導入して貯留し、液面レベルLを超えて導入される内容液4を計量筒3cを通して容器本体2内に戻し、注出流路Rは、液面レベルLまで貯留される内容液4を導入口R1から導入して、液面レベルLよりも低い注出流路Rの最上部R2を通して、計量室Cの底部よりも下方に位置する注出口R4から注出する。
【選択図】図1
特許請求の範囲
【請求項1】
口部、胴部及び底部をこの順に連ねて有し内容液を収容する容器本体と、
前記口部に装着される計量注出器とを有し、
前記計量注出器は、周壁部、底壁部及び計量筒によって形成される計量室と、注出流路形成部によって形成され、前記計量室の底部に設けられる導入口から前記計量室の外部に設けられる注出口まで延びる注出流路とを有し、
前記計量室は、前記容器本体へのスクイズ操作に応じて前記容器本体内の前記内容液を前記計量筒を通して所定の液面レベルまで導入して貯留し、前記液面レベルを超えて導入される前記内容液を前記計量筒を通して前記容器本体内に戻し、
前記注出流路は、前記液面レベルまで貯留される前記内容液を前記導入口から導入して、前記液面レベルよりも低い前記注出流路の最上部を通して、前記計量室の底部よりも下方に位置する前記注出口から注出する、計量注出容器。
続きを表示(約 610 文字)
【請求項2】
前記導入口は、前記計量室の最下部よりも下方に設けられる、請求項1に記載の計量注出容器。
【請求項3】
シール位置と非シール位置との間で移動可能に前記周壁部に装着される開閉キャップと、前記周壁部と前記開閉キャップとの間に形成される外気導入路とを有し、
前記計量筒は、前記計量室に対して前記内容液を流出入させることで前記液面レベルを規定する連通口を有し、
前記開閉キャップは、前記シール位置において前記連通口を密封する一方、前記非シール位置において前記連通口を開放するシール部を有し、
前記外気導入路は、前記液面レベルまで貯留される前記内容液が前記注出口から注出される時に外気を前記計量室内に導入する、請求項1に記載の計量注出容器。
【請求項4】
前記外気導入路は、前記非シール位置において閉塞される一方、前記シール位置において開放される、請求項3に記載の計量注出容器。
【請求項5】
前記注出流路形成部は、注出時の前記注出流路の前記最上部よりも下流側で前記注出口を含めて前記注出流路を形成する可動部を有し、
前記可動部は、前記注出口が前記液面レベルよりも上方に保持される非注出姿勢から、操作に応じて、前記注出口が前記導入口よりも下方に保持される注出姿勢になることで前記内容液を注出する、請求項1に記載の計量注出容器。
発明の詳細な説明
【技術分野】
【0001】
本発明は計量注出容器に関する。
続きを表示(約 1,400 文字)
【背景技術】
【0002】
容器本体と、容器本体に装着される計量注出器とを有し、計量注出器は、計量室と、1回の作動で容器本体内の内容液を計量室内に所定の液面レベルまで導入するポンプと、計量室の底部に設けられる導入口から計量室の外部に設けられる注出口まで延びる注出流路とを有し、注出流路は、液面レベルまで貯留される内容液を導入口から導入して、液面レベルよりも低い注出流路の最上部を通して、計量室の底部よりも下方に位置する注出口から注出する、計量注出容器が知られている(例えば特許文献1参照)。このような計量注出容器によれば、計量注出容器を反転させる操作をしなくても内容液を注出できるので、手軽に計量された内容液を利用できる。
【先行技術文献】
【特許文献】
【0003】
特開2011-51602号公報
【発明の概要】
【発明が解決しようとする課題】
【0004】
上記のようにポンプによって計量する構成では、部品数が多くコストが高くなる傾向がある。
【0005】
そこで本発明の目的は、部品数を抑制してコストを抑制できる計量注出容器を提供することにある。
【課題を解決するための手段】
【0006】
本発明の一態様は以下のとおりである。
【0007】
[1]
口部、胴部及び底部をこの順に連ねて有し内容液を収容する容器本体と、
前記口部に装着される計量注出器とを有し、
前記計量注出器は、周壁部、底壁部及び計量筒によって形成される計量室と、注出流路形成部によって形成され、前記計量室の底部に設けられる導入口から前記計量室の外部に設けられる注出口まで延びる注出流路とを有し、
前記計量室は、前記容器本体へのスクイズ操作に応じて前記容器本体内の前記内容液を前記計量筒を通して所定の液面レベルまで導入して貯留し、前記液面レベルを超えて導入される前記内容液を前記計量筒を通して前記容器本体内に戻し、
前記注出流路は、前記液面レベルまで貯留される前記内容液を前記導入口から導入して、前記液面レベルよりも低い前記注出流路の最上部を通して、前記計量室の底部よりも下方に位置する前記注出口から注出する、計量注出容器。
【0008】
[2]
前記導入口は、前記計量室の最下部よりも下方に設けられる、[1]に記載の計量注出容器。
【0009】
[3]
シール位置と非シール位置との間で移動可能に前記周壁部に装着される開閉キャップと、前記周壁部と前記開閉キャップとの間に形成される外気導入路とを有し、
前記計量筒は、前記計量室に対して前記内容液を流出入させることで前記液面レベルを規定する連通口を有し、
前記開閉キャップは、前記シール位置において前記連通口を密封する一方、前記非シール位置において前記連通口を開放するシール部を有し、
前記外気導入路は、前記液面レベルまで貯留される前記内容液が前記注出口から注出される時に外気を前記計量室内に導入する、[1]又は[2]に記載の計量注出容器。
【0010】
[4]
前記外気導入路は、前記非シール位置において閉塞される一方、前記シール位置において開放される、[3]に記載の計量注出容器。
(【0011】以降は省略されています)
この特許をJ-PlatPat(特許庁公式サイト)で参照する
関連特許
株式会社吉野工業所
蓋体
9日前
株式会社吉野工業所
吐出器
4日前
株式会社吉野工業所
吐出器
9日前
株式会社吉野工業所
歯ブラシ
9日前
株式会社吉野工業所
吐出容器
4日前
株式会社吉野工業所
吐出容器
4日前
株式会社吉野工業所
繰出容器
4日前
株式会社吉野工業所
吐出容器
1か月前
株式会社吉野工業所
ノズル部材
4日前
株式会社吉野工業所
スポイト容器
9日前
株式会社吉野工業所
吐出キャップ
5日前
株式会社吉野工業所
パウダー容器
4日前
株式会社吉野工業所
計量注出容器
9日前
株式会社吉野工業所
計量注出容器
10日前
株式会社吉野工業所
スパウト容器
9日前
株式会社吉野工業所
計量注出容器
4日前
株式会社吉野工業所
ねじキャップ
4日前
株式会社吉野工業所
削り出し容器
1か月前
株式会社吉野工業所
ポンプ式吐出器
9日前
株式会社吉野工業所
ポンプ式吐出器
1か月前
株式会社吉野工業所
コンパクト容器
1か月前
株式会社吉野工業所
合成樹脂製容器
4日前
株式会社吉野工業所
フォーマポンプ
9日前
株式会社吉野工業所
把手付きボトル
4日前
株式会社吉野工業所
ブラシ型塗布具
4日前
株式会社吉野工業所
ねじキャップ容器
4日前
株式会社吉野工業所
ポンプ式泡吐出容器
4日前
株式会社吉野工業所
ポンプ携帯ホルダー
4日前
株式会社吉野工業所
トリガー式液体噴出器
4日前
株式会社吉野工業所
トリガー式液体噴出器
4日前
株式会社吉野工業所
携帯補助具を備えた容器
9日前
株式会社吉野工業所
圧縮ばね部材及び吐出器
9日前
花王株式会社
吐出容器
1か月前
花王株式会社
吐出容器
1か月前
株式会社吉野工業所
オーバーキャップ付き容器
1か月前
株式会社吉野工業所
樹脂製品製造方法及び樹脂製品
4日前
続きを見る
他の特許を見る