TOP
|
特許
|
意匠
|
商標
特許ウォッチ
Twitter
他の特許を見る
公開番号
2025154144
公報種別
公開特許公報(A)
公開日
2025-10-10
出願番号
2024056993
出願日
2024-03-29
発明の名称
オーバーキャップ付き容器
出願人
株式会社吉野工業所
代理人
弁理士法人銀座マロニエ特許事務所
主分類
B65D
51/24 20060101AFI20251002BHJP(運搬;包装;貯蔵;薄板状または線条材料の取扱い)
要約
【課題】オーバーキャップとベースキャップの上下方向の嵌合力を向上させつつ、オーバーキャップの回転に伴ってベースキャップが供回りすることを防止することのできるオーバーキャップ付き容器を提供する。
【解決手段】容器本体1と、容器本体1の口頚部11に取付けられるベースキャップ2に保持され、押圧ヘッド32を押し込むことにより内容物を吐出させるディスペンサー3と、ディスペンサー3をベースキャップ2とともに覆い隠すオーバーキャップ4と、を備え、オーバーキャップ4は、内周壁の周りを周回する環状凹部43を有し、ベースキャップ2は、オーバーキャップ4の環状凹部43の全周にわたって着脱自在にアンダーカット嵌合可能な環状凸部27を有し、ベースキャップ2の環状凸部27に、その環状凸部27よりも嵌合幅が広く、かつオーバーキャップ4の環状凹部43の周方向の少なくとも3点において嵌合可能な係止用突起28が設けられている。
【選択図】図1
特許請求の範囲
【請求項1】
内容物を収容する容器本体と、該容器本体の口頚部に取付けられるベースキャップに保持され、押圧ヘッドを押し込むことにより前記容器本体内に収容された内容物を吐出させるディスペンサーと、該ディスペンサーを前記ベースキャップとともに覆い隠すオーバーキャップと、を備えたオーバーキャップ付き容器であって、
前記オーバーキャップは、内周壁の周りを周回する環状凹部を有し、
前記ベースキャップは、前記オーバーキャップの環状凹部の全周にわたって着脱自在にアンダーカット嵌合可能な環状凸部を有し、
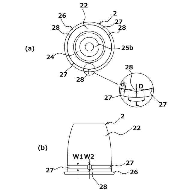
前記ベースキャップの環状凸部に、その環状凸部よりも嵌合幅が広く、かつ、前記オーバーキャップの環状凹部の周方向の少なくとも3点において嵌合可能な係止用突起が設けられていることを特徴とするオーバーキャップ付き容器。
続きを表示(約 540 文字)
【請求項2】
内容物を収容する容器本体と、該容器本体の口頚部に取付けられるベースキャップに保持され、押圧ヘッドを押し込むことにより前記容器本体内に収容された内容物を吐出させるディスペンサーと、該ディスペンサーを前記ベースキャップとともに覆い隠すオーバーキャップと、を備えたオーバーキャップ付き容器であって、
前記オーバーキャップは、内周壁の周りを周回する環状凸部を有し、
前記ベースキャップは、前記オーバーキャップの環状凸部の全周にわたって着脱自在にアンダーカット嵌合可能な環状凹部を有し、
前記オーバーキャップの環状凸部に、その環状凸部よりも嵌合幅が広く、かつ、前記ベースキャップの環状凹部の周方向の少なくとも3点において嵌合可能な係止用突起が設けられていることを特徴とするオーバーキャップ付き容器。
【請求項3】
前記ベースキャップは、前記容器本体の口頚部に螺合により取付けられるねじ部を有することを特徴とする請求項1または2に記載のオーバーキャップ付き容器。
【請求項4】
前記環状凸部に設けられた係止用突起は、その環状凸部よりも大きい突出代を有することを特徴とする請求項1または2に記載のオーバーキャップ付き容器。
発明の詳細な説明
【技術分野】
【0001】
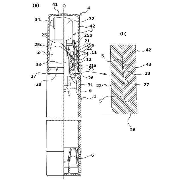
本発明は、容器本体と、該容器本体の口頚部にベースキャップを介して保持されるディスペンサーと、該ディスペンサーを前記ベースキャップとともに覆い隠すためのオーバーキャップと、を備えたオーバーキャップ付き容器に関する。
続きを表示(約 2,000 文字)
【背景技術】
【0002】
化粧料や整髪料等の内容物を収容する容器として、押圧ヘッドを備えた容器が広く利用されている。このような容器は、押圧ヘッドを押し下げることによりポンプが作動し、容器本体内に収容した内容物を吸い上げてノズルから簡単に吐出することができるため非常に便利である。
【0003】
その一方で、上記容器は、流通時や取扱時等において押圧ヘッドが意図せず押し下げられて内容物が吐出されてしまうおそれがある。そのため、押圧ヘッドを覆うように容器本体にオーバーキャップを着脱自在に装着し、押圧ヘッドが誤操作されることを防止したオーバーキャップ付き容器が知られている(特許文献1)。
【0004】
オーバーキャップ付き容器は、例えば、押圧ヘッドを保持するために容器本体の口頚部にねじ止めされたベースキャップの外周面に係止用突起を設け、該係止用突起に、オーバーキャップの内周面に設けた係止用リブをアンダーカット嵌合させることで装着、保持することができる一方、使用に際し、オーバーキャップを手指で上方に引き上げることで、該オーバーキャップを簡単に取り外すことができるように構成されている。
【先行技術文献】
【特許文献】
【0005】
特開2022-39082号公報
【発明の概要】
【発明が解決しようとする課題】
【0006】
オーバーキャップ付き容器は、上記したように使用に際し、オーバーキャップを手指で引き上げることでアンダーカット嵌合を解除することができるように構成されているものの、オーバーキャップがベースキャップに装着された状態でオーバーキャップを回転させてしまった場合に、オーバーキャップの回転によって容器本体の口頚部にねじ止めされているベースキャップが供回りして外れることも想定され、これにより容器本体内に空気が侵入して内容物が汚損されたり、容器本体が脱落して内容物がこぼれてしまうおそれがあった。
【0007】
とくに内容物の充填容量が大きな容器においては、オーバーキャップを把持して製品を振ることがあっても、該オーバーキャップから容器本体が簡単に脱落しないようにアンダーカット嵌合の嵌合代を大きくして両者の嵌合力が高められていることから、オーバーキャップが回転するときの回転トルクも大きく、ベースキャップがより一層供回りし易い状況にあり、その改善が求められていた。
【0008】
本発明は、このような問題点を解決することを課題とするものであり、その目的は、オーバーキャップとベースキャップ(容器本体)の上下方向の嵌合力を向上させつつ、該オーバーキャップと該ベースキャップとの回転トルク値の上昇を抑制して、オーバーキャップの回転に伴って、ベースキャップが供回りすることを防止することのできるオーバーキャップ付き容器を提供することにある。
【課題を解決するための手段】
【0009】
本発明のオーバーキャップ付き容器は、内容物を収容する容器本体と、該容器本体の口頚部に取付けられるベースキャップに保持され、押圧ヘッドを押し込むことにより前記容器本体内に収容された内容物を吐出させるディスペンサーと、該ディスペンサーを前記ベースキャップとともに覆い隠すオーバーキャップと、を備えたオーバーキャップ付き容器であって、
前記オーバーキャップは、内周壁の周りを周回する環状凹部を有し、
前記ベースキャップは、前記オーバーキャップの環状凹部の全周にわたって着脱自在にアンダーカット嵌合可能な環状凸部を有し、
前記ベースキャップの環状凸部に、その環状凸部よりも嵌合幅が広く、かつ、前記オーバーキャップの環状凹部の周方向の少なくとも3点において嵌合可能な係止用突起が設けられていることを特徴とする。
【0010】
また、本発明のオーバーキャップ付き容器は、内容物を収容する容器本体と、該容器本体の口頚部に取付けられるベースキャップに保持され、押圧ヘッドを押し込むことにより前記容器本体内に収容された内容物を吐出させるディスペンサーと、該ディスペンサーを前記ベースキャップとともに覆い隠すオーバーキャップと、を備えたオーバーキャップ付き容器であって、
前記オーバーキャップは、内周壁の周りを周回する環状凸部を有し、
前記ベースキャップは、前記オーバーキャップの環状凸部の全周にわたって着脱自在にアンダーカット嵌合可能な環状凹部を有し、
前記オーバーキャップの環状凸部に、その環状凸部よりも嵌合幅が広く、かつ、前記ベースキャップの環状凹部の周方向の少なくとも3点において嵌合可能な係止用突起が設けられていることを特徴とする。
(【0011】以降は省略されています)
この特許をJ-PlatPat(特許庁公式サイト)で参照する
関連特許
株式会社吉野工業所
吐出器
11日前
株式会社吉野工業所
箱型容器
1か月前
株式会社吉野工業所
二重容器
3日前
株式会社吉野工業所
塗布容器
2日前
株式会社吉野工業所
塗布容器
3日前
株式会社吉野工業所
吐出容器
2日前
株式会社吉野工業所
塗布容器
2日前
株式会社吉野工業所
繰出容器
1か月前
株式会社吉野工業所
吐出容器
1か月前
株式会社吉野工業所
吐出ポンプ
2日前
株式会社吉野工業所
化粧用容器
4日前
株式会社吉野工業所
繰り出し容器
1か月前
株式会社吉野工業所
削り出し容器
2日前
株式会社吉野工業所
スポイト容器
2日前
株式会社吉野工業所
把手付きボトル
3日前
株式会社吉野工業所
合成樹脂製容器
1か月前
株式会社吉野工業所
ポンプ式吐出器
3日前
株式会社吉野工業所
ポンプ式吐出器
2日前
株式会社吉野工業所
ポンプ式吐出器
3日前
株式会社吉野工業所
コンパクト容器
2日前
株式会社吉野工業所
合成樹脂製壜体
2日前
株式会社吉野工業所
キャップ付き容器
4日前
株式会社吉野工業所
中蓋付きキャップ
9日前
株式会社吉野工業所
ポンプ式吐出容器
2日前
株式会社吉野工業所
キャップ付き吐出栓
2日前
株式会社吉野工業所
トリガー式液体噴出器
4日前
株式会社吉野工業所
トリガー式液体噴出器
2日前
株式会社吉野工業所
トリガー式液体噴出器
3日前
株式会社吉野工業所
移行栓キャップ付き容器
2日前
株式会社吉野工業所
泡吐出具及び泡吐出容器
2日前
株式会社吉野工業所
フォーマーディスペンサー
3日前
株式会社吉野工業所
オーバーキャップ付き容器
2日前
株式会社吉野工業所
液体容器、及び液体容器の製造方法
1か月前
株式会社吉野工業所
ポンプ式吐出具及びポンプ式吐出容器
2日前
株式会社吉野工業所
トリガー式噴出器およびトリガー式噴出容器
1か月前
株式会社吉野工業所
ノズル部材、ポンプ式吐出器、及び吐出器付き容器
2日前
続きを見る
他の特許を見る