TOP
|
特許
|
意匠
|
商標
特許ウォッチ
Twitter
他の特許を見る
公開番号
2025169078
公報種別
公開特許公報(A)
公開日
2025-11-12
出願番号
2024074069
出願日
2024-04-30
発明の名称
吐出容器
出願人
株式会社吉野工業所
代理人
個人
,
個人
,
個人
主分類
B65D
47/08 20060101AFI20251105BHJP(運搬;包装;貯蔵;薄板状または線条材料の取扱い)
要約
【課題】内容液を種々の態様で吐出させることが可能な吐出容器を提供することである。
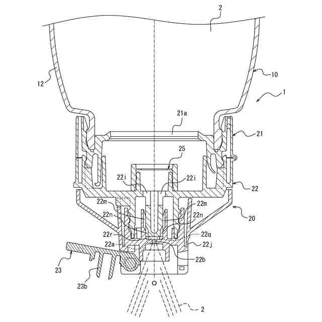
【解決手段】内容液2を収容する容器本体10と、容器本体10の口部11に装着された吐出具20とを有する吐出容器1であって、吐出具20が、吐出口21aを備え、口部11に装着されたキャップ本体21と、軸体22hと軸体22hの外側に嵌合する内筒部22kの頂壁22sの内側面との間に設けられて吐出口21aに連通するスピン溝22aと、頂壁22sに設けられてスピン溝22aに連通する吐出孔22bとを備え、キャップ本体21に対して開閉自在の中蓋22と、中蓋22に対して開閉自在に設けられて吐出孔22bを開閉する上蓋23と、を有することを特徴とする吐出容器1。
【選択図】図1
特許請求の範囲
【請求項1】
内容液を収容する容器本体と、前記容器本体の口部に装着された吐出具とを有する吐出容器であって、
前記吐出具が、
吐出口を備え、前記口部に装着されたキャップ本体と、
軸体と前記軸体の外側に嵌合する内筒部の頂壁の内側面との間に設けられて前記吐出口に連通するスピン溝と、前記頂壁に設けられて前記スピン溝に連通する吐出孔とを備え、前記キャップ本体に対して開閉自在の中蓋と、
前記中蓋に対して開閉自在に設けられて前記吐出孔を開閉する上蓋と、を有することを特徴とする吐出容器。
続きを表示(約 260 文字)
【請求項2】
前記中蓋が第1ヒンジにより前記キャップ本体に開閉自在に連結され、前記上蓋が第2ヒンジにより前記中蓋に開閉自在に連結されている、請求項1に記載の吐出容器。
【請求項3】
前記吐出口と前記スピン溝との間に設けられたスリット弁をさらに有する、請求項1または2に記載の吐出容器。
【請求項4】
前記キャップ本体に、破断可能な弱化部を介して前記吐出口の内周縁に一体に連なる栓体と、前記栓体に一体に連なるプルリングとが設けられている、請求項1または2に記載の吐出容器。
発明の詳細な説明
【技術分野】
【0001】
本発明は、内容液を収容する容器本体と、容器本体の口部に装着された吐出具とを有する吐出容器に関する。
続きを表示(約 1,100 文字)
【背景技術】
【0002】
従来、例えば酢などの液状の食品調味料等を内容液として収容する容器として、内容液を収容する容器本体と、吐出口を備えて容器本体の口部に装着された吐出具と、吐出具に着脱自在に装着されて吐出口を開閉する蓋体とを有し、蓋体を開いて容器を傾けることで容器本体に収容されている内容液を吐出口から外部に吐出することができるように構成されたものが知られている(例えば特許文献1参照)。
【先行技術文献】
【特許文献】
【0003】
特開2024-050266号公報
【発明の概要】
【発明が解決しようとする課題】
【0004】
しかし、従来の吐出容器は、吐出口が単なる開口として構成されているため、内容液を小量ずつ吐出させたり、内容液を所望の範囲に満遍なく吐出させたりするなど、種々の態様で内容液を吐出させることが困難であり、この点で改善の余地があった。
【0005】
本発明は、このような課題に鑑みてなされたものであり、その目的は、内容液を種々の態様で吐出させることが可能な吐出容器を提供することにある。
【課題を解決するための手段】
【0006】
本発明の吐出容器は、内容液を収容する容器本体と、前記容器本体の口部に装着された吐出具とを有する吐出容器であって、前記吐出具が、吐出口を備え、前記口部に装着されたキャップ本体と、軸体と前記軸体の外側に嵌合する内筒部の頂壁の内側面との間に設けられて前記吐出口に連通するスピン溝と、前記頂壁に設けられて前記スピン溝に連通する吐出孔とを備え、前記キャップ本体に対して開閉自在の中蓋と、前記中蓋に対して開閉自在に設けられて前記吐出孔を開閉する上蓋と、を有することを特徴とする。
【0007】
本発明の吐出容器は、上記構成において、前記中蓋が第1ヒンジにより前記キャップ本体に開閉自在に連結され、前記上蓋が第2ヒンジにより前記中蓋に開閉自在に連結されているのが好ましい。
【0008】
本発明の吐出容器は、上記構成において、前記吐出口と前記スピン溝との間に設けられたスリット弁をさらに有するのが好ましい。
【0009】
本発明の吐出容器は、上記構成において、前記キャップ本体に、破断可能な弱化部を介して前記吐出口の内周縁に一体に連なる栓体と、前記栓体に一体に連なるプルリングとが設けられているのが好ましい。
【発明の効果】
【0010】
本発明によれば、内容液を種々の態様で吐出させることが可能な吐出容器を提供することができる。
【図面の簡単な説明】
(【0011】以降は省略されています)
この特許をJ-PlatPat(特許庁公式サイト)で参照する
関連特許
株式会社吉野工業所
蓋体
1か月前
株式会社吉野工業所
吐出器
1か月前
株式会社吉野工業所
吐出器
26日前
株式会社吉野工業所
歯ブラシ
1か月前
株式会社吉野工業所
吐出容器
1か月前
株式会社吉野工業所
吐出容器
26日前
株式会社吉野工業所
吐出容器
26日前
株式会社吉野工業所
二重容器
2か月前
株式会社吉野工業所
繰出容器
26日前
株式会社吉野工業所
塗布容器
1か月前
株式会社吉野工業所
塗布容器
1か月前
株式会社吉野工業所
ノズル部材
26日前
株式会社吉野工業所
吐出ポンプ
1か月前
株式会社吉野工業所
計量注出容器
1か月前
株式会社吉野工業所
スポイト容器
1か月前
株式会社吉野工業所
吐出キャップ
27日前
株式会社吉野工業所
計量注出容器
1か月前
株式会社吉野工業所
パウダー容器
26日前
株式会社吉野工業所
削り出し容器
1か月前
株式会社吉野工業所
スパウト容器
1か月前
株式会社吉野工業所
計量注出容器
26日前
株式会社吉野工業所
ねじキャップ
26日前
株式会社吉野工業所
スポイト容器
1か月前
株式会社吉野工業所
コンパクト容器
1か月前
株式会社吉野工業所
ポンプ式吐出器
1か月前
株式会社吉野工業所
ポンプ式吐出器
1か月前
株式会社吉野工業所
ポンプ式吐出器
2か月前
株式会社吉野工業所
把手付きボトル
2か月前
株式会社吉野工業所
合成樹脂製容器
26日前
株式会社吉野工業所
フォーマポンプ
1か月前
株式会社吉野工業所
ブラシ型塗布具
26日前
株式会社吉野工業所
ポンプ式吐出器
2か月前
株式会社吉野工業所
把手付きボトル
26日前
株式会社吉野工業所
合成樹脂製壜体
1か月前
株式会社吉野工業所
ねじキャップ容器
26日前
株式会社吉野工業所
ポンプ式吐出容器
1か月前
続きを見る
他の特許を見る