TOP
|
特許
|
意匠
|
商標
特許ウォッチ
Twitter
他の特許を見る
10個以上の画像は省略されています。
公開番号
2025132968
公報種別
公開特許公報(A)
公開日
2025-09-10
出願番号
2024050143
出願日
2024-03-26
発明の名称
吐出容器
出願人
株式会社吉野工業所
代理人
個人
,
個人
,
個人
,
個人
主分類
B65D
39/00 20060101AFI20250903BHJP(運搬;包装;貯蔵;薄板状または線条材料の取扱い)
要約
【課題】レフィル容器を容易に付け替える。
【解決手段】レフィル容器11、中枠部材12、ヘッド部材13、第1弁体14、第2弁体15、および外枠部材16を備え、ヘッド部材を操作することにより連絡空間Yの内圧が増減し、連絡空間の内圧が上昇したときに、第1弁体が接続路34と連絡空間との連通を遮断し、第2弁体が吐出孔26と連絡空間とを連通し、連絡空間の内容物が吐出孔から吐出され、連絡空間の内圧が下降したときに、第2弁体が吐出孔と連絡空間との連通を遮断し、第1弁体が接続路と連絡空間とを連通し、接続路の内容物が連絡空間に供給され、かつ容器本体41内の内容物が接続路に供給され、中枠部材をヒンジ部18回りに回転させることで、中枠部材が外枠部材に対して着脱され、中枠部材には、口部材42が着脱可能に係止され、連結筒部の第2軸線O2に沿う軸方向にスライド移動可能に支持されたスライダ45が設けられている。
【選択図】図1
特許請求の範囲
【請求項1】
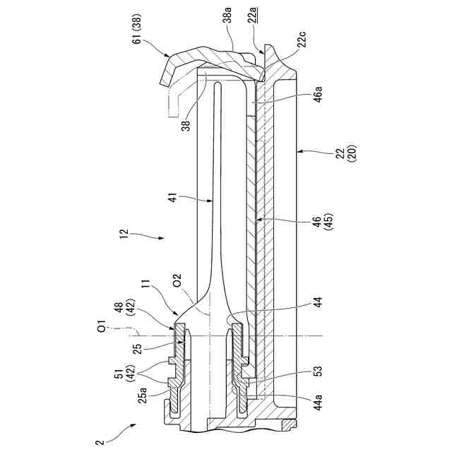
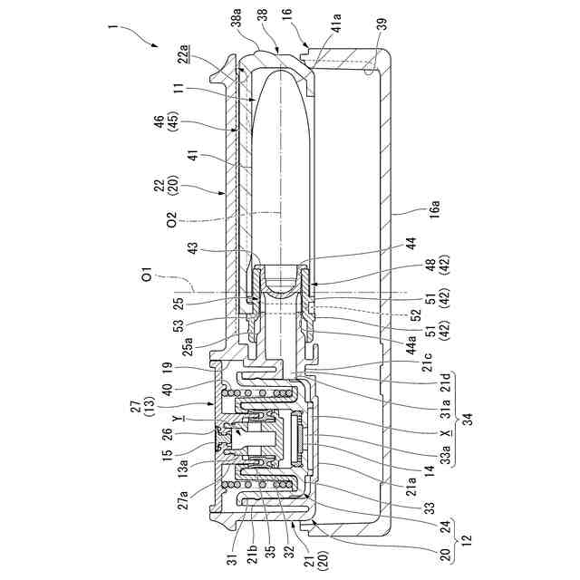
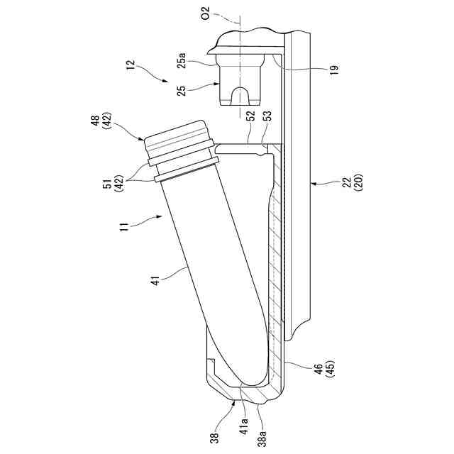
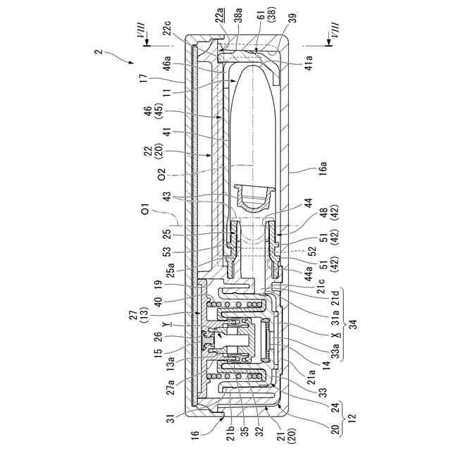
内容物が収容される可撓性を有する容器本体、および前記容器本体内に連通する連通孔が形成された口部材を有するレフィル容器と、
前記口部材が着脱可能に連結された連結筒部、および前記連結筒部内を通して前記容器本体内に連通する接続路を有する中枠部材と、
前記中枠部材に取付けられ、前記中枠部材との間に前記接続路に連通する連絡空間を画成するとともに、前記連絡空間に連通して前記内容物を吐出させる吐出孔が形成されたヘッド部材と、
前記接続路と前記連絡空間との連通、およびその遮断を切替える第1弁体と、
前記吐出孔と前記連絡空間との連通、およびその遮断を切替える第2弁体と、
前記中枠部材が、ヒンジ部を介して連結されるとともに着脱可能に収容された外枠部材と、を備え、
前記ヘッド部材を操作することにより前記連絡空間の内圧が増減し、
前記連絡空間の内圧が上昇したときに、前記第1弁体が前記接続路と前記連絡空間との連通を遮断し、前記第2弁体が前記吐出孔と前記連絡空間とを連通し、前記連絡空間の内容物が前記吐出孔から吐出され、
前記連絡空間の内圧が下降したときに、前記第2弁体が前記吐出孔と前記連絡空間との連通を遮断し、前記第1弁体が前記接続路と前記連絡空間とを連通し、前記接続路の内容物が前記連絡空間に供給され、かつ前記容器本体内の内容物が前記接続路に供給され、
前記中枠部材を前記ヒンジ部回りに回転させることで、前記中枠部材が前記外枠部材に対して着脱され、
前記中枠部材には、前記口部材が着脱可能に係止され、前記連結筒部の中心軸線に沿う軸方向にスライド移動可能に支持されたスライダが設けられている、吐出容器。
続きを表示(約 940 文字)
【請求項2】
前記スライダは、前記容器本体において、前記軸方向に沿う前記口部材側と反対側の底部を覆う被押込み壁部を有し、
前記外枠部材の内面には、前記中枠部材が前記外枠部材に収容されるときに、前記被押込み壁部を前記軸方向に沿う前記連結筒部側に押込む押込み突起が設けられている、請求項1に記載の吐出容器。
【請求項3】
前記軸方向から見て前記中心軸線は前記押込み突起上に位置し、
前記被押込み壁部には、前記軸方向に沿う前記口部材側と反対側に向けて突出する突起が形成され、
前記中枠部材が前記外枠部材に収容されるときに、前記突起が前記押込み突起を摺動する、請求項2に記載の吐出容器。
【請求項4】
前記中枠部材は、有頂筒状に形成された収容部を備え、
前記収容部に、前記レフィル容器および前記スライダが収容され、
前記スライダは、前記収容部の頂壁の下面と、前記レフィル容器と、の間に設けられた支持壁を備え、
前記被押込み壁部は、前記支持壁から下方に向けて延びるとともに、前記支持壁との接続部分回りに前記軸方向にたわみ変形可能に形成され、
前記収容部の頂壁の下面には、前記被押込み壁部の上端部に対して、前記軸方向に沿う前記連結筒部側に位置して当接、若しくは近接する被蹴り出し突起が設けられている、請求項2または3に記載の吐出容器。
【請求項5】
前記連結筒部は前記連通孔に着脱可能に嵌合され、
前記容器本体内には、前記連結筒部により前記軸方向に押込まれて前記連通孔から離脱された、前記連通孔に離脱可能に嵌合されていた封止栓が収容されている、請求項1または2に記載の吐出容器。
【請求項6】
前記ヘッド部材は、表裏面が上下方向を向く天壁を備え、
前記吐出孔は前記天壁に形成され、
前記連結筒部の中心軸線は、上下方向に交差する横方向に延び、
前記連絡空間は、前記天壁の下面側から下方に向けて延びるとともに、前記連結筒部および前記レフィル容器と上下方向に交差する横方向に並べられて設けられている、請求項1または2に記載の吐出容器。
発明の詳細な説明
【技術分野】
【0001】
本発明は、吐出容器に関する。
続きを表示(約 2,800 文字)
【背景技術】
【0002】
従来から、例えば下記特許文献1に示されるような、内容物が収容される可撓性を有する胴部(353)、および胴部(353)内に連通する連通孔が形成された口部(351)を有するレフィル容器(350)と、口部(351)が着脱可能に連結された連結筒部(330)、および連結筒部(330)内を通して胴部(353)内に連通する接続路(312)を有する接続部材(21)と、接続部材(21)に取付けられ、接続部材(21)との間に接続路(312)に連通する連絡空間(370)を画成するとともに、連絡空間(370)に連通して内容物を吐出させる吐出孔(371)が形成されたヘッド部材(300)と、接続路(312)と連絡空間(370)との連通、およびその遮断を切替える第1弁体(60)と、吐出孔(371)と連絡空間(370)との連通、およびその遮断を切替える第2弁体(301)と、接続部材(21)が着脱可能に装着された外枠部材(11)と、を備え、ヘッド部材(300)を操作することにより連絡空間(370)の内圧が増減し、連絡空間(370)の内圧が上昇したときに、第1弁体(60)が接続路(312)と連絡空間(370)との連通を遮断し、第2弁体(301)が吐出孔(371)と連絡空間(370)とを連通し、連絡空間(370)の内容物が吐出孔(371)から吐出され、連絡空間(370)の内圧が下降したときに、第1弁体(60)が接続路(312)と連絡空間(370)とを連通し、接続路(312)の内容物が連絡空間(370)に供給され、かつ胴部(353)内の内容物が接続路(312)に供給される、吐出容器が知られている。
【先行技術文献】
【特許文献】
【0003】
特開2018-023765号公報(図10~図13)
【発明の概要】
【発明が解決しようとする課題】
【0004】
しかしながら、前記従来の吐出容器では、レフィル容器を容易に付け替えることに改善の余地があった。
【0005】
本発明は、レフィル容器を容易に付け替えることができる吐出容器を提供する。
【課題を解決するための手段】
【0006】
本発明の一態様に係る吐出容器は、内容物が収容される可撓性を有する容器本体、および前記容器本体内に連通する連通孔が形成された口部材を有するレフィル容器と、前記口部材が着脱可能に連結された連結筒部、および前記連結筒部内を通して前記容器本体内に連通する接続路を有する中枠部材と、前記中枠部材に取付けられ、前記中枠部材との間に前記接続路に連通する連絡空間を画成するとともに、前記連絡空間に連通して前記内容物を吐出させる吐出孔が形成されたヘッド部材と、前記接続路と前記連絡空間との連通、およびその遮断を切替える第1弁体と、前記吐出孔と前記連絡空間との連通、およびその遮断を切替える第2弁体と、前記中枠部材が、ヒンジ部を介して連結されるとともに着脱可能に収容された外枠部材と、を備え、前記ヘッド部材を操作することにより前記連絡空間の内圧が増減し、前記連絡空間の内圧が上昇したときに、前記第1弁体が前記接続路と前記連絡空間との連通を遮断し、前記第2弁体が前記吐出孔と前記連絡空間とを連通し、前記連絡空間の内容物が前記吐出孔から吐出され、前記連絡空間の内圧が下降したときに、前記第2弁体が前記吐出孔と前記連絡空間との連通を遮断し、前記第1弁体が前記接続路と前記連絡空間とを連通し、前記接続路の内容物が前記連絡空間に供給され、かつ前記容器本体内の内容物が前記接続路に供給され、前記中枠部材を前記ヒンジ部回りに回転させることで、前記中枠部材が前記外枠部材に対して着脱され、前記中枠部材には、前記口部材が着脱可能に係止され、前記連結筒部の中心軸線に沿う軸方向にスライド移動可能に支持されたスライダが設けられている。
【0007】
容器本体内の内容物を使い切ったレフィル容器を新たなレフィル容器に交換する際、まず、外枠部材に収容された中枠部材を、ヒンジ部回りに回転させて外枠部材から取り出し、レフィル容器およびスライダを露出させる。次に、露出させたスライダを操作して、軸方向に沿う連結筒部の反対側に向けてスライド移動させ、レフィル容器の口部材を連結筒部から離脱させる。そして、口部材を操作してスライダから外し、古いレフィル容器を中枠部材から分離する。
次に、新たなレフィル容器の口部材をスライダに係止した後に、スライダを軸方向に沿う連結筒部側に向けてスライド移動させ、口部材を連結筒部に連結する。そして、中枠部材をヒンジ部回りに回転させて外枠部材に収容する。
以上のように、中枠部材をヒンジ部回りに回転させることで、中枠部材が外枠部材に対して着脱され、中枠部材に、レフィル容器の口部材が着脱可能に係止されたスライダが設けられているので、スライダを露出させた状態で、スライダにレフィル容器の口部材を着脱し、かつスライダを軸方向にスライド移動させることによって、レフィル容器の口部材を連結筒部に着脱することが可能になり、レフィル容器を容易に付け替えることができ、容器本体内の内容物の漏出を抑えることもできる。
容器本体内の内容物がまだ残っている状態で、中枠部材をヒンジ部回りに回転させてレフィル容器を外枠部材から露出させて視認することによって、容器本体内の内容物の残量を容易に視認することができる。
【0008】
前記スライダは、前記容器本体において、前記軸方向に沿う前記口部材側と反対側の底部を覆う被押込み壁部を有し、前記外枠部材の内面には、前記中枠部材が前記外枠部材に収容されるときに、前記被押込み壁部を前記軸方向に沿う前記連結筒部側に押込む押込み突起が設けられてもよい。
【0009】
スライダが、容器本体の底部を覆う被押込み壁部を有し、外枠部材の内面に押込み突起が設けられているので、中枠部材を外枠部材に収容したときに、スライダの被押込み壁部が、押込み突起により軸方向に沿う連結筒部側に押込まれ、スライダに係止された口部材が、連結筒部に対して押込まれて連結されることとなり、レフィル容器を容易に付け替えることができる。
【0010】
前記軸方向から見て前記中心軸線は前記押込み突起上に位置し、前記被押込み壁部には、前記軸方向に沿う前記口部材側と反対側に向けて突出する突起が形成され、前記中枠部材が前記外枠部材に収容されるときに、前記突起が前記押込み突起を摺動してもよい。
(【0011】以降は省略されています)
この特許をJ-PlatPat(特許庁公式サイト)で参照する
関連特許
株式会社吉野工業所
蓋体
12日前
株式会社吉野工業所
吐出器
7日前
株式会社吉野工業所
吐出器
12日前
株式会社吉野工業所
歯ブラシ
12日前
株式会社吉野工業所
吐出容器
7日前
株式会社吉野工業所
吐出容器
7日前
株式会社吉野工業所
繰出容器
7日前
株式会社吉野工業所
ノズル部材
7日前
株式会社吉野工業所
計量注出容器
7日前
株式会社吉野工業所
吐出キャップ
8日前
株式会社吉野工業所
スパウト容器
12日前
株式会社吉野工業所
計量注出容器
12日前
株式会社吉野工業所
ねじキャップ
7日前
株式会社吉野工業所
スポイト容器
12日前
株式会社吉野工業所
計量注出容器
13日前
株式会社吉野工業所
パウダー容器
7日前
株式会社吉野工業所
ポンプ式吐出器
12日前
株式会社吉野工業所
フォーマポンプ
12日前
株式会社吉野工業所
合成樹脂製容器
7日前
株式会社吉野工業所
把手付きボトル
7日前
株式会社吉野工業所
ブラシ型塗布具
7日前
株式会社吉野工業所
ねじキャップ容器
7日前
株式会社吉野工業所
ポンプ式泡吐出容器
7日前
株式会社吉野工業所
ポンプ携帯ホルダー
7日前
株式会社吉野工業所
トリガー式液体噴出器
7日前
株式会社吉野工業所
トリガー式液体噴出器
7日前
株式会社吉野工業所
携帯補助具を備えた容器
12日前
株式会社吉野工業所
圧縮ばね部材及び吐出器
12日前
花王株式会社
吐出容器
1か月前
花王株式会社
吐出容器
1か月前
株式会社吉野工業所
樹脂製品製造方法及び樹脂製品
7日前
株式会社吉野工業所
リフィル容器、および蓋付き容器
12日前
株式会社吉野工業所
容器、容器の製造方法、及び積層シートのオーバーラップ部の検出方法
7日前
個人
収容箱
4か月前
個人
束ね具
8日前
個人
コンベア
6か月前
続きを見る
他の特許を見る