TOP
|
特許
|
意匠
|
商標
特許ウォッチ
Twitter
他の特許を見る
公開番号
2025152987
公報種別
公開特許公報(A)
公開日
2025-10-10
出願番号
2024055215
出願日
2024-03-29
発明の名称
合成樹脂製壜体
出願人
株式会社吉野工業所
代理人
個人
,
個人
主分類
B65D
1/02 20060101AFI20251002BHJP(運搬;包装;貯蔵;薄板状または線条材料の取扱い)
要約
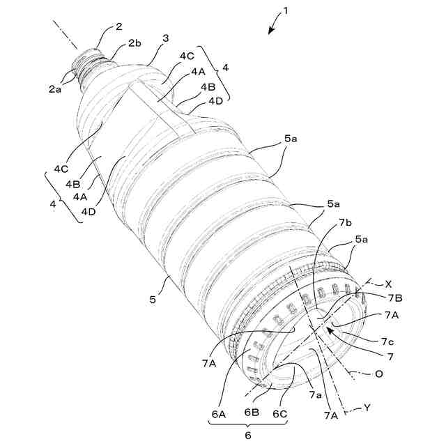
【課題】 注出作業時における負担軽減が可能で且つ薄型軽量化に適した合成樹脂製壜体を創出することを課題とする。
【解決手段】 底部6と、該底部6の上に連設された胴部5と、肩部3と、該肩部3の上部に起立設された口筒部2とを有して一体に形成された有底筒状の合成樹脂製壜体であって、前記胴部5と前記肩部3との間が平面視略三角形状から成る上部グリップ4を介して連設され、前記底部6に平面視略三角形状の下部グリップ7が陥没設された構成とする。
【選択図】 図1
特許請求の範囲
【請求項1】
底部(6)と、該底部(6)の上に連設された胴部(5)と、肩部(3)と、該肩部(3)の上部に起立設された口筒部(2)とを有して一体に形成された有底筒状の合成樹脂製壜体であって、
前記胴部(5)と前記肩部(3)との間が平面視略三角形状から成る上部グリップ(4)を介して連設され、
前記底部(6)に平面視略三角形状の下部グリップ(7)が陥没設されていることを特徴とする合成樹脂製壜体。
続きを表示(約 140 文字)
【請求項2】
下部グリップ(7)が、上部グリップ(4)に対して周方向に位相差を有して形成されている請求項1記載の合成樹脂製壜体。
【請求項3】
位相差のズレ角θが、0<θ≦+40°又は0<θ≦-40°の範囲に設定されている請求項2記載の合成樹脂製壜体。
発明の詳細な説明
【技術分野】
【0001】
本発明は、比較的内容量の大きな合成樹脂製壜体に関する。
続きを表示(約 1,400 文字)
【背景技術】
【0002】
例えば、内容量が2L(リットル)を越えるような比較的に大型の容器においては、注出作業時における負担軽減を図るため、胴部に補助用の凹部(サイドグリップ)又は把手部を備えた構成が知られている(例えば、特許文献1、2)。
【先行技術文献】
【特許文献】
【0003】
特表2017-514761号公報
特開2012-12076号公報
【発明の概要】
【発明が解決しようとする課題】
【0004】
特許文献1に記載の発明では、サイドグリップ8が胴体1の側壁に形成した凹部で構成されるところ、容器全体の軽量化を達成するために胴体1を薄肉に形成し過ぎると、成形時において充填圧により膨出したり、安定的に持ち上げることが困難となる懸念がある。このため、胴体1の剛性を確保する必要があることからその薄肉化には自ずと限界があり、結果として軽量化が難しいという問題があった。
【0005】
また特許文献2に記載の発明においては、把手8が別部材から成る射出成形品である点、及び把手8をインサートする部分に破損等による成形不良が懸念される点などから容器の薄肉化には限界がある。このため、特許文献1に記載の発明同様に軽量化が難しいという問題があった。
【0006】
本発明は、上記した従来技術における問題点を解消すべく、注出作業時における負担軽減が可能で且つ薄型軽量化に適した合成樹脂製壜体を創出することを課題とする。
【課題を解決するための手段】
【0007】
上記課題を解決するための手段のうち、本発明の主たる手段は、
底部と、該底部の上に連設された胴部と、肩部と、該肩部の上部に起立設された口筒部とを有して一体に形成された有底筒状の合成樹脂製壜体であって、
前記胴部と前記肩部との間が平面視略三角形状から成る上部グリップを介して連設され、
前記底部に平面視略三角形状の下部グリップが陥没設されていることを特徴とする、と云うものである。
本発明の主たる手段では、一方の手で上部グリップを把持し、他方の手を下部グリップに挿入して指先を掛けることにより、両手で容器を確実且つ安定的に把持することができる。
【0008】
また本発明の他の手段は、上記本発明の主たる手段に、下部グリップが、上部グリップに対して周方向に位相差を有して形成されている、との手段を加えたものである。
上記手段では、下部グリップと上部グリップとの間に位相差を設けることができるため、容器を把持した際に手首に掛かる負担を軽減できる。
【0009】
より具体的には、位相差のズレ角θが、0<θ≦+40°又は0<θ≦-40°の範囲に設定されている、と云うものである。
【発明の効果】
【0010】
本発明では、胴部側に平面視略三角形状から成る上部グリップを形成し、底部に平面視略三角形状から成る下部グリップを陥没設する構成とすることにより、胴部に、把持用の凹部を形成したり、別部材から成る把手を取り付けたりする必要がなくなるため、胴部を薄型化しても必要とする剛性を確保し、軽量化に適した合成樹脂製壜体とすることができる。
【図面の簡単な説明】
(【0011】以降は省略されています)
この特許をJ-PlatPat(特許庁公式サイト)で参照する
関連特許
株式会社吉野工業所
計量注出容器
今日
株式会社吉野工業所
ポンプ式吐出器
27日前
花王株式会社
吐出容器
20日前
花王株式会社
吐出容器
20日前
個人
収容箱
3か月前
個人
コンベア
5か月前
個人
容器
9か月前
個人
ゴミ収集器
7か月前
個人
段ボール箱
7か月前
個人
段ボール箱
7か月前
個人
土嚢運搬器具
8か月前
個人
バンド
2か月前
個人
楽ちんハンド
5か月前
個人
角筒状構造体
5か月前
個人
宅配システム
7か月前
個人
コード類収納具
8か月前
個人
閉塞装置
10か月前
個人
廃棄物収容容器
3か月前
個人
お薬の締結装置
6か月前
個人
包装容器
1か月前
株式会社和気
包装用箱
9か月前
個人
ゴミ処理機
9か月前
個人
蓋閉止構造
4か月前
株式会社コロナ
梱包材
5か月前
株式会社和気
包装用箱
9日前
株式会社バンダイ
物品
29日前
個人
貯蔵サイロ
7か月前
個人
積み重ね用補助具
3か月前
個人
把手付米袋
4か月前
個人
蓋閉止構造
4か月前
株式会社ナベル
検査装置
7日前
個人
介護用コップ
2か月前
株式会社新弘
容器
3か月前
個人
袋入り即席麺
7か月前
三甲株式会社
蓋体
9か月前
株式会社イシダ
搬送装置
6か月前
続きを見る
他の特許を見る