TOP
|
特許
|
意匠
|
商標
特許ウォッチ
Twitter
他の特許を見る
公開番号
2025166608
公報種別
公開特許公報(A)
公開日
2025-11-06
出願番号
2024070765
出願日
2024-04-24
発明の名称
計量注出容器
出願人
株式会社吉野工業所
代理人
個人
,
個人
,
個人
,
個人
主分類
B65D
47/20 20060101AFI20251029BHJP(運搬;包装;貯蔵;薄板状または線条材料の取扱い)
要約
【課題】軽い力で計量部材を操作でき、且つ、容器本体から取り外した際の計量部材からの液だれを抑制できる計量注出容器を提供する。
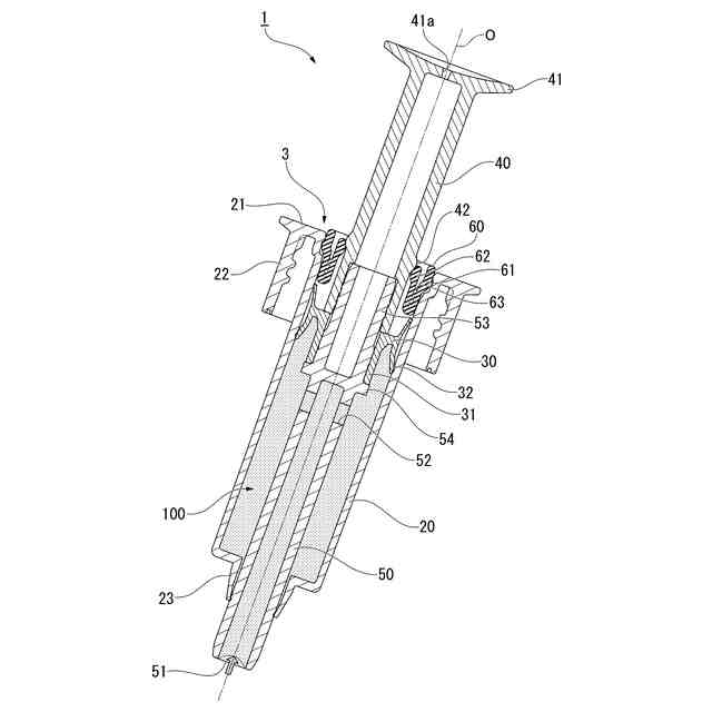
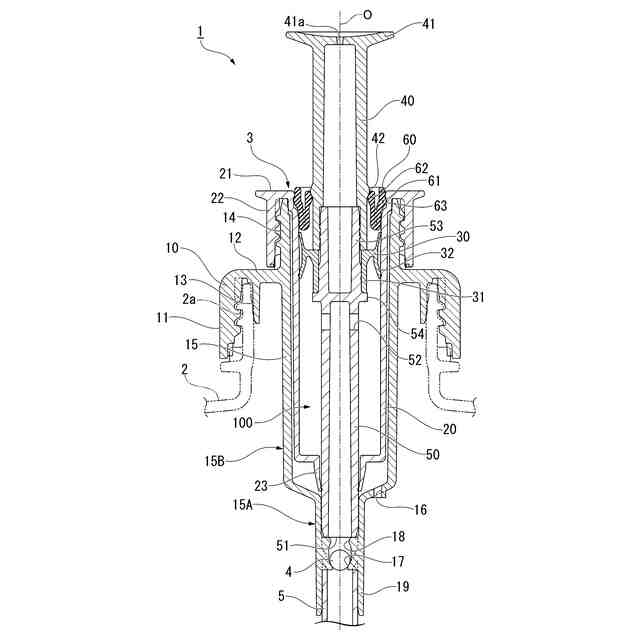
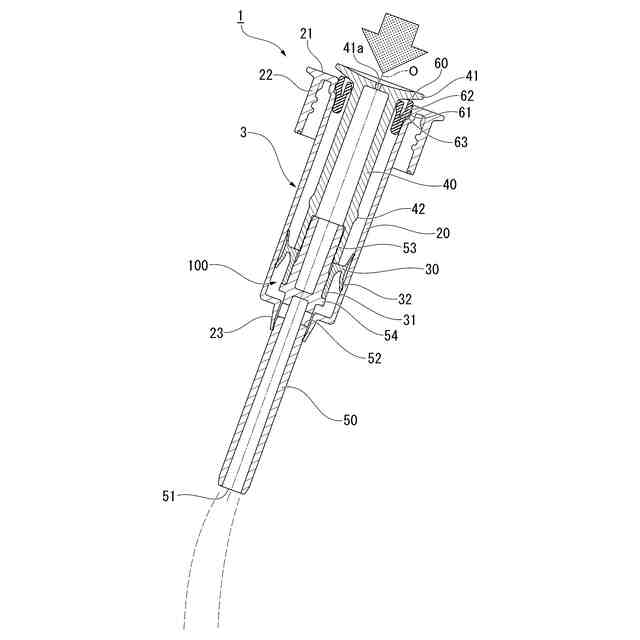
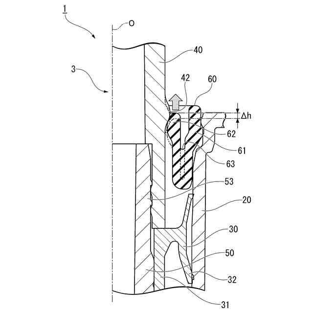
【解決手段】計量注出容器1は、内容物が収容される容器本体2と、容器本体2に着脱可能に装着され、容器本体2から吸い上げた内容物を計量し、注出する計量部材3と、を備え、計量部材3は、シリンダ20と、ピストン30と、操作部材40と、注出口51が形成された下端部が容器本体2に着脱可能に係合する注出筒50と、シリンダ20と操作部材40との間に設けられ、シリンダ20を上方に引き上げた際に、注出筒50と容器本体2との係合によってシリンダ20側に対し操作部材40側を下方に弾性変形させ、注出筒50と容器本体2との係合が解除されたときに、操作部材40側の上方への復元変形によって計量室100の容積を増加させる弾性部材60と、を備える。
【選択図】図2
特許請求の範囲
【請求項1】
内容物が収容される容器本体と、
前記容器本体に着脱可能に装着され、前記容器本体から吸い上げた内容物を計量し、注出する計量部材と、を備え、
前記計量部材は、
内部に内容物の計量室が形成されたシリンダと、
前記シリンダ内に摺動自在に嵌合するピストンと、
前記シリンダの上端開口から上方に突出し、前記ピストンと共に前記シリンダに対し上下方向に移動する操作部材と、
前記シリンダの下端開口から下方に突出する注出口と、前記注出口と前記計量室とを連通させる連通孔と、を有し、前記ピストン及び操作部材と共に前記シリンダに対し上下方向に移動し、且つ、前記注出口が形成された下端部が前記容器本体に着脱可能に係合する注出筒と、
前記シリンダと前記操作部材との間に設けられ、前記シリンダを上方に引き上げた際に、前記注出筒と前記容器本体との係合によって前記シリンダ側に対し前記操作部材側を下方に弾性変形させ、前記注出筒と前記容器本体との係合が解除されたときに、前記操作部材側の上方への復元変形によって前記計量室の容積を増加させる弾性部材と、を備える、
計量注出容器。
続きを表示(約 360 文字)
【請求項2】
前記操作部材の外周面は、径方向外側に突出する突出部を有し、
前記弾性部材は、
前記シリンダに固定された固定部と、
前記突出部に下方から当接する当接部と、
前記固定部と前記当接部との間に形成され、上方に向けて開口した溝部と、を備える、
請求項1に記載の計量注出容器。
【請求項3】
前記容器本体は、前記計量部材を着脱可能に装着する装着筒を備え、
前記装着筒は、
前記注出筒の下端部が係合する第1筒部と、
前記第1筒部の上端に連設され、前記シリンダの周壁を収容する第2筒部と、
前記装着筒を貫通し、前記装着筒の内側を前記容器本体の内側に連通させる連通流路と、を備える、
請求項1または2に記載の計量注出容器。
発明の詳細な説明
【技術分野】
【0001】
本発明は、計量注出容器に関する。
続きを表示(約 1,900 文字)
【背景技術】
【0002】
従来から、特許文献1に示されるように、蓋付き容器に対して、シリンジ型の吐出具が着脱可能に装着された吐出装置が知られている。この吐出具は、下端開口部に補助逆止弁を備えている。
【先行技術文献】
【特許文献】
【0003】
特開2013-249110号公報
【発明の概要】
【発明が解決しようとする課題】
【0004】
ところで、上記従来の吐出具では、下端開口部に補助逆止弁を備えるため、蓋付き容器から引き上げた際に、下端開口部からの液だれを抑制できる。しかしながら、補助逆止弁を設けると流路抵抗が高くなり、内容物を吐出する際には、強い力でシリンジを操作する必要があった。
【0005】
本発明は、このような事情に鑑みてなされたものであって、その目的は、軽い力で計量部材を操作でき、且つ、容器本体から取り外した際の計量部材からの液だれを抑制できる計量注出容器を提供することである。
【課題を解決するための手段】
【0006】
(1)本発明に係る計量注出容器は、内容物が収容される容器本体と、前記容器本体に着脱可能に装着され、前記容器本体から吸い上げた内容物を計量し、注出する計量部材と、を備え、前記計量部材は、内部に内容物の計量室が形成されたシリンダと、前記シリンダ内に摺動自在に嵌合するピストンと、前記シリンダの上端開口から上方に突出し、前記ピストンと共に前記シリンダに対し上下方向に移動する操作部材と、前記シリンダの下端開口から下方に突出する注出口と、前記注出口と前記計量室とを連通させる連通孔と、を有し、前記ピストン及び操作部材と共に前記シリンダに対し上下方向に移動し、且つ、前記注出口が形成された下端部が前記容器本体に着脱可能に係合する注出筒と、前記シリンダと前記操作部材との間に設けられ、前記シリンダを上方に引き上げた際に、前記注出筒と前記容器本体との係合によって前記シリンダ側に対し前記操作部材側を下方に弾性変形させ、前記注出筒と前記容器本体との係合が解除されたときに、前記操作部材側の上方への復元変形によって前記計量室の容積を増加させる弾性部材と、を備える。
【0007】
本発明に係る計量注出容器によれば、容器本体から計量部材を取り外すためにシリンダを引き上げると、注出筒の下端部が容器本体と係合しているため、この係合が解除されるまでの間、注出筒、ピストン及び操作部材に対して、シリンダが先行して上昇する。シリンダと操作部材との間には弾性部材が設けられており、シリンダが先行して上昇すると、弾性部材の操作部材側がシリンダ側に対し相対的に下方に弾性変形する。シリンダのさらなる引き上げによって注出筒の下端部と容器本体との係合が解除されると、弾性部材の操作部材側が復元変形し、注出筒、ピストン及び操作部材がシリンダに対して相対的に上昇する。これにより、シリンダ内部の計量室の容積が増加し、当該容積の増加分の内容物が、注出筒の注出口から上方に吸い上げられて、いわゆるサックバック効果が得られる。したがって、注出筒の注出口からの液だれを抑制できる。また、この構成によれば、注出筒の注出口に逆止弁を取り付けなくても済むため、逆止弁を取り付けた場合と比較して、軽い力で操作部材を操作できる。
【0008】
(2)前記操作部材の外周面は、径方向外側に突出する突出部を有し、前記弾性部材は、前記シリンダに固定された固定部と、前記突出部に下方から当接する当接部と、前記固定部と前記当接部との間に形成され、上方に向けて開口した溝部と、を備えてもよい。
【0009】
この場合には、操作部材に対してシリンダが先行して上昇すると、操作部材の突出部に下方から当接する弾性部材の当接部が、シリンダに固定された弾性部材の固定部に対して下方に弾性変形する。固定部と当接部との間には、上方に開口する溝部が設けられており、固定部と当接部との間における弾性部材の剛性を部分的に低下させることで、固定部に対して当接部を下方に弾性変形させ易くすることができる。
【0010】
(3)前記容器本体は、前記計量部材を着脱可能に装着する装着筒を備え、前記装着筒は、前記注出筒の下端部が係合する第1筒部と、前記第1筒部の上端に連設され、前記シリンダの周壁を収容する第2筒部と、前記装着筒を貫通し、前記装着筒の内側を前記容器本体の内側に連通させる連通流路と、を備えてもよい。
(【0011】以降は省略されています)
この特許をJ-PlatPat(特許庁公式サイト)で参照する
関連特許
株式会社吉野工業所
蓋体
1か月前
株式会社吉野工業所
吐出器
1か月前
株式会社吉野工業所
吐出器
26日前
株式会社吉野工業所
吐出容器
26日前
株式会社吉野工業所
吐出容器
26日前
株式会社吉野工業所
繰出容器
26日前
株式会社吉野工業所
歯ブラシ
1か月前
株式会社吉野工業所
ノズル部材
26日前
株式会社吉野工業所
計量注出容器
1か月前
株式会社吉野工業所
吐出キャップ
27日前
株式会社吉野工業所
パウダー容器
26日前
株式会社吉野工業所
計量注出容器
1か月前
株式会社吉野工業所
計量注出容器
26日前
株式会社吉野工業所
ねじキャップ
26日前
株式会社吉野工業所
スパウト容器
1か月前
株式会社吉野工業所
スポイト容器
1か月前
株式会社吉野工業所
ブラシ型塗布具
26日前
株式会社吉野工業所
把手付きボトル
26日前
株式会社吉野工業所
合成樹脂製容器
26日前
株式会社吉野工業所
ポンプ式吐出器
1か月前
株式会社吉野工業所
フォーマポンプ
1か月前
株式会社吉野工業所
ねじキャップ容器
26日前
株式会社吉野工業所
ポンプ式泡吐出容器
26日前
株式会社吉野工業所
ポンプ携帯ホルダー
26日前
株式会社吉野工業所
トリガー式液体噴出器
26日前
株式会社吉野工業所
トリガー式液体噴出器
26日前
株式会社吉野工業所
携帯補助具を備えた容器
1か月前
株式会社吉野工業所
圧縮ばね部材及び吐出器
1か月前
株式会社吉野工業所
樹脂製品製造方法及び樹脂製品
26日前
株式会社吉野工業所
リフィル容器、および蓋付き容器
1か月前
ホーユー株式会社
エアゾール容器用吐出具
18日前
株式会社吉野工業所
容器、容器の製造方法、及び積層シートのオーバーラップ部の検出方法
26日前
個人
束ね具
27日前
個人
収容箱
4か月前
個人
コンベア
6か月前
個人
段ボール箱
8か月前
続きを見る
他の特許を見る