TOP
|
特許
|
意匠
|
商標
特許ウォッチ
Twitter
他の特許を見る
公開番号
2025167628
公報種別
公開特許公報(A)
公開日
2025-11-07
出願番号
2024072448
出願日
2024-04-26
発明の名称
蓋体
出願人
株式会社吉野工業所
代理人
個人
,
個人
,
個人
,
個人
主分類
B65D
50/04 20060101AFI20251030BHJP(運搬;包装;貯蔵;薄板状または線条材料の取扱い)
要約
【課題】チャイルドプルーフ機能を具備すると共にスタック性能を向上させること。
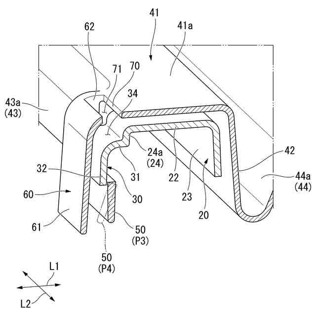
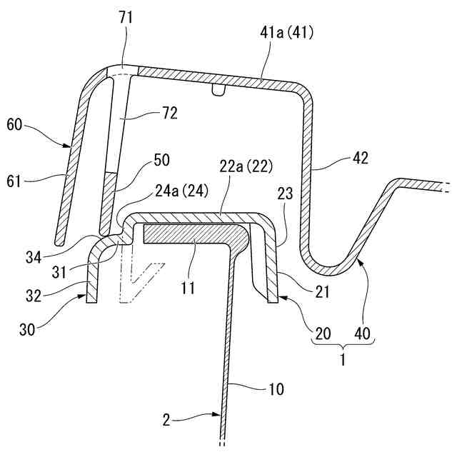
【解決手段】容器本体2に組み合わされる枠体20と、枠体の開口部21を開放可能に閉塞する蓋本体40とを備え、蓋本体の蓋周壁部24には、枠体の枠周壁部24よりも内側に配置され、且つ上端部が枠周壁部に対して内側から係止する操作片50が設けられ、蓋本体の蓋フランジ部41には、操作片を外側から覆うと共に操作片よりも下方に突出した保護壁部60が設けられ、操作片は引き込み操作によって枠周壁部に対して係止された係止位置P3から、係止が解除され且つ枠周壁部を下方から乗り越え可能な解除位置に変位可能とされ、蓋フランジ部と保護壁部との接続部分には、上方から見て操作片に重なる領域を上下に貫通する第1貫通孔70が形成され、蓋周壁部には、第1貫通孔を通じて上方に開口すると共に蓋周壁部を貫通する第2貫通孔71が形成されている蓋体1を提供する。
【選択図】図2
特許請求の範囲
【請求項1】
内容物を収容する有底筒状の容器本体の上端部に組み合わされる枠体と、
前記枠体にヒンジを介して連結され、前記枠体の開口部を開放可能に閉塞する蓋本体と、を備え、
前記枠体は、前記容器本体を径方向の外側から囲む枠周壁部を有し、
前記蓋本体は、前記枠体に上方から載置された蓋フランジ部、及び前記蓋フランジ部から下方に向けて延びると共に前記枠周壁部を前記径方向の外側から囲む蓋周壁部を有し、
前記蓋周壁部には、前記蓋周壁部よりも下方に向けて突出すると共に前記枠周壁部よりも前記径方向の内側に配置され、且つ上端部が前記枠周壁部の下端部に対して前記径方向の内側から係止する操作片が設けられ、
前記蓋フランジ部には、前記操作片を前記径方向の外側から覆うと共に前記操作片よりも下方に突出した保護壁部が設けられ、
前記操作片は、前記保護壁部側に向けた引き込み操作によって、前記枠周壁部に対して係止された係止位置から、係止が解除され、且つ前記枠周壁部を下方から乗り越え可能な解除位置に変位可能とされ、
前記蓋フランジ部と前記保護壁部との接続部分には、上方から見て前記操作片に重なる領域を上下に貫通する第1貫通孔が形成され、
前記蓋周壁部には、前記第1貫通孔を通じて上方に開口すると共に、前記蓋周壁部を前記径方向に貫通する第2貫通孔が形成されていることを特徴とする蓋体。
続きを表示(約 250 文字)
【請求項2】
請求項1に記載の蓋体において、
前記操作片及び前記保護壁部は、前記ヒンジに対して前記径方向の反対側に位置するように形成されている、蓋体。
【請求項3】
請求項1又は2に記載の蓋体において、
前記枠周壁部には、前記径方向の外側に向けて突出すると共に下方に向けて延びた規制壁部が設けられ、
前記操作片は、前記蓋周壁部に対して前記径方向に弾性変位可能に連結されていると共に、上端部が前記規制壁部の下端部に対して前記径方向の内側から係止している、蓋体。
発明の詳細な説明
【技術分野】
【0001】
本発明は、蓋体に関する。
続きを表示(約 2,700 文字)
【背景技術】
【0002】
例えば下記特許文献1に記載の箱型容器は、チャイルドプルーフ機能を有する蓋体を具備している。
この箱型容器は、内容物を収容する有底筒状の容器本体と、容器本体に組み合わされた枠体と、枠体にヒンジを介して連結され、枠体の開口部を開閉可能に覆う蓋本体と、を備えている。枠体は、枠内周壁部から内側に向かうにしたがって下方に向けて湾曲するように形成され、下端部に第1係止突出部が形成された板ばね部を有している。蓋本体は、蓋周壁部の下端部に形成され、第1係止突出部に対して下方から係止する第2係止突出部を有している。
【0003】
そして、蓋本体が枠体の開口部を閉塞している閉塞位置にある場合、第1係止突出部と第2係止突出部との係止によって、蓋本体の開放(開封)が規制されている。開放を行う場合には、板ばね部の付勢力に抗して蓋周壁部を押込み操作することで蓋本体の摘み部をスライド移動させ、続いて摘み部を上方に向けて引き上げるように捲り上げる。そして、蓋本体の引き上げ過程において、第1係止突出部と第2係止突出部との係止を解除することができる。これにより、蓋本体をヒンジ回りに回転させることができ、枠体の開口部を開放することが可能となる。
このように、蓋本体を開放するためには、複数の操作を一連の流れの中で行う必要があるので、幼児等のような箱型容器を開放することが許容されていない非対象者が容易に蓋本体の開放を行うことができない、チャイルドプルーフ機能を具備している。
【先行技術文献】
【特許文献】
【0004】
特開2019-131257号公報
【発明の概要】
【発明が解決しようとする課題】
【0005】
ところで、枠体及び蓋本体を具備する蓋体は、複数段に積み重ねたスタック状態で保管することが望まれる。これにより、複数の蓋体をコンパクトに保管できるうえ、出荷等において、輸送コスト(出荷コスト)の低減化に繋げることができる。
この点、上記従来の蓋体には、効率良く複数段に積み重ねるスタック性能に改善の余地がある。特に枠体に板ばねが形成されているため、蓋体を上下方向に多段に積み重ねたときに、上段に配置される蓋体の板ばねが下段に配置される蓋体に対して干渉してしまう。そのため、複数の蓋体を効率良く多段に積み重ねることが難しい。
【0006】
本発明は、このような事情に鑑みてなされたものであって、その目的は、チャイルドプルーフ機能を具備すると共に、スタック性能が向上した蓋体を提供することである。
【課題を解決するための手段】
【0007】
(1)本発明に係る蓋体は、内容物を収容する有底筒状の容器本体の上端部に組み合わされる枠体と、前記枠体にヒンジを介して連結され、前記枠体の開口部を開放可能に閉塞する蓋本体と、を備え、前記枠体は、前記容器本体を径方向の外側から囲む枠周壁部を有し、前記蓋本体は、前記枠体に上方から載置された蓋フランジ部、及び前記蓋フランジ部から下方に向けて延びると共に前記枠周壁部を前記径方向の外側から囲む蓋周壁部を有し、前記蓋周壁部には、前記蓋周壁部よりも下方に向けて突出すると共に前記枠周壁部よりも前記径方向の内側に配置され、且つ上端部が前記枠周壁部の下端部に対して前記径方向の内側から係止する操作片が設けられ、前記蓋フランジ部には、前記操作片を前記径方向の外側から覆うと共に前記操作片よりも下方に突出した保護壁部が設けられ、前記操作片は、前記保護壁部側に向けた引き込み操作によって、前記枠周壁部に対して係止された係止位置から、係止が解除され、且つ前記枠周壁部を下方から乗り越え可能な解除位置に変位可能とされ、前記蓋フランジ部と前記保護壁部との接続部分には、上方から見て前記操作片に重なる領域を上下に貫通する第1貫通孔が形成され、前記蓋周壁部には、前記第1貫通孔を通じて上方に開口すると共に、前記蓋周壁部を前記径方向に貫通する第2貫通孔が形成されていることを特徴とする。
【0008】
本発明に係る蓋体によれば、蓋本体が枠体の開口部を閉塞している状態では、操作片の上端部が枠周壁部の下端部に対して径方向の内側から係止している。これにより、単純に枠体に対して蓋本体をヒンジ回りに回転させようとしても、蓋本体の回転を規制することができる。
蓋本体を開操作する場合には、操作片に対して指先等を引っ掛け、保護壁部側に向かって引き込み操作を行いながら、蓋本体をヒンジ回りに回転させるように引き上げ操作する。この過程において、操作片は引き込み操作によって枠周壁部に対する係止が解除されて、係止位置から解除位置に変位する。従って、蓋本体の引き上げ操作に伴って、枠周壁部を下方から乗り越えるように操作片を移動させることができ、蓋本体の全体を開操作することができる。これにより、枠体の開口部を開放することができ、容器本体に収容された内容物を例えば取り出すことができる。
【0009】
このように蓋本体を開操作する場合には、操作片の引き込み操作と、蓋本体のヒンジ回りの引き上げ操作とを一連の流れの中で行う必要があるので、幼児等の非対象者が意図せずに蓋本体を開操作して、枠体の開口部を開放してしまう可能性を低減することができる。しかも操作片は、保護壁部によって径方向の外側から覆われているので、保護壁部の内側に隠れた状態となっている。これにより、非対象者による蓋本体の開操作の可能性をさらに低減することができる。従って、チャイルドプルーフ機能を具備することができる。
【0010】
さらに蓋体を保管等するにあたって、複数の蓋体を上下方向に多段に積み重ねた場合、上段に配置される蓋体の操作片は、蓋周壁部よりも下方に向けて突出しているので、下段に配置される蓋体に対して干渉することが考えられる。この点、蓋本体に第1貫通孔及び第2貫通孔が形成されているので、上段に配置される蓋体の操作片を、下段に配置される蓋体の第1貫通孔及び第2貫通孔内に収容した状態で、上下方向に蓋体を多段に積み重ねることができる。
従って、操作片による干渉を気にすることなく、複数の蓋体を上下方向に効率良く積み重ねることができ、スタック性能を向上することができる。特に多段に積み重なった蓋体をコンパクトに保管することができるので、例えば保管スペースの削減化、出荷時の輸送コストの低減化等を図ることができる。
(【0011】以降は省略されています)
この特許をJ-PlatPat(特許庁公式サイト)で参照する
関連特許
株式会社吉野工業所
蓋体
今日
株式会社吉野工業所
吐出器
今日
株式会社吉野工業所
歯ブラシ
今日
株式会社吉野工業所
スポイト容器
今日
株式会社吉野工業所
計量注出容器
今日
株式会社吉野工業所
スパウト容器
今日
株式会社吉野工業所
計量注出容器
1日前
株式会社吉野工業所
フォーマポンプ
今日
株式会社吉野工業所
ポンプ式吐出器
今日
株式会社吉野工業所
ポンプ式吐出器
28日前
株式会社吉野工業所
携帯補助具を備えた容器
今日
株式会社吉野工業所
圧縮ばね部材及び吐出器
今日
花王株式会社
吐出容器
21日前
花王株式会社
吐出容器
21日前
株式会社吉野工業所
リフィル容器、および蓋付き容器
今日
個人
収容箱
3か月前
個人
コンベア
5か月前
個人
段ボール箱
7か月前
個人
ゴミ収集器
7か月前
個人
容器
9か月前
個人
段ボール箱
7か月前
個人
バンド
2か月前
個人
楽ちんハンド
5か月前
個人
土嚢運搬器具
8か月前
個人
宅配システム
7か月前
個人
角筒状構造体
5か月前
個人
棒状体収容容器
今日
個人
廃棄物収容容器
3か月前
個人
お薬の締結装置
6か月前
個人
包装容器
1か月前
個人
コード類収納具
8か月前
個人
閉塞装置
10か月前
株式会社和気
包装用箱
10日前
株式会社和気
包装用箱
9か月前
個人
ゴミ処理機
9か月前
個人
積み重ね用補助具
3か月前
続きを見る
他の特許を見る