TOP
|
特許
|
意匠
|
商標
特許ウォッチ
Twitter
他の特許を見る
公開番号
2025167130
公報種別
公開特許公報(A)
公開日
2025-11-07
出願番号
2024071461
出願日
2024-04-25
発明の名称
リフィル容器、および蓋付き容器
出願人
株式会社吉野工業所
代理人
個人
,
個人
,
個人
,
個人
主分類
B65D
77/04 20060101AFI20251030BHJP(運搬;包装;貯蔵;薄板状または線条材料の取扱い)
要約
【課題】内容物の残量が少なくなっても、内容物を容易に取り出す。
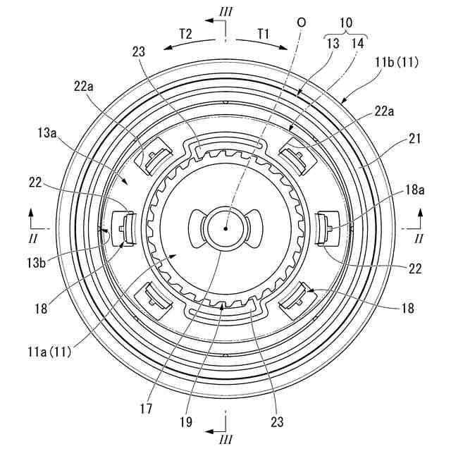
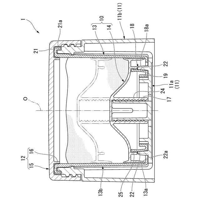
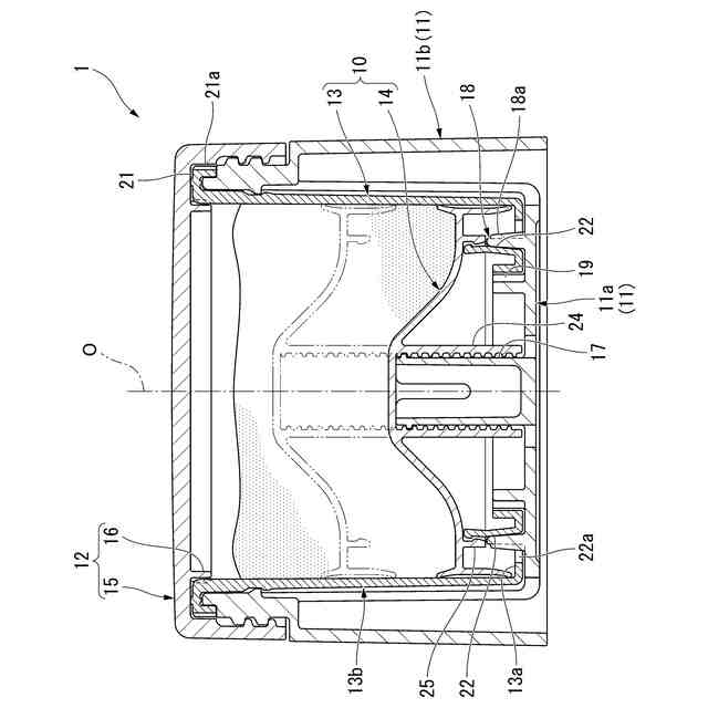
【解決手段】容器本体11の内側に周方向に回転自在に収容される中筒13と、中筒の内側に周方向の回転移動が規制された状態で容器軸O方向に摺動自在に嵌合された中皿14と、を備え、中皿には中皿ねじ筒24が形成されるとともに、中皿ねじ筒は容器本体の容器ねじ筒17に螺着され、中筒は、容器本体の内側に離脱可能に収容され、中筒には中筒係止壁22が形成されるとともに、中皿には、中筒係止壁に離脱可能に係止されて上方移動が規制された中皿係止壁25が形成され、中筒が容器本体の内側に収容されたときに、容器本体の解除突起18によって、中筒係止壁が、中皿係止壁から径方向に離れる向きに押圧されて変形することで、中筒係止壁による中皿係止壁の係止が解除される。
【選択図】図2
特許請求の範囲
【請求項1】
有底筒状の容器本体の内側に容器軸回りに沿う周方向に回転自在に収容される有底筒状の中筒と、
前記中筒の内側に周方向の回転移動が規制された状態で容器軸方向に摺動自在に嵌合された中皿と、を備え、
前記中皿には、下方に向けて延びる中皿ねじ筒が形成されるとともに、前記中皿ねじ筒は、前記容器本体の底壁から上方に向けて延びる容器ねじ筒に螺着され、
前記中筒は、前記容器本体の内側に離脱可能に収容され、
前記中筒の底壁には、上方に向けて延びる中筒係止壁が形成されるとともに、前記中皿には、下方に向けて延び、かつ前記中筒係止壁に離脱可能に係止されて上方移動が規制された中皿係止壁が形成され、
前記中筒が前記容器本体の内側に収容されたときに、前記容器本体の底壁から上方に向けて延びる解除突起によって、前記中筒係止壁が、前記中皿係止壁から径方向に離れる向きに押圧されて変形することで、前記中筒係止壁による前記中皿係止壁の係止が解除される、リフィル容器。
続きを表示(約 660 文字)
【請求項2】
前記中皿の外周面は、横断面視非真円形状を呈し、
前記中筒の内周面のうち、前記中皿の外周面が容器軸方向に摺動する部分は、横断面視非真円形状を呈し、
前記中皿の外周面は、前記中筒の内周面に対して全周にわたって当接している、請求項1に記載のリフィル容器。
【請求項3】
請求項1または2に記載のリフィル容器と、
前記容器本体と、
前記容器本体に着脱可能に螺着された蓋本体、および前記中筒の上端部の内側に嵌合された中栓を有する蓋体と、を備え、
前記中筒の上端部は、横断面視円形状を呈し、かつ前記容器本体の上端部の内側に回転自在に嵌合され、
前記中筒は、前記中栓との間の摩擦抵抗によって前記蓋体とともに前記容器本体に対して容器軸回りに回転する、蓋付き容器。
【請求項4】
前記中筒の上端部には、径方向の外側に向けて突出し、前記容器本体の上端開口縁に載置された操作フランジ部が形成されている、請求項3に記載の蓋付き容器。
【請求項5】
前記中皿ねじ筒は、前記容器ねじ筒に対して周方向のうちの一方側に回転したときに上昇し、
前記容器本体と前記中筒との間には、前記中筒が周方向の一方側に回転したときに、前記中筒を前記容器本体に対して空回りさせ、かつ前記中筒が周方向のうちの他方側に回転しようとしたときに、前記容器本体および前記中筒の相対回転を規制するラチェット部が設けられている、請求項3に記載の蓋付き容器。
発明の詳細な説明
【技術分野】
【0001】
本発明は、リフィル容器、および蓋付き容器に関する。
続きを表示(約 2,100 文字)
【背景技術】
【0002】
従来から、例えば下記特許文献1に示されるように、蓋体を取り外して収容された内容物を取り出す蓋付き容器が知られている。
【先行技術文献】
【特許文献】
【0003】
特開2012-121595号公報
【発明の概要】
【発明が解決しようとする課題】
【0004】
従来の蓋付き容器では、内容物の残量が少なくなると、指やスパチュラ等を容器本体内に深く差し込まなければ内容物を取り出すことができない。
【0005】
本発明は、内容物の残量が少なくなっても、内容物を容易に取り出すことができるリフィル容器、および蓋付き容器を提供することを目的の一つとする。
【課題を解決するための手段】
【0006】
本発明の一態様に係るリフィル容器は、有底筒状の容器本体の内側に容器軸回りに沿う周方向に回転自在に収容される有底筒状の中筒と、前記中筒の内側に周方向の回転移動が規制された状態で容器軸方向に摺動自在に嵌合された中皿と、を備え、前記中皿には、下方に向けて延びる中皿ねじ筒が形成されるとともに、前記中皿ねじ筒は、前記容器本体の底壁から上方に向けて延びる容器ねじ筒に螺着され、前記中筒は、前記容器本体の内側に離脱可能に収容され、前記中筒の底壁には、上方に向けて延びる中筒係止壁が形成されるとともに、前記中皿には、下方に向けて延び、かつ前記中筒係止壁に離脱可能に係止されて上方移動が規制された中皿係止壁が形成され、前記中筒が前記容器本体の内側に収容されたときに、前記容器本体の底壁から上方に向けて延びる解除突起によって、前記中筒係止壁が、前記中皿係止壁から径方向に離れる向きに押圧されて変形することで、前記中筒係止壁による前記中皿係止壁の係止が解除される。
【0007】
容器本体の内側に周方向に回転自在に収容される中筒と、中筒の内側に周方向の回転移動が規制された状態で容器軸方向に摺動自在に嵌合された中皿と、を備え、中皿には、下方に向けて延びる中皿ねじ筒が形成されるとともに、中皿ねじ筒は、容器本体の底壁から上方に向けて延びる容器ねじ筒に螺着されている。したがって、中筒を中皿とともに、容器本体に対して周方向に回転させると、中皿ねじ筒が容器ねじ筒に対して周方向に回転することで、中皿が中筒および容器本体に対して上昇する。これにより、中皿上の内容物を、残量に依らず、中筒および容器本体それぞれの上端開口の近くに位置させることが可能になり、内容物の残量が少なくなっても、内容物を容易に取り出すことができるとともに、中筒内の内容物の、空気との接触面積を抑えることができる。
内容物を使い切った後、新たなリフィル容器を容器本体内に収容する過程で、中皿ねじ筒を容器ねじ筒に装着するときに、容器ねじ筒から中皿ねじ筒を介して中皿に突き上げ力が加えられても、中皿係止壁が中筒係止壁に係止されていることから、中皿が中筒に対して上昇するのを規制することできる。これにより、新たなリフィル容器を容器本体内に収容するときに、中皿が中筒に対して意図せず上昇することで、例えば内容物が中筒内から溢れ出たりするのを防ぐことができる。
新たなリフィル容器が容器本体の内側に収容されたときには、容器本体の解除突起によって、中筒係止壁が、中皿係止壁から径方向に離れる向きに押圧されて変形することで、中筒係止壁による中皿係止壁の係止が解除される。したがって、新たなリフィル容器を容器本体内に収容したときには、中皿ねじ筒および容器ねじ筒の周方向の相対回転に伴い、中皿を中筒および容器本体に対して上昇させることが可能な状態にすることができる。
【0008】
前記中皿の外周面は、横断面視非真円形状を呈し、前記中筒の内周面のうち、前記中皿の外周面が容器軸方向に摺動する部分は、横断面視非真円形状を呈し、前記中皿の外周面は、前記中筒の内周面に対して全周にわたって当接してもよい。
【0009】
中皿の外周面が、横断面視非真円形状を呈し、中筒の内周面のうち、中皿の外周面が容器軸方向に摺動する部分も、横断面視非真円形状を呈し、中皿の外周面が、中筒の内周面に対して全周にわたって当接しているので、中皿が、中筒の内側に周方向の回転移動が規制された状態で容器軸方向に摺動自在に嵌合されている構成を、容易かつ確実に実現することができる。
【0010】
本発明の一態様に係る蓋付き容器は、本発明のリフィル容器と、前記容器本体と、前記容器本体に着脱可能に螺着された蓋本体、および前記中筒の上端部の内側に嵌合された中栓を有する蓋体と、を備え、前記中筒の上端部は、横断面視円形状を呈し、かつ前記容器本体の上端部の内側に回転自在に嵌合され、前記中筒は、前記中栓との間の摩擦抵抗によって前記蓋体とともに前記容器本体に対して容器軸回りに回転する。
(【0011】以降は省略されています)
この特許をJ-PlatPat(特許庁公式サイト)で参照する
関連特許
個人
束ね具
26日前
個人
収容箱
4か月前
個人
コンベア
6か月前
個人
ゴミ収集器
8か月前
個人
段ボール箱
8か月前
個人
段ボール箱
8か月前
個人
楽ちんハンド
6か月前
個人
バンド
3か月前
個人
テープ引出機
26日前
個人
宅配システム
8か月前
個人
角筒状構造体
6か月前
個人
土嚢運搬器具
9か月前
個人
コード類収納具
9か月前
個人
廃棄物収容容器
4か月前
個人
棒状体収容容器
1か月前
個人
お薬の締結装置
7か月前
個人
包装容器
2か月前
個人
蓋閉止構造
5か月前
個人
蓋閉止構造
5か月前
株式会社和気
包装用箱
1か月前
個人
把手付米袋
6か月前
個人
貯蔵サイロ
8か月前
個人
積み重ね用補助具
4か月前
株式会社コロナ
梱包材
6か月前
株式会社バンダイ
物品
2か月前
個人
輸送積荷用動吸振器
7か月前
株式会社KY7
封止装置
4か月前
三甲株式会社
容器
1か月前
株式会社新弘
容器
4か月前
三甲株式会社
容器
7か月前
個人
搬送システム
8か月前
個人
袋入り即席麺
8か月前
三甲株式会社
容器
3か月前
個人
介護用コップ
3か月前
株式会社イシダ
搬送装置
7か月前
株式会社ナベル
検査装置
1か月前
続きを見る
他の特許を見る