TOP
|
特許
|
意匠
|
商標
特許ウォッチ
Twitter
他の特許を見る
公開番号
2025167105
公報種別
公開特許公報(A)
公開日
2025-11-07
出願番号
2024071406
出願日
2024-04-25
発明の名称
ポンプ式吐出器
出願人
株式会社吉野工業所
代理人
個人
主分類
B65D
47/34 20060101AFI20251030BHJP(運搬;包装;貯蔵;薄板状または線条材料の取扱い)
要約
【課題】従来と同じようにして内容液を吐出することが可能であって、更にリサイクル性にも優れるポンプ式吐出器を提案する。
【解決手段】ポンプ式吐出器100において、ヘッド12、13及びキャップ10の何れか一方は延出部13aを有し、ヘッド12、13及びキャップ10の何れか他方は、ヘッド12、13をキャップ10に向けて前進させた際に延出部13aによって中心軸線Oから離れる向きに撓む弾性片10eを有し、弾性片10eは、根元部10e1と、根元部10e1からヘッド12、13及びキャップ10の何れか一方に向かって延在する本体部10e2と、本体部10e2に対して折り返されるように延在する折返し部10e3と、折返し部10e3からベース部10aに向かって延在する先端部10e4を有し、延出部13aは、先端部10e4に接触する。
【選択図】図1
特許請求の範囲
【請求項1】
内容液を収容する容器の口部に装着されるキャップと、該キャップにより該口部に保持されステムが進退移動することによって駆動するポンプと、内容液を外界に吐出させる吐出口を有するとともに該ステムに連結するヘッドと、を備え、該ヘッドを該キャップに向けて移動させることによって該容器内の内容液を該吐出口から吐出させるポンプ式吐出器において、
前記ヘッド及び前記キャップの何れか一方は、該ヘッド及び該キャップの何れか他方に向けて延出された延出部を有し、
前記ヘッド及び前記キャップの何れか他方は、ベース部と、該ベース部につながっていて該ヘッドを該キャップに向けて前進させた際に前記延出部によって前記ステムの中心軸線から離れる向きに撓む弾性片を有し、
前記弾性片は、前記ベース部につながる根元部と、該根元部から前記ヘッド及び前記キャップの何れか一方に向かって延在する本体部と、該本体部における該根元部に対して逆側の端部から該本体部に対して折り返されるように延在する折返し部と、該折返し部から前記ベース部に向かって延在する先端部を有し、
前記延出部は、前記先端部に接触するポンプ式吐出器。
続きを表示(約 240 文字)
【請求項2】
前記先端部は、前記延出部に向かって突出して該延出部に接触する屈曲部を有する請求項1に記載のポンプ式吐出器。
【請求項3】
前記本体部の内周面は、前記ヘッドが後退限と前進限との間を移動する際、前記根元部の内周面よりも前記中心軸線に近づくところに位置する請求項1に記載のポンプ式吐出器。
【請求項4】
前記弾性片は、前記ベース部に対して、前記中心軸線を周回する向きに等間隔で複数設けられる請求項1に記載のポンプ式吐出器。
発明の詳細な説明
【技術分野】
【0001】
本発明は、ポンプ式吐出器に関する。
続きを表示(約 2,300 文字)
【背景技術】
【0002】
ポンプ式吐出器として、容器の口部に装着されるキャップと、キャップにより口部に保持されステムが進退移動することによって駆動するポンプと、ステムに連結するヘッドとを備え、ヘッドをキャップに向けて移動させることによって容器内の内容液をヘッドの吐出口から吐出させるものが既知である(例えば特許文献1参照)。
【0003】
このようなポンプ式吐出器の内部には、特許文献1に示されているように、キャップに向けて移動させたヘッドを初期位置に復帰させるためにコイルスプリングが設けられている。
【先行技術文献】
【特許文献】
【0004】
特開2011-31950号公報
【発明の概要】
【発明が解決しようとする課題】
【0005】
ところでこのようなポンプ式吐出器は、大部分の部材は合成樹脂製であるものの、コイルスプリングは金属製である。このため使用後に廃棄するにあたって、このままの状態では樹脂品としてリサイクルすることができない。また一般にこの種のポンプ式吐出器は、通常の使用時において部材が外れてしまうことを避けるべく、例えば嵌合等によって部材同士は強固に固定されている。従って、ポンプ式吐出器を分解してコイルスプリングと他の部材とに分別するにも手間を要することとなる。
【0006】
本発明はこのような問題点を解決することを課題とするものであって、従来と同じようにして内容液を吐出することが可能であって、更にリサイクル性にも優れるポンプ式吐出器を提案することを目的とする。
【課題を解決するための手段】
【0007】
本発明のポンプ式吐出器は、内容液を収容する容器の口部に装着されるキャップと、該キャップにより該口部に保持されステムが進退移動することによって駆動するポンプと、内容液を外界に吐出させる吐出口を有するとともに該ステムに連結するヘッドと、を備え、該ヘッドを該キャップに向けて移動させることによって該容器内の内容液を該吐出口から吐出させるポンプ式吐出器において、前記ヘッド及び前記キャップの何れか一方は、該ヘッド及び該キャップの何れか他方に向けて延出された延出部を有し、前記ヘッド及び前記キャップの何れか他方は、ベース部と、該ベース部につながっていて該ヘッドを該キャップに向けて前進させた際に前記延出部によって前記ステムの中心軸線から離れる向きに撓む弾性片を有し、前記弾性片は、前記ベース部につながる根元部と、該根元部から前記ヘッド及び前記キャップの何れか一方に向かって延在する本体部と、該本体部における該根元部に対して逆側の端部から該本体部に対して折り返されるように延在する折返し部と、該折返し部から前記ベース部に向かって延在する先端部を有し、前記延出部は、前記先端部に接触する。
【発明の効果】
【0008】
本発明のポンプ式吐出器によれば、ヘッドをキャップに向けて前進させた際、延出部によって弾性片が撓むため、撓んだ弾性片が復元する際にヘッドを初期位置に向けて復帰させることができる。また金属製のコイルスプリングに換えて上記のような弾性片を用いているため、使用後は、従来のポンプ式吐出器で行っていた金属部品を分別する作業は必要がなく、またそのまま樹脂品として再利用することができるためリサイクル性にも優れる。
【0009】
そして弾性片は、上記の根元部、本体部、折返し部、先端部を有し、延出部はこの先端部に接触するように構成しているため、ヘッドをキャップに向けて前進させた際、弾性片の本体部と先端部の両方を撓ませることができる。すなわち、ヘッドを初期位置に向けて復帰させる際の弾性力は本体部と先端部の両方で負担できるため、先端部を設けずに本体部のみで必要な弾性力を得る弾性片に比して本体部を大きく撓ませる必要がなくなり、弾性片のへたりを抑えることができる。また先端部を設けずに本体部のみで構成した弾性片は、ヘッドをキャップに向けて前進させた際、ヘッドが本体部に接触する接触ポイントは弾性片の根元部に近づいていって根元部から接触ポイントまでの長さが短くなるため、本体部を撓ませる際に要する力は、ヘッドを前進させ始めるときは緩やかに増加していくものの、ヘッドを前進限近くまで移動させたときには急に増加することになる。すなわち、ヘッドを前進させ始めるときに指等がヘッドから受ける抵抗力はそれ程大きく変わらないものの、前進限に近づくにつれて抵抗力が急に増加し、特に、本体部のみで大きな弾性力を発現させていることから、ヘッドが前進限に近づくとヘッドの操作において重く感じることがある。一方、本発明では、ヘッドに設けた延出部は弾性片の先端部に接触していて、またヘッドを初期位置に向けて復帰させる際の弾性力は本体部と先端部の両方で負担させて本体部で発現させる弾性力が減るため、ヘッドを押圧する際の感触が軽くなって操作性を向上させることができる。
【図面の簡単な説明】
【0010】
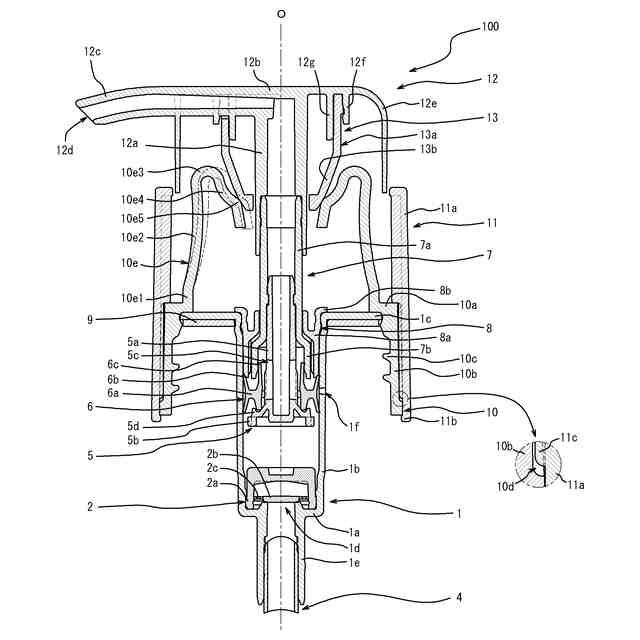
本発明に係るポンプ式吐出器の一実施形態におけるヘッドが上昇限(後退限)に位置する状態を示した側面視での断面図である。
図1に示した弾性片周辺の斜視図である。
図1に示したポンプ式吐出器に関し、ヘッドが下降限(前進限)に位置する状態での側面視での断面図である。
【発明を実施するための形態】
(【0011】以降は省略されています)
この特許をJ-PlatPat(特許庁公式サイト)で参照する
関連特許
株式会社吉野工業所
蓋体
1か月前
株式会社吉野工業所
吐出器
25日前
株式会社吉野工業所
吐出器
1か月前
株式会社吉野工業所
繰出容器
25日前
株式会社吉野工業所
歯ブラシ
1か月前
株式会社吉野工業所
吐出容器
25日前
株式会社吉野工業所
吐出容器
25日前
株式会社吉野工業所
ノズル部材
25日前
株式会社吉野工業所
計量注出容器
1か月前
株式会社吉野工業所
計量注出容器
1か月前
株式会社吉野工業所
吐出キャップ
26日前
株式会社吉野工業所
パウダー容器
25日前
株式会社吉野工業所
スパウト容器
1か月前
株式会社吉野工業所
ねじキャップ
25日前
株式会社吉野工業所
計量注出容器
25日前
株式会社吉野工業所
スポイト容器
1か月前
株式会社吉野工業所
ブラシ型塗布具
25日前
株式会社吉野工業所
把手付きボトル
25日前
株式会社吉野工業所
合成樹脂製容器
25日前
株式会社吉野工業所
ポンプ式吐出器
1か月前
株式会社吉野工業所
フォーマポンプ
1か月前
株式会社吉野工業所
ねじキャップ容器
25日前
株式会社吉野工業所
ポンプ式泡吐出容器
25日前
株式会社吉野工業所
ポンプ携帯ホルダー
25日前
株式会社吉野工業所
トリガー式液体噴出器
25日前
株式会社吉野工業所
トリガー式液体噴出器
25日前
株式会社吉野工業所
圧縮ばね部材及び吐出器
1か月前
花王株式会社
吐出容器
1か月前
株式会社吉野工業所
携帯補助具を備えた容器
1か月前
株式会社吉野工業所
樹脂製品製造方法及び樹脂製品
25日前
株式会社吉野工業所
リフィル容器、および蓋付き容器
1か月前
ホーユー株式会社
エアゾール容器用吐出具
17日前
株式会社吉野工業所
容器、容器の製造方法、及び積層シートのオーバーラップ部の検出方法
25日前
個人
束ね具
26日前
個人
収容箱
4か月前
個人
コンベア
6か月前
続きを見る
他の特許を見る