TOP
|
特許
|
意匠
|
商標
特許ウォッチ
Twitter
他の特許を見る
公開番号
2025167472
公報種別
公開特許公報(A)
公開日
2025-11-07
出願番号
2024072107
出願日
2024-04-26
発明の名称
計量注出容器
出願人
株式会社吉野工業所
代理人
弁理士法人銀座マロニエ特許事務所
主分類
B65D
47/20 20060101AFI20251030BHJP(運搬;包装;貯蔵;薄板状または線条材料の取扱い)
要約
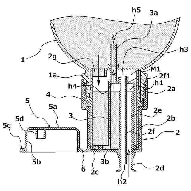
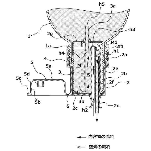
【課題】簡単な操作で一定量の内容物を注出することができる計量注出容器を提供する。
【解決手段】容器本体1と、計量された内容物を注出する計量注出手段2とを備え、計量注出手段2は、内装体2aと、内容物の計量空間Mを区画形成する外装体2bとを備え、外装体2bに、注出筒2dと送給筒2eと第1の空気導入筒2fと、を設け、内装体2aに内容物を計量空間M内に流入させる貫通路2gを設け、容器本体1を倒立姿勢に保持した際に、通路S内でサイフォンの原理により天面壁2cの下面から送給筒2eの開口部h1へ向かう流れを生じさせて計量空間M内の内容物を、注出筒2dを通して注出させる隔壁3を設け、隔壁3に、第2の空気導入筒3aと、隔壁3の外側に存在する内容物を通路Sに誘導する導入開口3bと、を設けたことを特徴とする。
【選択図】図1
特許請求の範囲
【請求項1】
内容物を収容する容器本体と、該容器本体の口頚部に装着され、該容器本体を倒立姿勢に保持することにより該容器本体内に収容された内容物を計量するとともに、計量された内容物を注出する計量注出手段と、を備えた計量注出容器であって、
前記計量注出手段は、下側部分が前記容器本体の口頚部の内側に保持される内装体と、該内装体の上側部分に液密状態を維持して嵌合保持され、該内装体と協働してその内側に内容物の計量空間を区画形成する外装体と、を備え、
前記外装体に、該外装体の天面壁の上面において起立する注出筒と、該天面壁の下面に吊り下げ保持され、前記計量空間内で計量された内容物を末端部に形成された開口部を通して前記注出筒へ流入させる送給筒と、一端が前記注出筒の内部または前記送給筒の内部において開放され、他端が該送給筒の末端部に形成された開口部から突出する突出部の端面において開放される開口を有し、前記計量空間内に空気を送り込んで空気置換を行う第1の空気導入筒と、を設け、
前記内装体に、前記容器本体を倒立姿勢に保持することにより該容器本体内に収容された内容物を前記計量空間内に流入させる貫通路を設け、
前記計量空間に、前記送給筒および前記第1の空気導入筒の突出部側面を、通路を隔てて取り囲み、前記容器本体を倒立姿勢に保持した際に、該通路内でサイフォンの原理により前記天面壁の下面から前記送給筒の開口部へ向かう流れを生じさせて該計量空間内の内容物を、前記注出筒を通して注出させる隔壁を設け、
前記隔壁に、一端が該隔壁の内側で開放され、他端が前記容器本体の内部に開放された開口を有し、前記計量空間にて計量された内容物の注出を終えた時点で該容器本体内に空気を送り込んで空気置換を行う第2の空気導入筒と、前記外装体の天面壁の下面を含むその近傍域に形成され、該隔壁の外側に存在する内容物を前記通路に誘導する導入開口と、を設けたことを特徴とする計量注出容器。
続きを表示(約 220 文字)
【請求項2】
前記外装体は、前記容器本体の口頚部の外側に着脱自在にアンダーカット嵌合または螺合可能で、かつ、前記内装体を前記容器本体の口頚部に固定保持するベースを有することを特徴とする請求項1に記載の計量注出容器。
【請求項3】
前記外装体は、ヒンジを介して開閉可能に保持され、閉姿勢でもって前記注出筒および前記第1の空気導入筒の開口を密閉保持する上蓋を有することを特徴とする請求項1または2に記載の計量注出容器。
発明の詳細な説明
【技術分野】
【0001】
本発明は、簡単な操作で一定量の内容物を計量して注出することのできる計量注出容器に関する。
続きを表示(約 1,700 文字)
【背景技術】
【0002】
たとえば、洗濯洗剤に使用される容器として、洗剤が収容された容器本体の口部に計量キャップが装着されたものが広く知られている。この容器では、使用に際して計量キャップに内容物を注ぎ入れることで目視によって計量することができる。
【0003】
また、計量注出容器としては、特許文献1のように容器本体を「倒立姿勢→正立姿勢→倒立姿勢」の順で操作することにより、一定量の内容物を計量し、注出することのできる機構を有するものが知られている。
【先行技術文献】
【特許文献】
【0004】
特開2013-249109号公報
【発明の概要】
【発明が解決しようとする課題】
【0005】
上記計量キャップを備えた計量注出容器の場合、計量キャップに内容物を注ぎ入れる必要があり、非常に手間であると共に、内容物を誤ってこぼしてしまうおそれがある。また、特許文献1の場合にも、計量から注出に至る操作回数が多く改善の余地があった。
【0006】
そこで、本発明は、簡単な操作で一定量の内容物を注出することができ、使い勝手に優れる計量注出容器を提供することを目的とする。
【課題を解決するための手段】
【0007】
本発明の計量注出容器は、内容物を収容する容器本体と、該容器本体の口頚部に装着され、該容器本体を倒立姿勢に保持することにより該容器本体内に収容された内容物を計量するとともに、計量された内容物を注出する計量注出手段と、を備えた計量注出容器であって、
前記計量注出手段は、下側部分が前記容器本体の口頚部の内側に保持される内装体と、該内装体の上側部分に液密状態を維持して嵌合保持され、該内装体と協働してその内側に内容物の計量空間を区画形成する外装体と、を備え、
前記外装体に、該外装体の天面壁の上面において起立する注出筒と、該天面壁の下面に吊り下げ保持され、前記計量空間内で計量された内容物を末端部に形成された開口部を通して前記注出筒へ流入させる送給筒と、一端が前記注出筒の内部または前記送給筒の内部において開放され、他端が該送給筒の末端部に形成された開口部から突出する突出部の端面において開放される開口を有し、前記計量空間内に空気を送り込んで空気置換を行う第1の空気導入筒と、を設け、
前記内装体に、前記容器本体を倒立姿勢に保持することにより該容器本体内に収容された内容物を前記計量空間内に流入させる貫通路を設け、
前記計量空間に、前記送給筒および前記第1の空気導入筒の突出部側面を、通路を隔てて取り囲み、前記容器本体を倒立姿勢に保持した際に、該通路内でサイフォンの原理により前記天面壁の下面から前記送給筒の開口部へ向かう流れを生じさせて該計量空間内の内容物を、前記注出筒を通して注出させる隔壁を設け、
前記隔壁に、一端が該隔壁の内側で開放され、他端が前記容器本体の内部に開放された開口を有し、前記計量空間にて計量された内容物の注出を終えた時点で該容器本体内に空気を送り込んで空気置換を行う第2の空気導入筒と、前記外装体の天面壁の下面を含むその近傍域に形成され、該隔壁の外側に存在する内容物を前記通路に誘導する導入開口と、を設けたことを特徴とする。
【0008】
なお、本発明の計量注出容器においては、前記外装体は、前記容器本体の口頚部の外側に着脱自在にアンダーカット嵌合または螺合可能で、かつ、前記内装体を前記容器本体の口頚部に固定保持するベースを有することが好ましい。
【0009】
また、本発明の計量注出容器においては、前記外装体は、ヒンジを介して開閉可能に保持され、閉姿勢でもって前記注出筒および前記第1の空気導入筒の開口を密閉保持する上蓋を有することが好ましい。
【発明の効果】
【0010】
本発明の計量注出容器によれば、サイフォンの原理を利用することで、容器を倒立姿勢に保持することだけで一定量の内容物の計量と、該内容物の注出と、を繰り返し行うことができる。
(【0011】以降は省略されています)
この特許をJ-PlatPat(特許庁公式サイト)で参照する
関連特許
株式会社吉野工業所
蓋体
1か月前
株式会社吉野工業所
吐出器
25日前
株式会社吉野工業所
吐出器
1か月前
株式会社吉野工業所
繰出容器
25日前
株式会社吉野工業所
歯ブラシ
1か月前
株式会社吉野工業所
吐出容器
25日前
株式会社吉野工業所
吐出容器
25日前
株式会社吉野工業所
ノズル部材
25日前
株式会社吉野工業所
計量注出容器
1か月前
株式会社吉野工業所
計量注出容器
1か月前
株式会社吉野工業所
吐出キャップ
26日前
株式会社吉野工業所
パウダー容器
25日前
株式会社吉野工業所
スパウト容器
1か月前
株式会社吉野工業所
ねじキャップ
25日前
株式会社吉野工業所
計量注出容器
25日前
株式会社吉野工業所
スポイト容器
1か月前
株式会社吉野工業所
ブラシ型塗布具
25日前
株式会社吉野工業所
把手付きボトル
25日前
株式会社吉野工業所
合成樹脂製容器
25日前
株式会社吉野工業所
ポンプ式吐出器
1か月前
株式会社吉野工業所
フォーマポンプ
1か月前
株式会社吉野工業所
ねじキャップ容器
25日前
株式会社吉野工業所
ポンプ式泡吐出容器
25日前
株式会社吉野工業所
ポンプ携帯ホルダー
25日前
株式会社吉野工業所
トリガー式液体噴出器
25日前
株式会社吉野工業所
トリガー式液体噴出器
25日前
株式会社吉野工業所
圧縮ばね部材及び吐出器
1か月前
花王株式会社
吐出容器
1か月前
株式会社吉野工業所
携帯補助具を備えた容器
1か月前
株式会社吉野工業所
樹脂製品製造方法及び樹脂製品
25日前
株式会社吉野工業所
リフィル容器、および蓋付き容器
1か月前
ホーユー株式会社
エアゾール容器用吐出具
17日前
株式会社吉野工業所
容器、容器の製造方法、及び積層シートのオーバーラップ部の検出方法
25日前
個人
束ね具
26日前
個人
収容箱
4か月前
個人
コンベア
6か月前
続きを見る
他の特許を見る