TOP
|
特許
|
意匠
|
商標
特許ウォッチ
Twitter
他の特許を見る
公開番号
2025132983
公報種別
公開特許公報(A)
公開日
2025-09-10
出願番号
2024105396
出願日
2024-06-28
発明の名称
繰出容器
出願人
株式会社吉野工業所
代理人
個人
,
個人
,
個人
主分類
B65D
83/00 20060101AFI20250903BHJP(運搬;包装;貯蔵;薄板状または線条材料の取扱い)
要約
【課題】スリーブと螺旋軸部材との間に所望の摺動抵抗を生じさせることができると同時にリサイクルが容易な繰出容器を提供する。
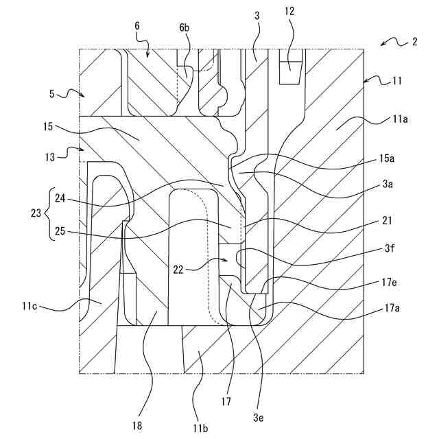
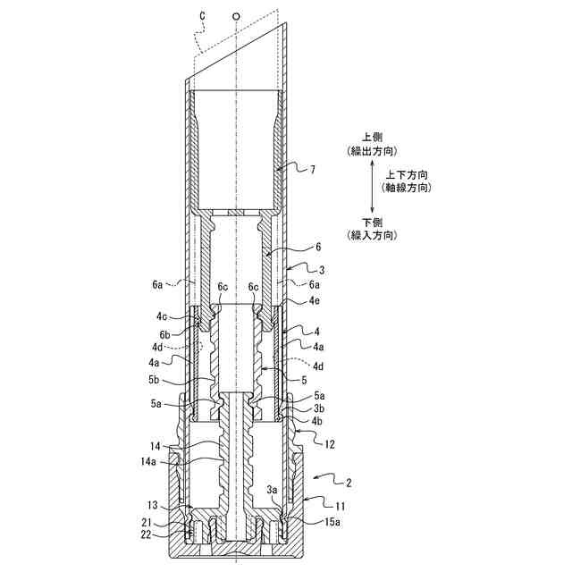
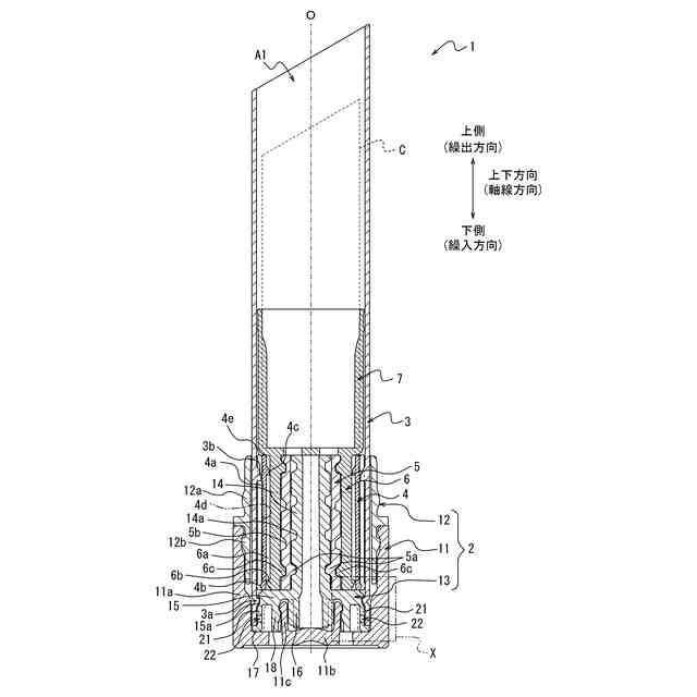
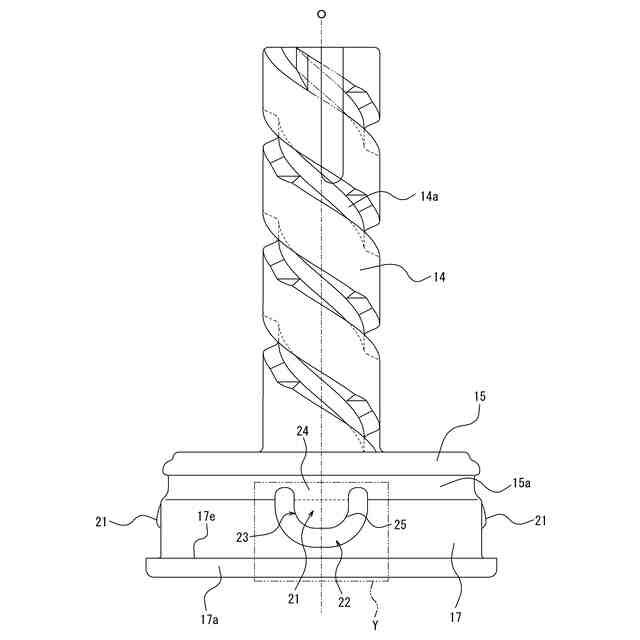
【解決手段】繰出容器1は、スリーブ2の内部に配置された螺旋軸部材13を軸線の周りで周方向に回転させることによって、スリーブ3の内部に配置された中皿を繰出及び繰入可能である。スリーブ3は、螺旋軸部材13に向かって径方向内側に突出する突部3aを備える。螺旋軸部材13は、スリーブ3に設けられた突部3aよりも下側の位置に配置されるとともに当該スリーブ3の内周面3fに接触する突起21を備える。突起21は、螺旋軸部材13に設けられたスリット孔22によって形作られた弾性片23に設けられた突起である。
【選択図】図3
特許請求の範囲
【請求項1】
スリーブの内部に配置された螺旋軸部材を軸線の周りで周方向に回転させることによって、前記スリーブの内部に配置された中皿を繰出及び繰入可能な繰出容器であって、
前記スリーブは、前記螺旋軸部材に向かって径方向内側に突出する突部を備えており、
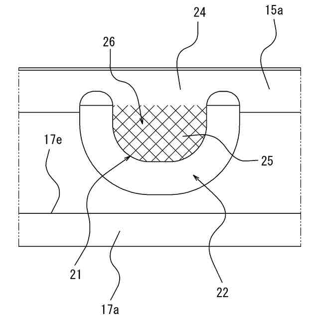
前記螺旋軸部材には、前記スリーブに設けられた前記突部よりも下側の位置に配置されるとともに当該スリーブの内周面に接触する突起を備えており、
前記突起は、前記螺旋軸部材に設けられたスリット孔によって形作られた弾性片に設けられた突起である、繰出容器。
続きを表示(約 380 文字)
【請求項2】
前記弾性片の付け根部分は、厚さの薄い薄肉部分である、請求項1に記載された繰出容器。
【請求項3】
前記弾性片の前記付け根部分は、前記螺旋軸部材の外周面に設けられた環状凹部によって前記薄肉部分に形作られており、前記環状凹部には、前記スリーブに設けられた前記突部が収容されている、請求項2に記載された繰出容器。
【請求項4】
前記突起の表面および当該突起と接触する前記スリーブの内周面の少なくともいずれか一方に、微細な凹凸が設けられた、請求項1に記載された繰出容器。
【請求項5】
構成部品の全てがポリエチレンテレフタレート部品である、請求項4に記載された繰出容器。
【請求項6】
構成部品の全てがバイオプラスチック部品である、請求項1~4のいずれか1項に記載された繰出容器。
発明の詳細な説明
【技術分野】
【0001】
本発明は、繰出容器に関する。
続きを表示(約 1,200 文字)
【背景技術】
【0002】
従来の繰出容器としては、スリーブ(外スリーブ)の内部に配置された螺旋軸部材(固定軸部材)を軸線の周りで周方向に回転させることによって、前記スリーブの内部に配置された中皿を繰出及び繰入可能なものがある(例えば、特許文献1参照。)。
【先行技術文献】
【特許文献】
【0003】
特開2023-080019号公報
【発明の概要】
【発明が解決しようとする課題】
【0004】
上記従来の繰出容器は、スリーブに設けられた突部(下突部)を螺旋軸部材に設けられた周溝に係合させることによって、スリーブの上下移動を規制した状態で、当該スリーブを回転可能に支持している。加えて、前記周溝には、エラストマ等の熱可塑性樹脂によって成形された摺接部が埋め込まれている。上記従来の繰出容器によれば、スリーブの上下移動を規制した状態で、当該スリーブと螺旋軸部材との間に所望の摺動抵抗を生じさせることができる。
【0005】
しかしながら、上記従来の繰出容器は、螺旋軸部材に設けられた周溝に摺接部を埋め込まれているため、当該繰出容器を廃棄する場合には、螺旋軸部材と摺接部とを分別する作業が必要である。したがって、上記従来の繰出容器には、リサイクルという点において改善の余地がある。
【0006】
本発明の目的は、スリーブと螺旋軸部材との間に所望の摺動抵抗を生じさせることができるとともにリサイクルが容易な繰出容器を提供することである。
【課題を解決するための手段】
【0007】
(1)本発明に係る繰出容器は、スリーブの内部に配置された螺旋軸部材を軸線の周りで周方向に回転させることによって、前記スリーブの内部に配置された中皿を繰出及び繰入可能な繰出容器であって、前記スリーブは、前記螺旋軸部材に向かって径方向内側に突出する突部を備えており、前記螺旋軸部材には、前記スリーブに設けられた前記突部よりも下側の位置に配置されるとともに当該スリーブの内周面に接触する突起を備えており、前記突起は、前記螺旋軸部材に設けられたスリット孔によって形作られた弾性片に設けられている。
【0008】
(2)上記(1)の繰出容器において、前記弾性片の付け根部分は、厚さの薄い薄肉部分であることが好ましい。
【0009】
(3)上記(2)の繰出容器において、前記弾性片の前記付け根部分は、前記螺旋軸部材の外周面に設けられた環状凹部によって前記薄肉部分に形作られており、前記環状凹部には、前記スリーブに設けられた前記突部が収容されていることが好ましい。
【0010】
(4)上記(1)~(3)のいずれか1つの繰出容器は、前記突起の表面および当該突起と接触する前記スリーブの内周面の少なくともいずれか一方に、微細な凹凸が設けられたものとすることができる。
(【0011】以降は省略されています)
この特許をJ-PlatPat(特許庁公式サイト)で参照する
関連特許
株式会社吉野工業所
蓋体
14日前
株式会社吉野工業所
吐出器
14日前
株式会社吉野工業所
吐出器
9日前
株式会社吉野工業所
歯ブラシ
14日前
株式会社吉野工業所
吐出容器
9日前
株式会社吉野工業所
吐出容器
9日前
株式会社吉野工業所
繰出容器
9日前
株式会社吉野工業所
ノズル部材
9日前
株式会社吉野工業所
パウダー容器
9日前
株式会社吉野工業所
スポイト容器
14日前
株式会社吉野工業所
計量注出容器
14日前
株式会社吉野工業所
計量注出容器
9日前
株式会社吉野工業所
スパウト容器
14日前
株式会社吉野工業所
ねじキャップ
9日前
株式会社吉野工業所
計量注出容器
15日前
株式会社吉野工業所
吐出キャップ
10日前
株式会社吉野工業所
ポンプ式吐出器
14日前
株式会社吉野工業所
フォーマポンプ
14日前
株式会社吉野工業所
ポンプ式吐出器
1か月前
株式会社吉野工業所
合成樹脂製容器
9日前
株式会社吉野工業所
把手付きボトル
9日前
株式会社吉野工業所
ブラシ型塗布具
9日前
株式会社吉野工業所
ねじキャップ容器
9日前
株式会社吉野工業所
ポンプ式泡吐出容器
9日前
株式会社吉野工業所
ポンプ携帯ホルダー
9日前
株式会社吉野工業所
トリガー式液体噴出器
9日前
株式会社吉野工業所
トリガー式液体噴出器
9日前
株式会社吉野工業所
携帯補助具を備えた容器
14日前
株式会社吉野工業所
圧縮ばね部材及び吐出器
14日前
花王株式会社
吐出容器
1か月前
花王株式会社
吐出容器
1か月前
株式会社吉野工業所
樹脂製品製造方法及び樹脂製品
9日前
株式会社吉野工業所
リフィル容器、および蓋付き容器
14日前
ホーユー株式会社
エアゾール容器用吐出具
1日前
株式会社吉野工業所
容器、容器の製造方法、及び積層シートのオーバーラップ部の検出方法
9日前
個人
収容箱
4か月前
続きを見る
他の特許を見る